Варочная панель Teka IZ 6420 - инструкция пользователя по применению, эксплуатации и установке на русском языке. Мы надеемся, она поможет вам решить возникшие у вас вопросы при эксплуатации техники.
Если остались вопросы, задайте их в комментариях после инструкции.
"Загружаем инструкцию", означает, что нужно подождать пока файл загрузится и можно будет его читать онлайн. Некоторые инструкции очень большие и время их появления зависит от вашей скорости интернета.

FR
42
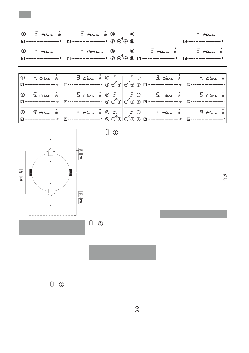
Fig.3
Fonction Flex Zone
(selon le modèle)
Grâce à cette fonction, il est possible
de faire fonctionner deux zones de
cuisson ensemble, de sélectionner
un niveau de puissance et d’activer
la fonction de minuterie pour les deux
zones.
Pour activer cette fonction, appuyez
sur le capteur
/
(15). En le
faisant, le point décimal (4) des
zones de cuisson reliées s’allume et
la valeur « 0 » s’affiche au niveau de
leurs voyants d’alimentation (3). Le
voyant de la minuterie (12) affiche
trois segments indiquant les zones
activées. Si votre modèle comporte
plusieurs zones avec la mention « Flex
Zone », vous pouvez sélectionner les
options souhaitées en appuyant sur le
capteur /
(15) avant d’assigner
la puissance à la zone sélectionnée.
Vous disposez de quelques secondes
pour effectuer l’opération suivante,
sinon la fonction est désactivée
automatiquement.(voir Fig. 6).
Après avoir sélectionné la « Zone
Flex », vous pouvez assigner la
puissance en appuyant sur n’importe
quel curseur « slider » (2) de l’une
des zones de liaison. Le niveau de
puissance et ses variations s’affichent
simultanément au niveau des voyants
d’alimentation (3) des deux zones.
P o u r d é s a c t i v e r c e t t e f o n c t i o n ,
appuyez à nouveau sur le capteur
/
(15). En outre, lorsque la
fonction est désactivée, les niveaux de
puissance et les fonctions assignées
aux zones correspondantes s’effacent.
Fonction Synchro (selon
le modèle)
Grâce à cette fonction, il est possible
de faire fonctionner simultanément
deux zones de cuisson désignées
« Synchro » à l’écran d’impression, de
sélectionner un niveau de puissance
et d’activer la fonction de minuterie
pour les deux zones.
Appuyez sur le capteur (14) pour
activer cette fonction. En le faisant,
le point décimal (4) des zones de
cuisson reliées s’allument et la valeur
« 0 » clignote au niveau de leurs
voyants d’alimentation respectifs (3).
La détection du récipient se fait au
niveau de la zone de liaison. Vous
disposez de quelques secondes
pour effectuer l’opération suivante,
sinon la fonction est désactivée
automatiquement.
P o u r d é s a c t i v e r c e t t e f o n c t i o n ,
appuyez à nouveau sur le capteur
(14). En outre, lorsque la fonction est
désactivée, les niveaux de puissance
et les fonctions assignées aux zones
de liaison s’effacent.
Déconnexion de sécurité
Si par erreur une ou plusieurs zones
n’étaient pas éteintes, l’unité se
déconnectera automatiquement au
bout d’une durée déterminée (voir
tableau 1).
Fig. 5
Fig. 4
Характеристики
Остались вопросы?Не нашли свой ответ в руководстве или возникли другие проблемы? Задайте свой вопрос в форме ниже с подробным описанием вашей ситуации, чтобы другие люди и специалисты смогли дать на него ответ. Если вы знаете как решить проблему другого человека, пожалуйста, подскажите ему :)













