Варочная панель Haier HHY-C64TOFB/TOVB - инструкция пользователя по применению, эксплуатации и установке на русском языке. Мы надеемся, она поможет вам решить возникшие у вас вопросы при эксплуатации техники.
Если остались вопросы, задайте их в комментариях после инструкции.
"Загружаем инструкцию", означает, что нужно подождать пока файл загрузится и можно будет его читать онлайн. Некоторые инструкции очень большие и время их появления зависит от вашей скорости интернета.

Меры предосторожности
1. Керамическая варочная панель должна устанавливаться
квалифицированным персоналом или специалистами. У нас есть
профессионалы, готовые обслужить вас. Не выполняйте операции
самостоятельно.
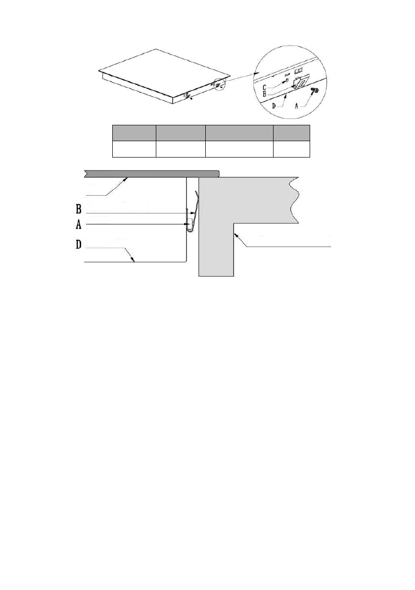
A
B
C
D
винт
кронштейн
отверстие для винта основание
столешница/кухонный шкафчик
Стекло
Фиксирующий винт
для кронштейнов
ST3,5 х 8
Нижний ящик
2. Не следует присоединять керамическую варочную панель к холодильному
оборудованию, посудомоечным машинам и вращающимся сушилкам.
3. Керамическая варочная панель должна быть установлена таким образом,
чтобы обеспечить хорошее тепловыделение, улучшающее ее надежность.
4. Стена и зона индукционного нагрева над рабочей поверхностью должны
выдерживать нагрев.
5. Чтобы избежать какого-либо ущерба, нагрев следует предотвращать с
помощью многослойной прокладки и клейкого материала.
6. Не следует использовать пароочиститель.
7. Керамику следует подключать только к питанию с полным
сопротивлением системы не более 0,427 Ом. В случае необходимости
проконсультируйтесь со своей энергоснабжающей организацией по
вопросу о полном сопротивлении системы.
Подключение панели к основной сети подачи
питания
Подключение к сети подачи питания должно выполняться в соответствии с
применимым
стандартом,
либо
с
применением
однополюсного
автоматического выключателя. Способ подключения показан ниже.
Содержание
- 3 Опасность для здоровья
- 8 Поздравляем; Краткие сведения об изделии; Вид сверху
- 11 Панель управления
- 13 Сведения о керамической варочной панели; Перед использованием новой варочной панели
- 14 Выбор кухонной посуды
- 15 Использование керамической варочной панели; Начало приготовления пищи; Или
- 17 По окончании приготовления пищи; Блокировка элементов управления; Порядок блокировки элементов управления
- 18 Разблокировка элементов управления; Защита от перегрева; Уровень мощности; Применение таймера
- 19 Применение таймера для обратного отсчета; Если вы не выбрали ни одну зону приготовления пищи; Настройка таймера на выключение
- 22 Рекомендации к приготовлению пищи; Советы по приготовлению пищи; Жарка стейка
- 23 Настройки нагрева; Настройка нагрева; Уход и чистка
- 24 Полезные советы; Проблема
- 25 Технические характеристики
- 26 Установка; Выбор оборудования для установки
- 27 мм
- 29 Меры предосторожности
- 36 ОБСЛУЖИВАНИЕ КЛИЕНТОВ