Варочная панель GEFEST SN 4232 - инструкция пользователя по применению, эксплуатации и установке на русском языке. Мы надеемся, она поможет вам решить возникшие у вас вопросы при эксплуатации техники.
Если остались вопросы, задайте их в комментариях после инструкции.
"Загружаем инструкцию", означает, что нужно подождать пока файл загрузится и можно будет его читать онлайн. Некоторые инструкции очень большие и время их появления зависит от вашей скорости интернета.

22
СН4232.00.0.000 [32]
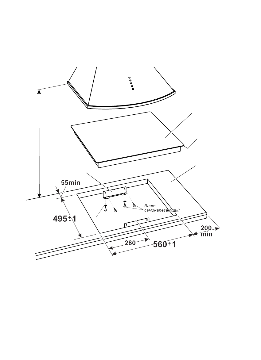
Рис.23
СН4232 К1, СН4232 К12
Размер монтажного проема (ширина х глубина), мм -
(560±1)
х (495±1)
1. Точно разметить на столешнице контур проема под встраиваемый стол (рис.23).
2. Выпилить проем, придерживая удаляемую часть снизу, во избежание преждевременного
падения и скола декоративного покрытия. Дополнительных вентиляционных отверстий не
требуется.
3. Разметить и закрепить крепежные кронштейны так, чтобы верхняя кромка кронштейна
была на одном уровне с поверхностью столешницы.
4. По краю внутренней стороны стола приклеить уплотнение для плотного и герметичного прилегания.
5. Аккуратно вставить стол в проем и закрепить четырьмя винтами самонарезающими с
шайбами.
Min 70
0
мм
до
выт
яжк
и
M
in
850
мм
до
на
ве
сны
х
ш
кафов
Шайба
Стол -
СН4232 К1
СН4232 К12
Столешница
Уплотнение
стола
Кронштейн
Характеристики
Остались вопросы?Не нашли свой ответ в руководстве или возникли другие проблемы? Задайте свой вопрос в форме ниже с подробным описанием вашей ситуации, чтобы другие люди и специалисты смогли дать на него ответ. Если вы знаете как решить проблему другого человека, пожалуйста, подскажите ему :)