Варочная панель GEFEST SN 4232 - инструкция пользователя по применению, эксплуатации и установке на русском языке. Мы надеемся, она поможет вам решить возникшие у вас вопросы при эксплуатации техники.
Если остались вопросы, задайте их в комментариях после инструкции.
"Загружаем инструкцию", означает, что нужно подождать пока файл загрузится и можно будет его читать онлайн. Некоторые инструкции очень большие и время их появления зависит от вашей скорости интернета.

9
СН4232.00.0.000 [32]
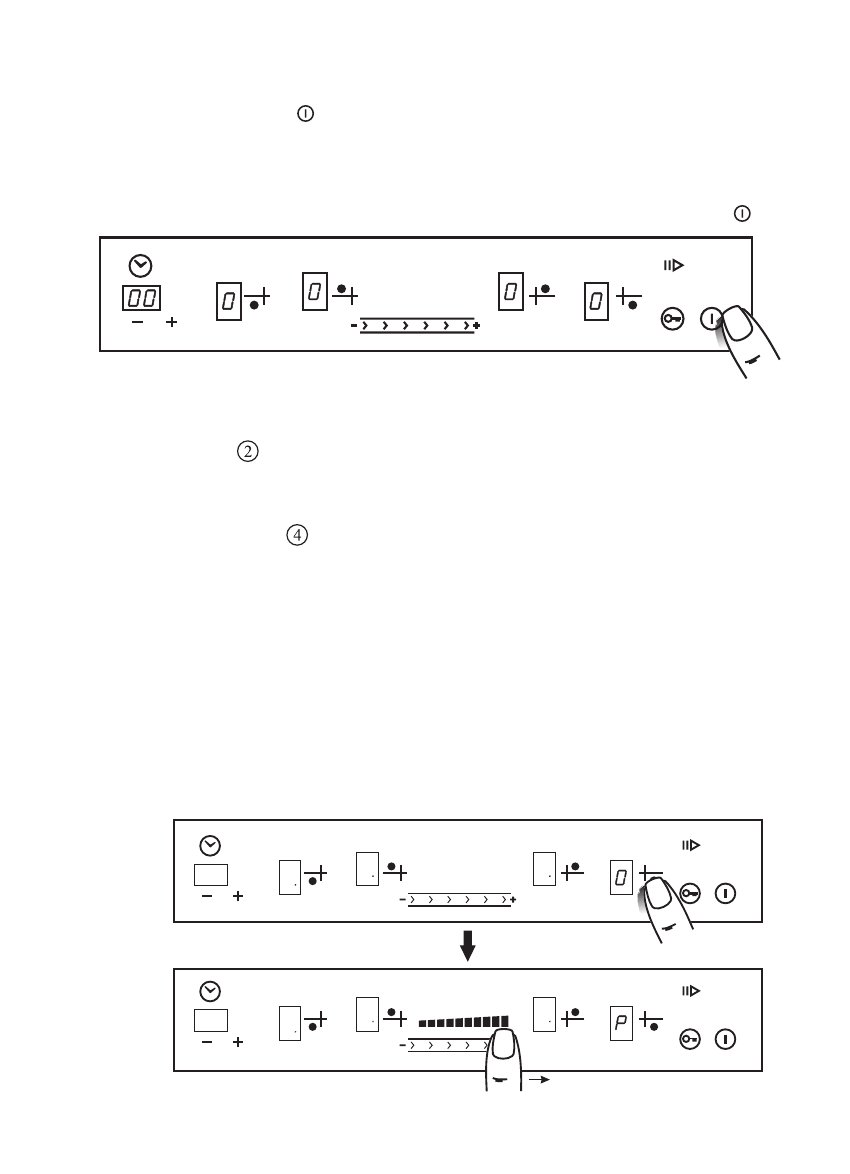
Рис.3
УПРАВЛЕНИЕ КОНФОРКАМИ
Включение конфорки
1. Коснуться зоны
с обозначением выбранной конфорки, после чего конфорка перейдет
в режим управления. В соответствующем окне индикации загорится «
0
» (рис.4), во всех
остальных окнах загорится точка.
2. Выбор необходимого уровня мощности производится перемещением пальца по
специальной поверхности
- «скользящая кнопка» (рис. 5). Когда уровень мощности
меняется, звучит сигнал, а в окне выбранной конфорки отображается мощность от «0» до
«9» и «P».
«Р» - усиленная мощность (BOOSTER).
Конфорка будет работать при максимальном уровне электропотребления в течение 10 минут.
По истечении 10 минут звучит звуковой сигнал и затем конфорка переходит к уровню 9. При
необходимости режим «Р» можно уменьшить перемещая палец по «скользящей кнопке».
Если на конфорку не установлена посуда, в информационном окне конфорки будет светиться
буква «U» - «кастрюля не обнаружена» и нагрев не производится.
ВНИМАНИЕ!
ЗАДАВАТЬ РЕЖИМ ПОСЛЕ ВКЛЮЧЕНИЯ КОНФОРКИ НЕОБХОДИМО
НЕ ПОЗДНЕЕ 10 СЕКУНД, В ПРОТИВНОМ СЛУЧАЕ КОНФОРКА АВТОМАТИЧЕСКИ
ОТКЛЮЧИТСЯ.
ВНИМАНИЕ!
ОДНОВРЕМЕННО МОЖНО УПРАВЛЯТЬ ТОЛЬКО ОДНОЙ КОНФОРКОЙ.
ВКЛЮЧЕНИЕ СТОЛА
Коснуться зоны со знаком « ». Во всех окнах индикации конфорок загорится «0» (рис. 3).
ВНИМАНИЕ!
СЛЕДУЮЩУЮ КОМАНДУ НЕОБХОДИМО ЗАДАТЬ НЕ ПОЗДНЕЕ 10 СЕ-
КУНД, В ПРОТИВНОМ СЛУЧАЕ ПРИБОР АВТОМАТИЧЕСКИ ОТКЛЮЧИТСЯ И ВКЛЮ-
ЧЕНИЕ ПРИДЕТСЯ ПОВТОРИТЬ.
Выключение стола
Весь стол с работающими конфорками можно мгновенно отключить, коснувшись зоны « ».
Рис.4
Характеристики
Остались вопросы?Не нашли свой ответ в руководстве или возникли другие проблемы? Задайте свой вопрос в форме ниже с подробным описанием вашей ситуации, чтобы другие люди и специалисты смогли дать на него ответ. Если вы знаете как решить проблему другого человека, пожалуйста, подскажите ему :)