Варочная панель GEFEST SN 4232 - инструкция пользователя по применению, эксплуатации и установке на русском языке. Мы надеемся, она поможет вам решить возникшие у вас вопросы при эксплуатации техники.
Если остались вопросы, задайте их в комментариях после инструкции.
"Загружаем инструкцию", означает, что нужно подождать пока файл загрузится и можно будет его читать онлайн. Некоторые инструкции очень большие и время их появления зависит от вашей скорости интернета.

13
СН4232.00.0.000 [32]
Рис.9
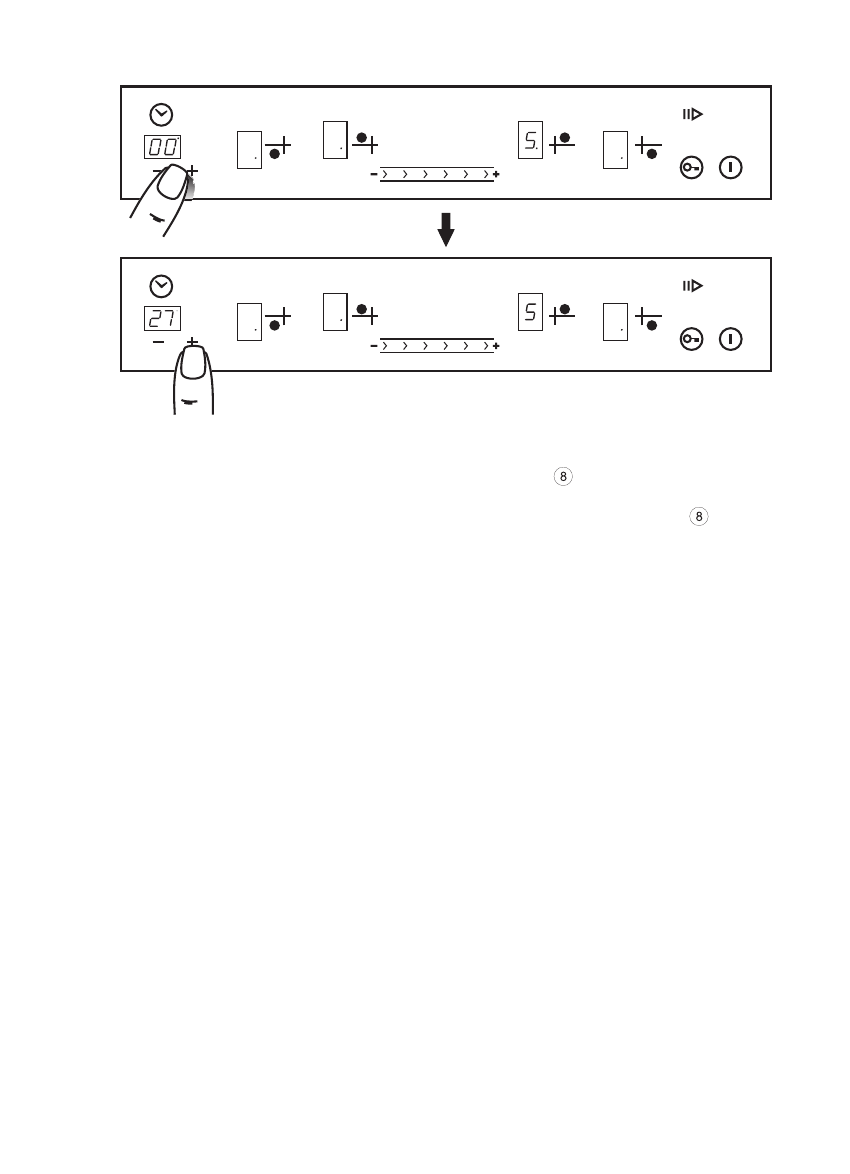
ФУНКЦИЯ «СТОП И ПУСК»
Функция «стоп и пуск» позволяет временно останавливать процесс приготовления пищи,
сохраняя все установки. Для этого необходимо коснуться зоны , зазвучит звуковой сигнал,
загорится точка.
Для деактивации функции «стоп и пуск» необходимо повторно коснуться зоны , зазвучит
сигнал, точка погаснет, процесс приготовления пищи возобновится с прежними установками.
Если стол останавливается функцией «стоп и пуск» более чем на 10 минут, то стол
выключается автоматически.
Характеристики
Остались вопросы?Не нашли свой ответ в руководстве или возникли другие проблемы? Задайте свой вопрос в форме ниже с подробным описанием вашей ситуации, чтобы другие люди и специалисты смогли дать на него ответ. Если вы знаете как решить проблему другого человека, пожалуйста, подскажите ему :)