Варочная панель Electrolux EGT 6342 NOK - инструкция пользователя по применению, эксплуатации и установке на русском языке. Мы надеемся, она поможет вам решить возникшие у вас вопросы при эксплуатации техники.
Если остались вопросы, задайте их в комментариях после инструкции.
"Загружаем инструкцию", означает, что нужно подождать пока файл загрузится и можно будет его читать онлайн. Некоторые инструкции очень большие и время их появления зависит от вашей скорости интернета.

MOD.
PROD.NO.
SER.NO
DATA
MOD.
PROD.NO.
SER.NO
DATA
MODEL
MODEL
MOD.
PROD.NO.
SER.NO.
03 IT
MADE IN ITALY
TYPE
230V-50Hz
IP20
0049
1
2
3
1
Kleepige see garantiikaardile ja saatke see
osa
2
Kleepige see garantiikaardile ja hoidke see
osa alles
3
Kleepige see juhistebrošüürile
7. PAIGALDAMINE
HOIATUS
Kvalifitseeritud tehnik peab vastavalt
kehtivatele nõuetele ja kohalikele ees‐
kirjadele järgima järgmisi paigaldus-,
ühendus- ja hooldusjuhiseid.
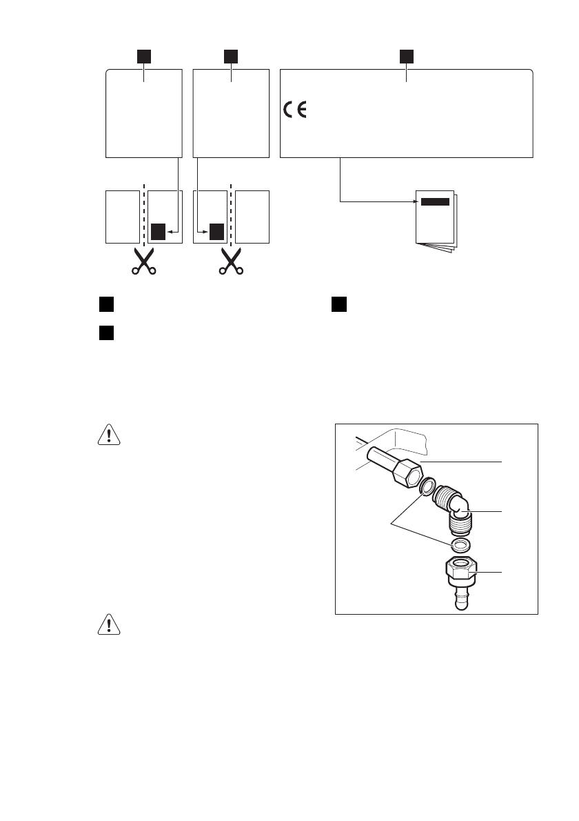
7.1 Gaasiühendus
Kasutage fikseeritud ühendusi või roostevabast
terasest painduvat toru vastavalt kehtivatele ees‐
kirjadele. Painduvate metalltorude kasutamisel
jälgige, et need ei puutuks vastu liikuvaid osi või
et neid ei muljutaks. Olge ettevaatlik, kui pliidiga
koos kasutatakse ka ahju.
Veenduge, et seadme gaasivarustuse
rõhk vastab ette nähtud rõhuväärtuste‐
le. Reguleeritav ühendusdetail kinnita‐
takse platvormi külge G 1/2" keermega
mutriga. Keerake detailid esmalt kergelt
kinni, siis pöörake ühendusdetaili soovi‐
tud suunas ja seejärel kinnitage kõik lõ‐
plikult.
A
B
C
D
A)
Mutriga toruots
B)
Seib (lisaseib ainult Sloveenia ja Türgi jaoks)
C)
Torupõlv
D)
Vedelgaasi kummivooliku liitmik (ainult Slo‐
veenia ja Türgi jaoks)
Vedelgaas: kasutage kummist voolikuhoidjat.
Kinnitage alati kõigepealt tihend. Alles seejärel
jätkake gaasiühendusega. Painduvat toru võib
kasutada, kui:
– see ei lähe kuumemaks kui toatemperatuur,
mitte üle 30°C;
– toru ei ole pikem kui 1500 mm;
EESTI
9
Содержание
- 38 ПОДДЕРЖКА ПОТРЕБИТЕЛЕЙ И СЕРВИСНОЕ ОБСЛУЖИВАНИЕ
- 39 СВЕДЕНИЯ ПО ТЕХНИКЕ БЕЗОПАСНОСТИ; Безопасность детей и лиц с
- 40 Подключение к газовой магистрали
- 41 Функциональные элементы варочной панели
- 42 ЕЖЕДНЕВНОЕ ИСПОЛЬЗОВАНИЕ; Выключение горелки
- 43 Информация об акриламидах
- 45 ПОИСК И УСТРАНЕНИЕ НЕИСПРАВНОСТЕЙ; принадлежностями
- 46 Подключение к газовой
- 49 ТЕХНИЧЕСКИЕ ДАННЫЕ
- 51 ОХРАНА ОКРУЖАЮЩЕЙ СРЕДЫ