Варочная панель Electrolux EGT 6342 NOK - инструкция пользователя по применению, эксплуатации и установке на русском языке. Мы надеемся, она поможет вам решить возникшие у вас вопросы при эксплуатации техники.
Если остались вопросы, задайте их в комментариях после инструкции.
"Загружаем инструкцию", означает, что нужно подождать пока файл загрузится и можно будет его читать онлайн. Некоторые инструкции очень большие и время их появления зависит от вашей скорости интернета.

2. SEADME KIRJELDUS
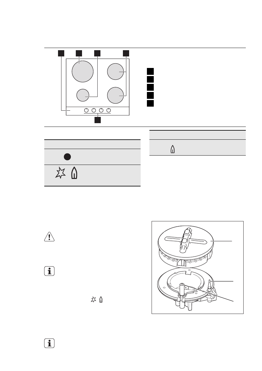
2.1 Pliidipinna skeem
2
5
1
3
4
1
Pliidiplaat
2
Kiirpõleti
3
Lisapõleti
4
Poolkiire põleti
5
Juhtnupud
2.2 Juhtnupud
Sümbol
Kirjeldus
gaasi pealevool puu‐
dub / asend "väljas"
süüteasend / maksi‐
maalne gaasi peale‐
vool
Sümbol
Kirjeldus
minimaalne gaasi
pealevool
3. IGAPÄEVANE KASUTAMINE
3.1 Põletite süütamine
HOIATUS
Tulega tuleb köögis väga ettevaatlikult
ümber käia. Tootja ei vastuta selle nõu‐
de eiramisest tulenevate tagajärgede
eest.
Süüdake põleti alati enne nõu tulele
asetamist.
Põleti süütamiseks:
1.
Keerake juhtnuppu vastupäeva maksimaal‐
sesse asendisse ( ) ja vajutage alla.
2.
Hoidke nuppu all umbes 5 sekundit; selle
aja jooksul jõuab termoelement soojeneda.
Vastasel korral katkeb gaasi pealevool.
3.
Kui leek on korrapärane, võite seda regu‐
leerida.
Kui põletit ei õnnestu süüdata ka mitme
katsega, kontrollige, kas põletikroon ja
selle kaas on õiges asendis.
A
B
C
A)
Põleti kübar ja kroon
B)
Termoelement
C)
Süüteküünal
EESTI
5
Содержание
- 38 ПОДДЕРЖКА ПОТРЕБИТЕЛЕЙ И СЕРВИСНОЕ ОБСЛУЖИВАНИЕ
- 39 СВЕДЕНИЯ ПО ТЕХНИКЕ БЕЗОПАСНОСТИ; Безопасность детей и лиц с
- 40 Подключение к газовой магистрали
- 41 Функциональные элементы варочной панели
- 42 ЕЖЕДНЕВНОЕ ИСПОЛЬЗОВАНИЕ; Выключение горелки
- 43 Информация об акриламидах
- 45 ПОИСК И УСТРАНЕНИЕ НЕИСПРАВНОСТЕЙ; принадлежностями
- 46 Подключение к газовой
- 49 ТЕХНИЧЕСКИЕ ДАННЫЕ
- 51 ОХРАНА ОКРУЖАЮЩЕЙ СРЕДЫ