Варочная панель Electrolux EGT 6342 NOK - инструкция пользователя по применению, эксплуатации и установке на русском языке. Мы надеемся, она поможет вам решить возникшие у вас вопросы при эксплуатации техники.
Если остались вопросы, задайте их в комментариях после инструкции.
"Загружаем инструкцию", означает, что нужно подождать пока файл загрузится и можно будет его читать онлайн. Некоторые инструкции очень большие и время их появления зависит от вашей скорости интернета.

MOD.
PROD.NO.
SER.NO
DATA
MOD.
PROD.NO.
SER.NO
DATA
MODEL
MODEL
MOD.
PROD.NO.
SER.NO.
03 IT
MADE IN ITALY
TYPE
230V-50Hz
IP20
0049
1
2
3
1
Pielīmējiet to garantijas talonam un atsūtiet
šo daļu
2
Pielīmējiet to garantijas talonam un atsūtiet
šo daļu
3
Pielīmējiet to pamācības bukletam
7. UZSTĀDĪŠANA
BRĪDINĀJUMS
Tālāk minētās uzstādīšanas, apkopes
un pieslēgšanas instrukcijas paredzētas
tikai kvalificētiem speciālistiem, kuru
darbībai jāatbilst spēkā esošiem stan‐
dartiem un vietējiem noteikumiem.
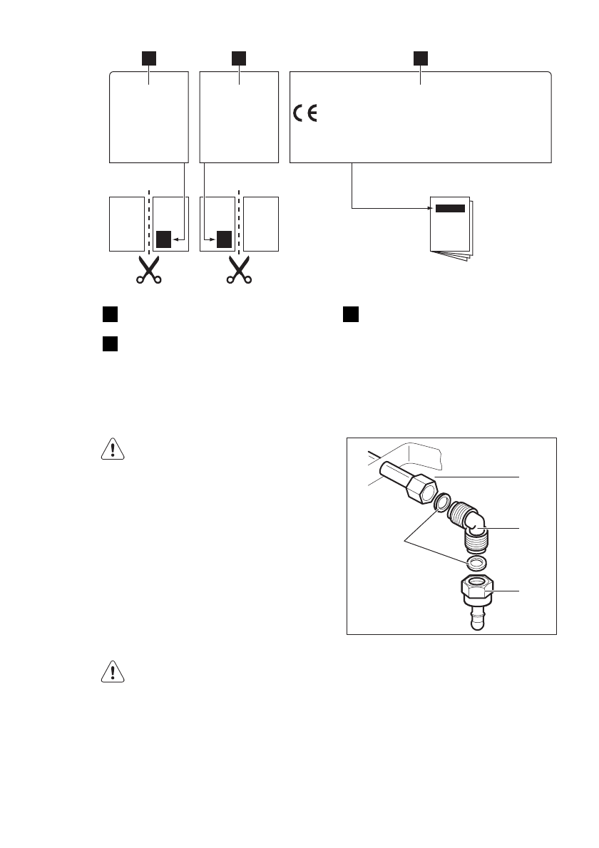
7.1 Gāzes pieslēgšana
Izvēlieties fiksētu pieslēgumu vai lietojiet elastīgu
nerūsoša tērauda cauruli un veiciet darbus sa‐
skaņā ar spēkā esošiem likumiem. Ja izvēlaties
elastīgas metāla caurules, neļaujiet tām saskar‐
ties ar blakus esošajām kustīgajām daļām un uz‐
manieties, lai tās netiek saspiestas. Uzmanieties
arī tad, ja plīts tiek uzstādīta kopā ar cepeškrāsni.
Pārliecinieties, ka gāzes piegādes spie‐
diena vērtības atbilst ierīcei nepiecieša‐
majām vērtībām. Nostipriniet regulēja‐
mo savienojumu pie gāzes piegādes
avota īscaurules, izmantojot vītņotu uz‐
griezni (G ½ collas). Pieskrūvējiet sa‐
stāvdaļas, nepielietojot spēku, pielāgo‐
jiet savienojumu nepieciešamajā virzie‐
nā un pievelciet.
A
B
C
D
A)
Īscaurule ar gala uzgriezni
B)
Blīvējums (papildu blīve tikai Slovēnijai un
Turcijai)
C)
Līkums
D)
Gumijas caurules ietvars sašķidrinātai gāzei
(tikai Slovēnijai un Turcijai)
Sašķidrinātai gāzei: lietojiet gumijas šļūtenes tu‐
rētāju. Obligāti izmantojiet blīvējumu. Pēc tam
veiciet gāzes pieslēgumu. Elastīgo cauruli var
uzstādīt, ja:
– tā nevar sakarst vairāk par istabas temperatū‐
ru – vairāk par 30 °C;
LATVIEŠU
21
Содержание
- 38 ПОДДЕРЖКА ПОТРЕБИТЕЛЕЙ И СЕРВИСНОЕ ОБСЛУЖИВАНИЕ
- 39 СВЕДЕНИЯ ПО ТЕХНИКЕ БЕЗОПАСНОСТИ; Безопасность детей и лиц с
- 40 Подключение к газовой магистрали
- 41 Функциональные элементы варочной панели
- 42 ЕЖЕДНЕВНОЕ ИСПОЛЬЗОВАНИЕ; Выключение горелки
- 43 Информация об акриламидах
- 45 ПОИСК И УСТРАНЕНИЕ НЕИСПРАВНОСТЕЙ; принадлежностями
- 46 Подключение к газовой
- 49 ТЕХНИЧЕСКИЕ ДАННЫЕ
- 51 ОХРАНА ОКРУЖАЮЩЕЙ СРЕДЫ