Варочная панель Electrolux EGT 6342 NOK - инструкция пользователя по применению, эксплуатации и установке на русском языке. Мы надеемся, она поможет вам решить возникшие у вас вопросы при эксплуатации техники.
Если остались вопросы, задайте их в комментариях после инструкции.
"Загружаем инструкцию", означает, что нужно подождать пока файл загрузится и можно будет его читать онлайн. Некоторые инструкции очень большие и время их появления зависит от вашей скорости интернета.

MOD.
PROD.NO.
SER.NO
DATA
MOD.
PROD.NO.
SER.NO
DATA
MODEL
MODEL
MOD.
PROD.NO.
SER.NO.
03 IT
MADE IN ITALY
TYPE
230V-50Hz
IP20
0049
1
2
3
1
Приліпіть на гарантійний талон та віді‐
шліть цю частину
2
Приліпіть на гарантійний талон та збере‐
жіть цю частину
3
Приліпіть на інструкцію з експлуатації
7. УСТАНОВКА
Попередження!
Наведені нижче інструкції щодо вста‐
новлення, підключення й технічного
обслуговування плити повинен вико‐
нувати кваліфікований фахівець згід‐
но зі стандартами і місцевими вимо‐
гами.
7.1 Підключення газу
Застосовуйте нерухоме з’єднання або гнучкий
шланг із іржостійкої сталі згідно з чинними
нормативними вимогами. При використанні
гнучкого металевого шланга стежте, щоб він
не контактував з рухомими деталями і не був
здавлений. Також будьте обережні, встано‐
влюючи варильну поверхню разом із духовою
шафою.
Переконайтеся, що тиск газу відпові‐
дає рекомендованим показникам. Ре‐
гульоване з’єднання кріпиться до тру‐
би газової магістралі за допомогою
гайки G 1/2". Прикрутіть деталі, не до‐
кладаючи надмірних зусиль, відрегу‐
люйте у потрібному напрямку і затяг‐
ніть з’єднання.
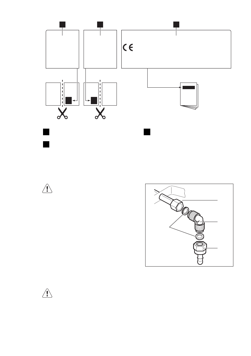
A
B
C
D
A)
Кінець трубки з гайкою
B)
Кільцева прокладка (додаткова кільцева
прокладка лише для Словенії та Туреччи‐
ни)
C)
Кутовий штуцер
D)
Тримач гумового шлангу для рідкого газу
(лише для Словенії та Туреччини)
Скраплений газ: використовуйте тримач для
гумового шланга. Завжди встановлюйте про‐
кладку. Після цього підключайте газ. Гнучкий
шланг придатний до використання, якщо:
60 www.electrolux.com
Содержание
- 38 ПОДДЕРЖКА ПОТРЕБИТЕЛЕЙ И СЕРВИСНОЕ ОБСЛУЖИВАНИЕ
- 39 СВЕДЕНИЯ ПО ТЕХНИКЕ БЕЗОПАСНОСТИ; Безопасность детей и лиц с
- 40 Подключение к газовой магистрали
- 41 Функциональные элементы варочной панели
- 42 ЕЖЕДНЕВНОЕ ИСПОЛЬЗОВАНИЕ; Выключение горелки
- 43 Информация об акриламидах
- 45 ПОИСК И УСТРАНЕНИЕ НЕИСПРАВНОСТЕЙ; принадлежностями
- 46 Подключение к газовой
- 49 ТЕХНИЧЕСКИЕ ДАННЫЕ
- 51 ОХРАНА ОКРУЖАЮЩЕЙ СРЕДЫ