Вакуумные упаковщики CASO GourmetVAC 380 - инструкция пользователя по применению, эксплуатации и установке на русском языке. Мы надеемся, она поможет вам решить возникшие у вас вопросы при эксплуатации техники.
Если остались вопросы, задайте их в комментариях после инструкции.
"Загружаем инструкцию", означает, что нужно подождать пока файл загрузится и можно будет его читать онлайн. Некоторые инструкции очень большие и время их появления зависит от вашей скорости интернета.

Кнопка "Маринование"
Для маринования в вакуумной емкости.
Кнопка "Емкость"
С помощью шланга для вакуумирования откачивает воздух из вакуумной емкости
Кнопка "Продукты / Настраиваемое время сваривания" (сухой и влажный)
С помощью этой функции можно установить длительность сваривания в зависимости от
консистенции вакуумируемого продукта. Выберите
„сухой“
для сухого вакуумируемого
продукта и
„влажный“
для влажного вакуумируемого продукта, из которого выделяется
немного жидкости. Пожалуйста, выберите нужную длительность заваривания перед началом
вакуумирования.
5.3 Паспортная табличка
Паспортная табличка с указанием параметров подключения и мощности находится с нижней
стороны прибора.
6
Обслуживание и эксплуатация
В этой главе содержатся важные указания по обслуживанию прибора. Следуйте этим
указаниям, чтобы избежать опасностей и повреждений.
6.1 Ввод в эксплуатацию
Перед каждым использованием и после каждого запечатывания
следует тщательно очистить как сам прибор, так и все
принадлежности, контактирующие с продуктами питания;
пожалуйста, следуйте указаниям в главе "Очистка и техническое
обслуживание".
Шаг 1:
Поднимите крышку и разместите
открытую сторону пакета в вакуумной
камере.
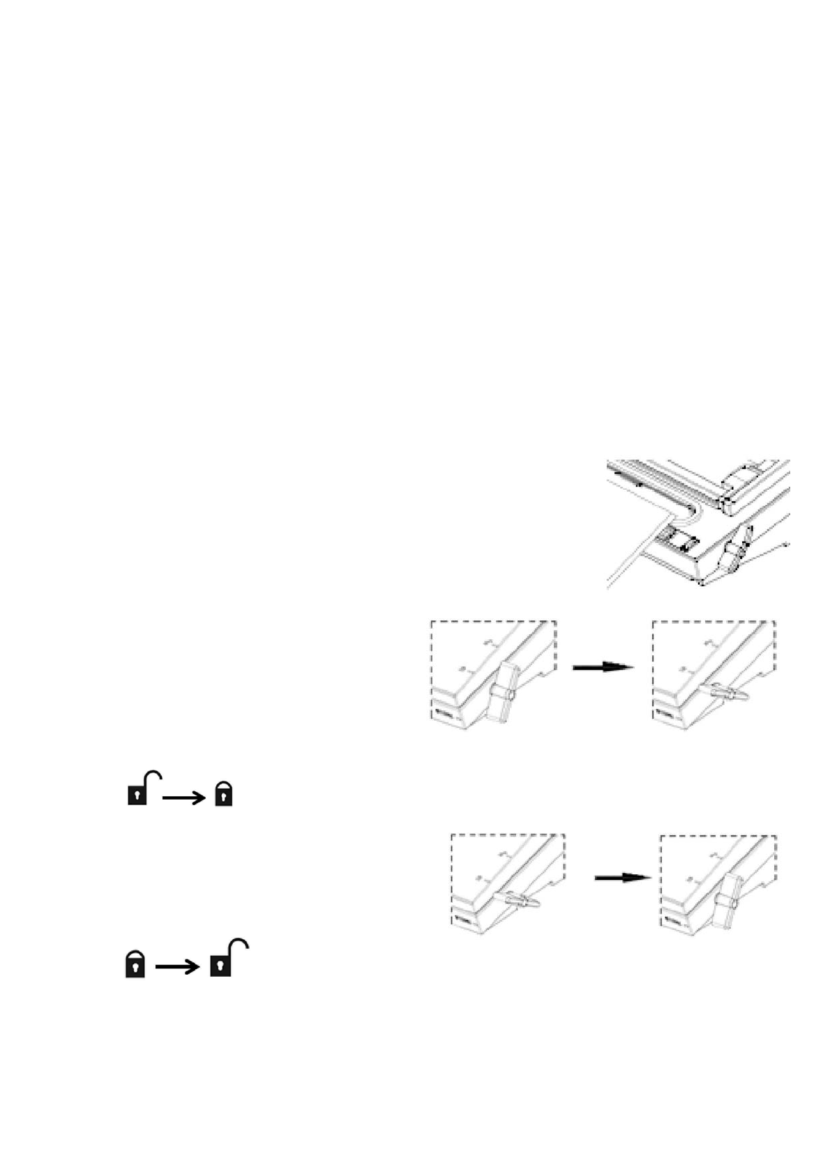
Шаг 2:
Закройте крышку. Поверните рычаг по
часовой стрелке, пока крышка не
заблокируется.
Шаг 3:
После завершения процесса поверните
рычаг против часовой стрелки, пока
крышка не разблокируется. (после
завершения процесса сваривания).
6.2 Пакеты и рулоны
Используйте только пакеты и рулоны, которые специально предназначены для
вакуумирования. Материал этой специальной предназначенной для вакуумирования пленки
отличается от обычной пленки для сохранения свежести продуктов.
Все поставляемые CASO пленочные рулоны и пакеты подходят для готовки в пакете (Sous
Vide). Кроме того, пленочные рулоны и пакеты могут использоваться для размораживания и
Характеристики
Остались вопросы?Не нашли свой ответ в руководстве или возникли другие проблемы? Задайте свой вопрос в форме ниже с подробным описанием вашей ситуации, чтобы другие люди и специалисты смогли дать на него ответ. Если вы знаете как решить проблему другого человека, пожалуйста, подскажите ему :)













