Тепломаш КЭВ-36П7020E 127030 - Инструкция по эксплуатации

Тепломаш КЭВ-36П7020E 127030

Обогреватель Тепломаш КЭВ-36П7020E 127030 - инструкция пользователя по применению, эксплуатации и установке на русском языке. Мы надеемся, она поможет вам решить возникшие у вас вопросы при эксплуатации техники.

Если остались дополнительные вопросы — свяжитесь с нами через контактную форму.

1 Страница 1
2 Страница 2
3 Страница 3
4 Страница 4
5 Страница 5
6 Страница 6
7 Страница 7
8 Страница 8
9 Страница 9
10 Страница 10
11 Страница 11
12 Страница 12
13 Страница 13
14 Страница 14
15 Страница 15
16 Страница 16
17 Страница 17
18 Страница 18
19 Страница 19
20 Страница 20
21 Страница 21
22 Страница 22
23 Страница 23
24 Страница 24
Страница: / 24

Содержание:

  • Страница 2 – Ваши замечания и предложения присылайте по адресу; СОДЕРЖАНИЕ
  • Страница 4 – П р о д о л ж е н и е т а б л и ц ы 1; УСТРОЙСТВО И ПОРЯДОК РАБОТЫ; струи воздуха из сопла.
  • Страница 5 – - Трубчатые электронагревательные; Вид А; Блок управления
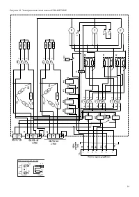
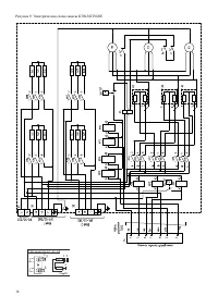
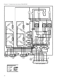
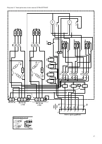
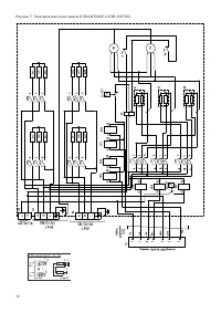
  • Страница 9 – Примечание – использовать кабели с многопроволочными жилами; QF; PE; Электрощитовая
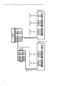
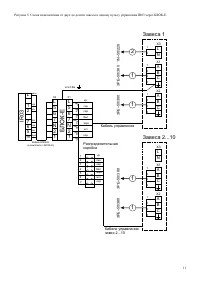
  • Страница 10 – Завеса 1; Кабель управления; IR
  • Страница 12 – ТЕХНИЧЕСКОЕ ОБСЛУЖИВАНИЕ
  • Страница 13 – Использование непригодной завесы ЗАПРЕЩЕНО!; ВОЗМОЖНЫЕ НЕИСПРАВНОСТИ И СПОСОБЫ ИХ УСТРАНЕНИЯ
  • Страница 14 – ГАРАНТИЙНЫЕ ОБЯЗАТЕЛЬСТВА; П р о д о л ж е н и е т а б л и ц ы 4
  • Страница 15 – Рисунок 6. Габаритные и присоединительные размеры
  • Страница 21 – ÍÏÎ «Òåïëîìàø»; ëåòî; Êàáåëü óïðàâëåíèÿ çàâåñû; Òåðìîñòàò IR03R
  • Страница 22 – ДЛЯ ЗАМЕТОК
  • Страница 24 – СВИДЕТЕЛЬСТВО О ПРИЕМКЕ; Дата изготовления; СВИДЕТЕЛЬСТВО О ПОДКЛЮЧЕНИИ; Подключена к сети в соответствии с п.7 Паспорта; СБ
Загрузка инструкции

ПАСПОРТ

ТУ 4864-036-54365100-2015

г. Санкт-Петербург

Серия 700

ВОЗДУШНО-ТЕПЛОВАЯ ЗАВЕСА

КЭВ-24П7010Е

КЭВ-36П7010Е

КЭВ-42П7010Е

КЭВ-36П7020Е

КЭВ-48П7020Е

КЭВ-60П7020Е

ELECTRIC

IP 21

С ЭЛЕКТРИЧЕСКИМ

ИСТОЧНИКОМ ТЕПЛА

ЙС

И

К

С

О

С

Й

О

Р

Ф

Е

В

Д

О

Е

Н

РА

А Л

Ц

Е

И

Д

И

С

Паспорт: PS700IP21

Версия: RUS-E7.05IP21

Дата: 10-2015

"Загрузка инструкции" означает, что нужно подождать пока файл загрузится и можно будет его читать онлайн. Некоторые инструкции очень большие и время их появления зависит от вашей скорости интернета.

Краткое содержание

Страница 2 - Ваши замечания и предложения присылайте по адресу; СОДЕРЖАНИЕ

2 Паспорт сделан в соответствии с ГОСТ 2.601, 2.105 Ваши замечания и предложения присылайте по адресу 195279, Санкт- Петербург, а /я 132, шоссе Революции, 90 Тел. (812) 301-99-40, тел./факс (812) 327-63-82 Сервис-центр: (812) 493-35-98 www.teplomash.ru СОДЕРЖАНИЕ 1 НАЗНАЧЕНИЕ ..........................

Страница 4 - П р о д о л ж е н и е т а б л и ц ы 1; УСТРОЙСТВО И ПОРЯДОК РАБОТЫ; струи воздуха из сопла.

4 П р о д о л ж е н и е т а б л и ц ы 1 Завесы c электрическим источником тепла КЭВ-36П7020Е арт.127030 КЭВ-48П7020Е арт.127031 КЭВ-60П7020Е арт.127032 Параметры питающей сети, В/Гц 380/50 Режимы мощности 1 , кВт */18/36 */24/48 */30/60 Расход воздуха, м 3 /ч 10500/11500/13500 Скорость воздуха на вы...

Страница 5 - - Трубчатые электронагревательные; Вид А; Блок управления

5 Рисунок 1. Воздушно-тепловая завеса Выносной пульт управления IR03 Дистанционный пульт управления Светодиоды режимов нагрева Светодиоды режимов расхода воздуха Приемное устройство инфракрасного сигнала Кнопка выбора режима нагрева Кнопки установки требуемой температуры Кнопка выбора режима расхода...

Характеристики

Другие модели - Обогреватели Тепломаш

Все обогреватели Тепломаш