Тепломаш КЭВ-12П4060E (IP54) 124034 - Инструкция по эксплуатации

Тепломаш КЭВ-12П4060E (IP54) 124034

Обогреватель Тепломаш КЭВ-12П4060E (IP54) 124034 - инструкция пользователя по применению, эксплуатации и установке на русском языке. Мы надеемся, она поможет вам решить возникшие у вас вопросы при эксплуатации техники.

Если остались дополнительные вопросы — свяжитесь с нами через контактную форму.

1 Страница 1
2 Страница 2
3 Страница 3
4 Страница 4
5 Страница 5
6 Страница 6
7 Страница 7
8 Страница 8
9 Страница 9
10 Страница 10
11 Страница 11
12 Страница 12
13 Страница 13
14 Страница 14
15 Страница 15
16 Страница 16
Страница: / 16

Содержание:

  • Страница 2 – Ваши замечания и предложения присылайте по адресу; СОДЕРЖАНИЕ
  • Страница 4 – П р о д о л ж е н и е т а б л и ц ы 1; УСТРОЙСТВО И ПОРЯДОК РАБОТЫ; через модули МП12-24Е или
  • Страница 7 – ТЕХНИЧЕСКОЕ ОБСЛУЖИВАНИЕ
  • Страница 8 – Использование непригодной завесы ЗАПРЕЩЕНО!; ВОЗМОЖНЫЕ НЕИСПРАВНОСТИ И СПОСОБЫ ИХ УСТРАНЕНИЯ
  • Страница 9 – ГАРАНТИЙНЫЕ ОБЯЗАТЕЛЬСТВА; П р о д о л ж е н и е т а б л и ц ы 3
  • Страница 10 – Рисунок 2. Габаритные и присоединительные размеры
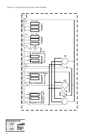
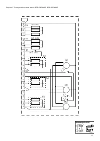
  • Страница 12 – Рисунок 4. Электрическая схема завесы КЭВ-12П4060Е; t C
  • Страница 14 – ДЛЯ ЗАМЕТОК
  • Страница 16 – СВИДЕТЕЛЬСТВО О ПРИЕМКЕ; Дата изготовления; СВИДЕТЕЛЬСТВО О ПОДКЛЮЧЕНИИ; Подключена к сети в соответствии с п.7 Паспорта; СБ
Загрузка инструкции

ПАСПОРТ

ТУ 4864-036-54365100-2015

г. Санкт-Петербург

Серия 400 IP54

ВОЗДУШНО-ТЕПЛОВАЯ ЗАВЕСА

КЭВ-12П4050Е

КЭВ-18П4050Е

КЭВ-12П4060Е

КЭВ-24П4060Е

КЭВ-36П4060Е

ELECTRIC

С ЭЛЕКТРИЧЕСКИМ

ИСТОЧНИКОМ ТЕПЛА

ЙС

И

К

С

О

С

Й

О

Р

Ф

Е

В

Д

О

Е

Н

РА

А Л

Ц

Е

И

Д

И

С

Версия: RUS-E4.01IP54

Дата: 02-2018

IP

54

"Загрузка инструкции" означает, что нужно подождать пока файл загрузится и можно будет его читать онлайн. Некоторые инструкции очень большие и время их появления зависит от вашей скорости интернета.

Краткое содержание

Страница 2 - Ваши замечания и предложения присылайте по адресу; СОДЕРЖАНИЕ

2 Паспорт сделан в соответствии с ГОСТ 2.601, 2.105 Ваши замечания и предложения присылайте по адресу 195279, Санкт- Петербург, а /я 132, шоссе Революции, 90 Тел. (812) 301-99-40, тел./факс (812) 327-63-82 Сервис-центр: (812) 493-35-98 www.teplomash.ru СОДЕРЖАНИЕ 1 НАЗНАЧЕНИЕ ..........................

Страница 4 - П р о д о л ж е н и е т а б л и ц ы 1; УСТРОЙСТВО И ПОРЯДОК РАБОТЫ; через модули МП12-24Е или

4 П р о д о л ж е н и е т а б л и ц ы 1 Завесы c электрическим источником тепла КЭВ12П4060Е арт.124034 КЭВ-24П4060Е арт.124036 КЭВ-36П4060Е арт.124037 Параметры питающей сети, В/Гц 380/50 Режимы мощности 1 , кВт 0/6/12 0/12/24 0/18/36 Расход воздуха, м 3 /ч 2600/4100/6200 Скорость воздуха на выходе ...

Страница 7 - ТЕХНИЧЕСКОЕ ОБСЛУЖИВАНИЕ

7 7.5.2 При первом включении изделия происходит сгорание консервирующей смазки с поверхности ТЭНов с появлением дыма и характерного запаха. Поэтому рекомендуется перед монтажом включить завесу в режим полной мощности на 20 минут в хорошо проветриваемом помещении. 7.5.3 Для увеличения эксплуатационно...

Характеристики

Другие модели - Обогреватели Тепломаш

Все обогреватели Тепломаш