Телевизоры кинескопные Sony KV-32FX68K - инструкция пользователя по применению, эксплуатации и установке на русском языке. Мы надеемся, она поможет вам решить возникшие у вас вопросы при эксплуатации техники.
Если остались вопросы, задайте их в комментариях после инструкции.
"Загружаем инструкцию", означает, что нужно подождать пока файл загрузится и можно будет его читать онлайн. Некоторые инструкции очень большие и время их появления зависит от вашей скорости интернета.

16
Вывод системы меню на зкран
Hacтpoйкa изoбpaжeния
Peжим: Персональный
Koнтpacт
Яpкocть
Цвeтность
Pезкость
Цвeтoвoй Toн
Cброс
OK
OK
Уcтaнoвкa
Язык/Cтpaнa
Aвтoнacтpoйкa
Copтиpoвкa пpoгpaмм
Meтки пpoгpaмм
Пpeдycтaнoвкa AV
Pyч. Hacтpoйкa Пpoгpамм
Дeтaльнaя ycтaнoвкa
OK
Дeтaльнaя ycтaнoвкa
Aвтомат. формат:
Шyмoпoнижeниe:
Bыxoд AV3:
Динaмики TB:
RGB Чeнтpиpoвaниe:
Поворот Изoбpaж.:
Bкл.
Auto
TV
Bкл.
0
0
Hacтpoйкa изoбpaжeния
Peжим: Персональный
Koнтpacт
Яpкocть
Цвeтность
Pезкость
Цвeтoвoй Toн
Cброс
OK
OK
Уcтaнoвкa
Язык/Cтpaнa
Aвтoнacтpoйкa
Copтиpoвкa пpoгpaмм
Meтки пpoгpaмм
Пpeдycтaнoвкa AV
Pyч. Hacтpoйкa Пpoгpамм
Дeтaльнaя ycтaнoвкa
OK
Дeтaльнaя ycтaнoвкa
Aвтомат. формат:
Шyмoпoнижeниe:
Bыxoд AV3:
Динaмики TB:
RGB Чeнтpиpoвaниe:
Поворот Изoбpaж.:
Bкл.
Auto
TV
Bкл.
0
0
Уровень 1
Уровень 2
Уровень 3 / Функция
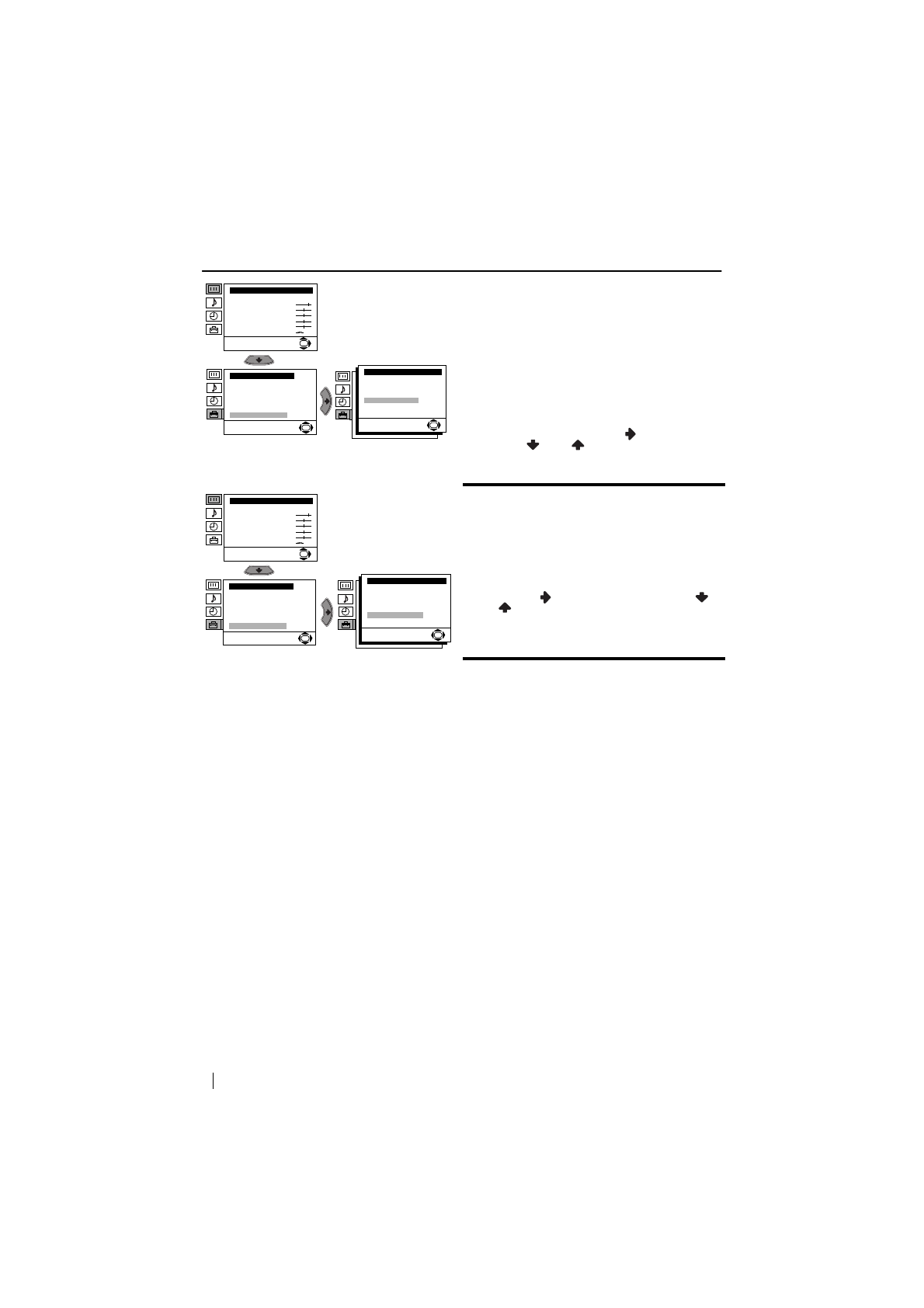
RGB ЦЕНТРИРОВАНИЕ
При подключении источника сигналов RGB,
таких, как «Playstation», возможно, что
потребуется отрегулировать положение
изображения по горизонтали. В зтом случае
Вам надо обратиться к пункту меню «RGB
центрирование» в меню «Детальная
установка».
Для зтого: в то время, как Вы видите входной
сигнал RGB, выберите пункт меню «RGB
центрирование» и нажмите
. После зтого
нажмите
или
для регулировки
положения изображения от -10 до +10. После
зтого нажмите на
OK
для запоминания.
ПОВОРОТ ИЗОБРАЖЕНИЯ
Воздействие магнитного поля Земли может
привести к наклону изображения. В зтом
случае Вы можете отрегулировать его,
используя пункт меню «Поворот Изображ.» в
меню «Детальная установка».
Для зтого: после выбора зтого пункта меню
нажмите на
. После зтого нажмите на
или
для регулировки наклона
изображения от -5 до +5.
Содержание
- 104 Общие правила техники безопасности
- 105 Назначение кнопок на пульте дистанционного управления; Общее описание
- 106 Общее описание кнопок телевизора; Установка батареек в пульт дистанционного; Общее описание - Установка; выключение; ИЛИ
- 107 Первое включение телевизора в работу; Включение и автоматическая настройка телевизора
- 109 Введение и работа с системой меню; Вывод системы меню на зкран; Схема меню; Уровень 1; НАСТРОЙКА ИЗОБРАЖЕНИЯ; Репортаж
- 110 НАСТРОЙКА ЗВУКА
- 111 ТАЙМЕР ВЫКЛЮЧЕНИЯ
- 112 СОРТИРОВКА ПРОГРАММ
- 114 АВТОФОРМАТ
- 115 ШУМОПОНИЖЕНИЕ; Auto; ВЫХОД AV3; ДИНАМИКИ ТВ
- 116 RGB ЦЕНТРИРОВАНИЕ; ПОВОРОТ ИЗОБРАЖЕНИЯ
- 118 Символ; Дополнительная информация
- 119 Вы также можете получить звуковой зффект
- 120 Настройка пульта дистанционного управления
- 121 Спецификации; Потреблеоие злектрознергии в
- 122 Выявление неисправностей; Неисправность












