Телевизоры кинескопные Sony KV-21LS30K - инструкция пользователя по применению, эксплуатации и установке на русском языке. Мы надеемся, она поможет вам решить возникшие у вас вопросы при эксплуатации техники.
Если остались вопросы, задайте их в комментариях после инструкции.
"Загружаем инструкцию", означает, что нужно подождать пока файл загрузится и можно будет его читать онлайн. Некоторые инструкции очень большие и время их появления зависит от вашей скорости интернета.

16
A képernyőn megjelenő menürendszerek
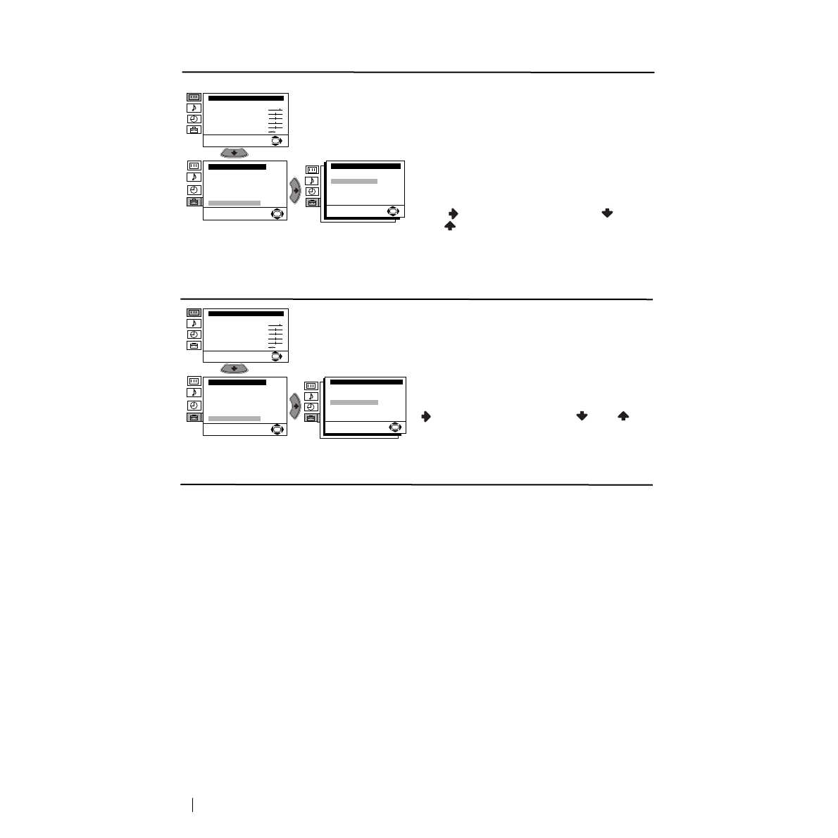
RGB POCIONÁLÁS
RGB jelforrás csatlakoztatásakor, mint pl. egy 
“Playstation”, előfordulhat, hogy szükséges a 
vízszintes képközép beállítása. Ebben az 
esetben ezt a “Részlet beállítása” menün belüli 
“RGB pozicionálás” opció használatával 
állíthatja be.
Ehhez az RGB jelforrás nézése közben 
válassza ki az “RGB Közép” opciót és nyomja 
meg 
. Ezt követően nyomja meg
vagy
a képközepelés -10 és +10 közötti
beállításához. Végezetül nyomja meg az
OK
-t a
rögzítéshez.
KÉPELFORGATÁS
A földmágnesesség következtében 
előfordulhat, hogy a kép ferdén jelenik meg. 
Ebben az esetben ezt a “Részlet beállítása” 
menün belüli “Képelforgatás” opció 
használatával állíthatja be.
Ehhez az opciót kiválasztását után nyomja meg
. Ezt követően nyomja meg
vagy
a
képdőlés –5 és +5 közötti beállításához. 
Végezetül nyomja meg az 
OK
-t a rögzítéshez.
1. szint
2. szint
3. szint / funkció
Képbeállítás
Üzemmód: Egyéni
Kontraszt
Fényer
ő
Színtelítetség
Képélesség
Színárnyalat
Törlés
OK
Beállítás
Nyelv/Ország
Automatikus hangolás
Programhely-átrendezés
Programnevek
AV beállítás
Kézi hangolás
Részlet beállítása
OK
Részlet beállítása
Zajzár:
AV2 kimenet:
RGB Közép:
Képelforgatás:
Auto
TV
0
0
OK
Képbeállítás
Üzemmód: Egyéni
Kontraszt
Fényer
ő
Színtelítetség
Képélesség
Színárnyalat
Törlés
OK
Beállítás
Nyelv/Ország
Automatikus hangolás
Programhely-átrendezés
Programnevek
AV beállítás
Kézi hangolás
Részlet beállítása
OK
Részlet beállítása
Zajzár:
AV2 kimenet:
RGB pozionálás:
Képelforgatás:
Auto
TV
0
0
OK
Содержание
- 99 Назначение кнопок на пульте дистанционного управления; Общее описание
- 100 Общее описание кнопок телевизора; специально установленные для этого контейнеры.; Подключение антенны и видеомагнитофона; Общее описание - Установка; видеомагнитофон; Переключатель; выключение
- 101 Включение и автоматическая настройка телевизора; Первое включение телевизора в работу
- 103 Введение и работа с системой меню; Вывод системы меню на экран; Схема меню; Уровень; Резкость; можно изменить только в том случае, если Вы; Цветовой Тон; можно изменять только в системе цвета NTSC (например, видеопленки; Сброс; и нажмите на
- 105 ТАЙМЕР ВЫКЛЮЧЕНИЯ; отключения, нажмите на кнопку; ТАЙМЕР ВКЛЮЧЕНИЯ; Индикатор
- 106 АВТОНАСТРОЙКА
- 107 Повторите все эти шаги для настройки и
- 108 Если Вы захотите отменить эту функцию в
- 109 ШУMOПОНИЖЕНИЕ
- 111 В этом случае введите другой номер страницы.; Фастекст
- 112 Подключение дополнительных устройств; Подключение видеомагнитофона:; Дополнительная информация
- 113 Подключение внeшнeй звyкoвocпpoизвoдящeй aппapaтypы:; Использование дополнительных устройств
- 114 Спецификации; Допoлнитeльнaя инфомация; Otæezataho b Ncæahnn
- 115 Выявление неисправностей; нарушений качества изображения и звука.; Неисправность
 
  
  
  
  
  
  
  
  
  
  
  
  
  
  
  
  
  
  
  
  
  
  
  
  
  
  
  
  
  
  
  
  
  
  
  
  
  
  
  
  
  
  
  
  
  
  
  
  
  
  
  
  
  
  
  
  
  
  
  
  
  
  
  
  
  
  
  
  
  
  
  
  
  
  
  
  
  
  
  
  
  
  
  
  
  
  
  
  
  
  
  
  
  
  
  
  
  
  
  
  
  
  
  
  
  
  
  
  
  
  
  
  
  
  
  
 











