Сварочное оборудование Сварог TIG 315P AC/DC MULTIWAVE «PRO» (E202) - инструкция пользователя по применению, эксплуатации и установке на русском языке. Мы надеемся, она поможет вам решить возникшие у вас вопросы при эксплуатации техники.
Если остались вопросы, задайте их в комментариях после инструкции.
"Загружаем инструкцию", означает, что нужно подождать пока файл загрузится и можно будет его читать онлайн. Некоторые инструкции очень большие и время их появления зависит от вашей скорости интернета.

62
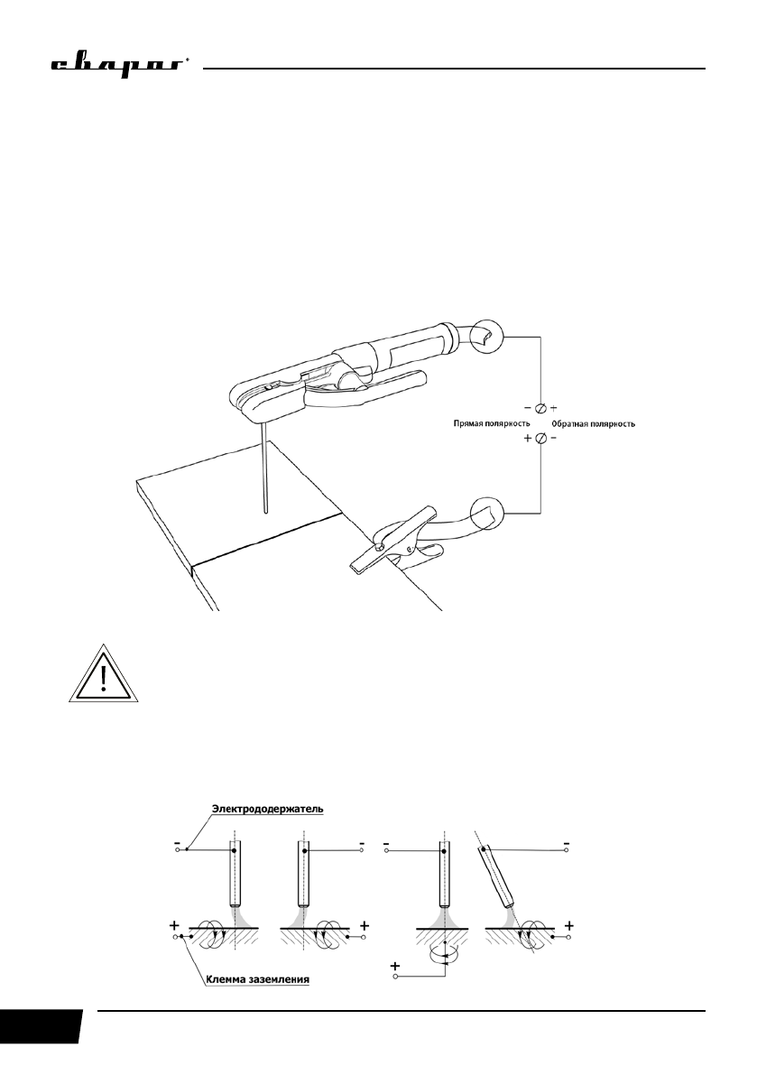
11.2. СМЕНА ПОЛЯРНОСТИ
Существует два способа подключения сварочного оборудования для работы на постоян-
ном токе (См. рис. 11.6).
Прямая полярность:
электрододержатель (горелка) подсоединен к разъёму «-», а заго-
товка подсоединена к разъёму «+»;
Обратная полярность:
заготовка подсоединена к разъёму «-», а электрододержатель
(горелка) подсоединен к разъёму «+».
Выбирайте способ подключения в зависимости от конкретной ситуации и типа электрода.
Неправильное подключение оборудования может вызвать нестабильность горения дуги,
разбрызгивание расплавленного металла и прилипание электрода.
Рис. 11.6. Способы подключения.
Если неизвестна марка электрода и у вас возникли затруднения в
выборе полярности, то учитывайте, что большинству марок электродов
рекомендована обратная полярность.
11.3. ЭЛЕКТРОМАГНИТНОЕ ДУТЬЕ
При сварке на постоянном токе также следует учитывать эффект
электромагнитного
дутья
дуги. Для уменьшения данного фактора следует переместить место клеммы заземле-
ния либо изменить угол наклона электрода (См. рис. 11.7).
Рис. 11.7. Схема отклонения дуги постоянного тока.
Характеристики
Остались вопросы?Не нашли свой ответ в руководстве или возникли другие проблемы? Задайте свой вопрос в форме ниже с подробным описанием вашей ситуации, чтобы другие люди и специалисты смогли дать на него ответ. Если вы знаете как решить проблему другого человека, пожалуйста, подскажите ему :)