Сварочное оборудование Сварог TIG 315P AC/DC MULTIWAVE «PRO» (E202) - инструкция пользователя по применению, эксплуатации и установке на русском языке. Мы надеемся, она поможет вам решить возникшие у вас вопросы при эксплуатации техники.
Если остались вопросы, задайте их в комментариях после инструкции.
"Загружаем инструкцию", означает, что нужно подождать пока файл загрузится и можно будет его читать онлайн. Некоторые инструкции очень большие и время их появления зависит от вашей скорости интернета.

59
PRO TIG 315 P AC/DC MULTIWAVE
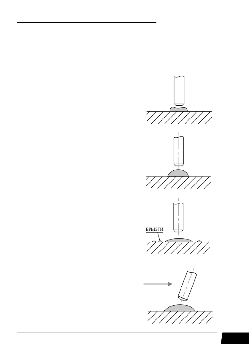
11.1. ВЛИЯНИЕ ДЛИНЫ ДУГИ И УГЛА НАКЛОНА ЭЛЕКТРОДА
НА ФОРМУ СВАРОЧНОГО ШВА
Длина дуги при сварке покрытым электродом считается нормальной в пределах 0,5 – 1,1
диаметра электрода (См. рис. 11.3).
Слишком короткая длина дуги.
Необходимо увеличить расстояние от
электрода до свариваемого изделия.
Нормальная длина дуги.
Слишком длинная длина дуги.
Необходимо уменьшить расстояние от
электрода до свариваемого изделия.
Слишком медленная скорость сварки.
Сварной шов слишком широкий.
Характеристики
Остались вопросы?Не нашли свой ответ в руководстве или возникли другие проблемы? Задайте свой вопрос в форме ниже с подробным описанием вашей ситуации, чтобы другие люди и специалисты смогли дать на него ответ. Если вы знаете как решить проблему другого человека, пожалуйста, подскажите ему :)