Стиральная машина Haier HW60-BP12959AS - инструкция пользователя по применению, эксплуатации и установке на русском языке. Мы надеемся, она поможет вам решить возникшие у вас вопросы при эксплуатации техники.
Если остались вопросы, задайте их в комментариях после инструкции.
"Загружаем инструкцию", означает, что нужно подождать пока файл загрузится и можно будет его читать онлайн. Некоторые инструкции очень большие и время их появления зависит от вашей скорости интернета.

27
10 - Орнотуу
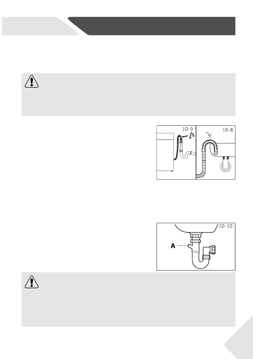
10.6 Суу кетирүү үчүн шлангды туташтыруу
Суу кетирүү үчүн шлангды суу түтүгүнө тийиштүү түрдө туташтырыңыз. Шланг
прибордун асыңкы чегинен 80-100 см диапазонундагы бийиктикте1 болушу зарыл!
Мүмкүнчүлүккө жараша, дренаждык шлангды ар дайым прибордун арткы панелинин
кысып кармагычына бекитиңиз.
КӨӉҮЛ БУРУӉУЗ!
Төмөнкүдөй туташтыруулар болушу мүмкүн:
10.6.1 Сууну шлангдан раковинага төгүү
КӨӉҮЛ БУРУӉУЗ!
KY
►
Туташтыруу үчүн шлангдардын кошо жеткирилүүчү комплектин гана колдонуңуз.
►
Эч качан шлангдардын эски комплектилерин колдонбоңуз!
►
Шлангды муздак суу түтүгүнө гана кошуңуз.
►
Туташтыруудан мурда суунун тазалыгын жана тунуктугун текшериңиз.
►
Суу кетүүчү шлангды тийиштүү өлчөмдөгү
раковинанын четине U-сымал таянычтын
жардамында илиңиз (10-8 сүр.).
►
U-сымал таянычты жылмышып кетүүcүyөн
тийиштүү
коргоону камсыз кылыңыз.
10.6.2 Сууну шлангдан канализацияга кетирүү
10.6.3 Сууну шлангдан раковинанын астындагы
туташтырылган жерге кетирүү
►
Желдетүү тешиги менен стояктын түтүгүнүн ички
диаметри 40 мм кем эмес болушу1 зарыл.
►
Диапазондо 0-80 мм куур чоор салып төгүүчү
кранды кой.
►
U-сымал таянычты туташтырыңыз жана бекем
бекитиңиз (10-9 сүр.).
►
Туташтырылган жер сифондун астында болушу
зарыл
►
Втулка аркылуу туташтырылган жер көбүнчө капкак
менен жабылган болот (А). Бузулууларды болтурбоо
үчүн, аны алып салуу зарыл (10-10 сүр.).
►
Суу кетүүчү шлангды каамыт менен бекитиңиз.
►
Суу кетүүчү шлангды сууга салууга болбойт, жана ал бекем бекитилген жана
жылчыксыз болушу
1 зарыл. Эгер суу кетүүчү шланг жерде орнотулган болсо, же
түтүк 80 сантиметрден ылдый бийиктикте жайгашса, кир жуугуч машина суу менен
толтуруу учурунда сууну агызып кетире берет (сууну автоматтык түрдө кетирүү).
►
Суу кетүүчү шлангды узартууга болбойт. Зарыл болсо, сатуудан кийинки тейлөө
бөлүмү менен байланышыңыз.
Содержание
- 2 Спасибо; Благодарим вас за выбор продукции Haier.; Опасность травмы или удушения!
- 3 Содержание
- 4 – Информация по безопасности; Перед первым включением устройства прочитайте следующие; Перед первым использованием
- 5 Ежедневное использование
- 6 Установка; Назначение; Оно предназначено исключительно для домашнего использования в
- 7 – Описание изделия; Примечание; Из-за технических изменений и различных моделей; Изображение устройства; Дополнительные принадлежности
- 8 – Панель управления; Примечание: Звуковой сигнал
- 9 Примечание: Заводские настройки
- 10 Примечание: Жидкое моющее средство
- 11 – Программы; Моющее средство
- 12 — Потребление; Примечание: Автоматическое
- 13 – Ежедневное использование; Примечание: Герметичность
- 14 Указания по уходу; Стирка; Загрузка стиральной машины
- 15 Выбор моющего средства; Выберите наиболее подходящее моющее средство
- 16 Примечание. Удаление запаха
- 17 Примечание: Блокировка дверцы; Включение и выключение звукового сигнала
- 18 – Экологичная стирка; Экологически ответственное использование
- 19 – Уход и очистка; Примечание. Очистка барабана
- 20 Риск ошпаривания! Вода в фильтре насоса может
- 22 Устранение неисправностей
- 23 – Устранение неисправностей; Устранение неисправностей без отображения кода
- 24 Примечание. Образование пены
- 25 0 – Установка
- 29 1 – Технические характеристики
- 30 Максимальная мощность, Вт
- 31 2 – Служба поддержки клиентов
- 212 Дата изготовления и