Шредеры Fellowes Powershred DS 700C - инструкция пользователя по применению, эксплуатации и установке на русском языке. Мы надеемся, она поможет вам решить возникшие у вас вопросы при эксплуатации техники.
Если остались вопросы, задайте их в комментариях после инструкции.
"Загружаем инструкцию", означает, что нужно подождать пока файл загрузится и можно будет его читать онлайн. Некоторые инструкции очень большие и время их появления зависит от вашей скорости интернета.

9
BESCHRÄNKTE PRODUKTGARANTIE
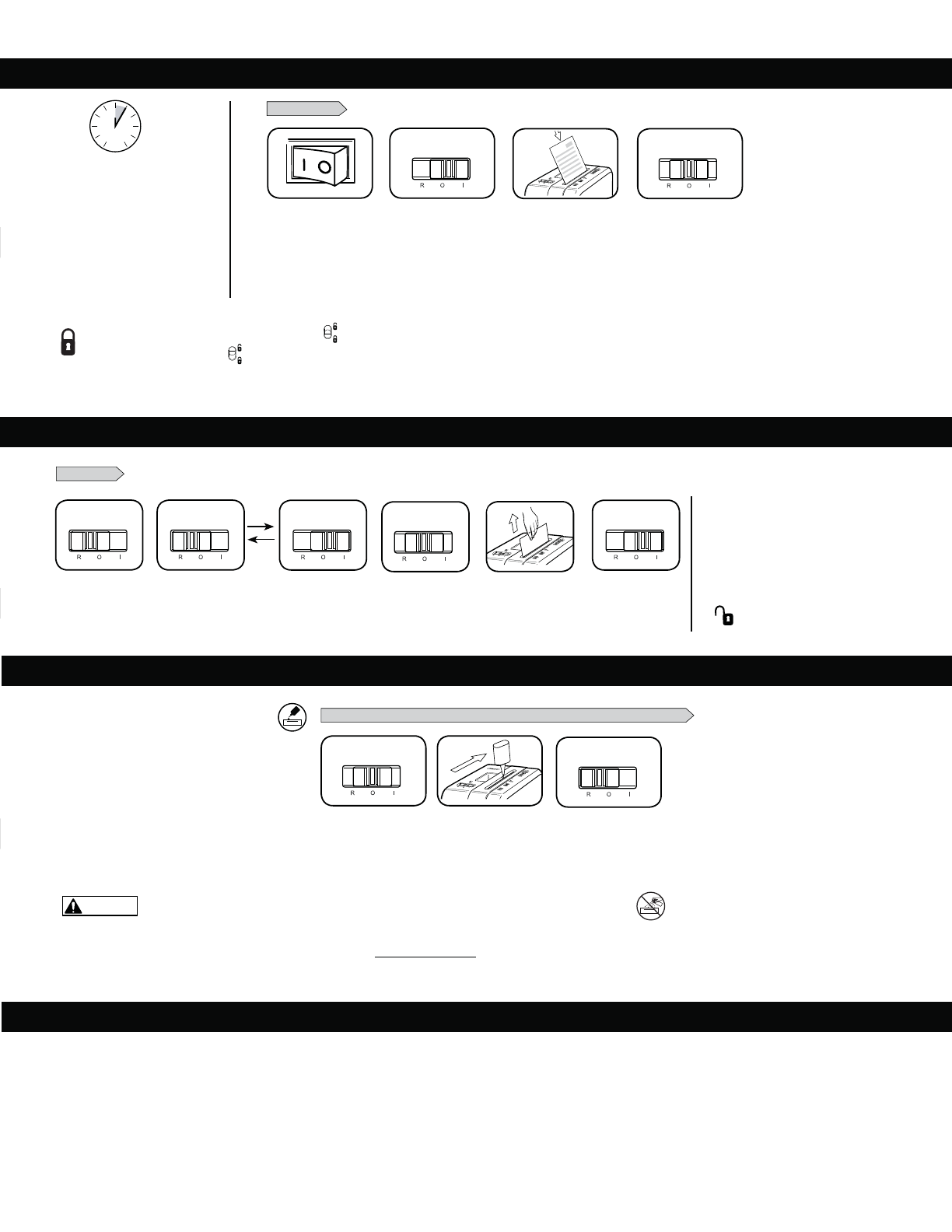
In die Steckdose einstecken
VOEEFO/FU[5SFOOTDIBMUFS
auf EIN (I) stellen
Dauerbetrieb:
#JT[VNBYJNBM.JOVUFO
HINWEIS:
%FS"LUFOWFSOJDIUFSMÊVGU
OBDIKFEFN"SCFJUTHBOHLVS[XFJUFS
VNEFO&JO[VHGSFJ[VNBDIFO#FJ
FJOFN%BVFSCFUSJFCWPONFISBMT
ø.JOVUFOXJSEFJOF"CLàIM[FJUWPO
.JOVUFOBVTHFMÚTU
GRUNDLEGENDER AKTENVERNICHTUNGSBETRIEB
#FTDISÊOLUF(BSBOUJF'FMMPXFT*OD v'FMMPXFTiHBSBOUJFSUEBTTEJF(FSÊUFUFJMFGàSFJOFO;FJUSBVNWPO
+BISBC,BVGEBUVNEVSDIEFO&STULÊVGFSGSFJWPO.BUFSJBMVOE7FSBSCFJUVOHTGFIMFSOTJOE'FMMPXFT*OD
HBSBOUJFSUEBTTEJF.FTTFSEFT(FSÊUTGàSFJOFO;FJUSBVNWPO+BISFOBC,BVGEBUVNEVSDIEFO&STULÊVGFS
GSFJWPO.BUFSJBMVOE7FSBSCFJUVOHTGFIMFSOTJOE4PMMUFTJDIFJO5FJMXÊISFOEEFS(BSBOUJF[FJUBMTEFGFLU
FSXFJTFOIBCFO4JFOBDI'FMMPXFT&SNFTTFOFJO[JHVOEBMMFJO"OTQSVDIBVGLPTUFOMPTF3FQBSBUVSPEFS
LPTUFOMPTFO &STBU[ EFT EFGFLUFO 5FJMT %JFTF (BSBOUJF TDIMJFU .JTTCSBVDI VOTBDIHFNÊF )BOEIBCVOH
/JDIUFJOIBMUVOHWPO1SPEVLUOVU[VOHTTUBOEBSET"LUFOWFSOJDIUFSCFUSJFCNJUFJOFSGBMTDIFO FJOFSBOEFSFO
BMTBVGEFN&UJLFUUBOHFHFCFOFO4USPNWFSTPSHVOHPEFSVOCFGVHUF3FQBSBUVSFOBVT'FMMPXFTCFIÊMUTJDI
EBT3FDIUWPSEFO7FSCSBVDIFSO[VTÊU[MJDIF,PTUFOJO3FDIOVOH[VTUFMMFOEJFGàS'FMMPXFTBOGBMMFOVN
5FJMFPEFS%JFOTUMFJTUVOHFOBVFSIBMCEFT-BOEFT[VS7FSGàHVOH[VTUFMMFOJOEFNEFS"LUFOWFSOJDIUFS
VSTQSàOHMJDI WPO FJOFN BVUPSJTJFSUFO 8JFEFSWFSLÊVGFS WFSLBVGU XPSEFO JTU "--& 45*--4$)8&*(&/%&/
("3"/5*&/ &*/4$)-*&44-*$) %*& %&3 ."3,5(/(*(,&*5 0%&3 &*(/6/( 'Ã3 &*/&/ #&45*..5&/
;8&$,8&3%&/)*&3.*5"6'%*&%"6&3%&370345&)&/%"/(&'Ã)35&/("3"/5*&;&*5#&4$)3/,5
"VGLFJOFO'BMMIBGUFU'FMMPXFTGàSFWFOUVFMMJN;VTBNNFOIBOHNJUEJFTFN1SPEVLUBVGUSFUFOEF/FCFO
PEFS'PMHFTDIÊEFO%JFTF(BSBOUJFHFXÊISU*IOFOCFTUJNNUF3FDIUF%BVFS#FEJOHVOHFOVOE,POEJUJPOFO
EJFTFS(BSBOUJFHFMUFOXFMUXFJUBVFSXFOOMPLBMF(FTFU[FBOEFSF#FHSFO[VOHFO&JOTDISÊOLVOHFOPEFS
,POEJUJPOFOWPSTDISFJCFO6NNFIS%FUBJMT[VFSGBISFOPEFS4FSWJDFMFJTUVOHFOJN3BINFOEJFTFS(BSBOUJF
JO"OTQSVDI[VOFINFOXFOEFO4JFTJDICJUUFBOVOTPEFS*ISFO)ÊOEMFS
DS-700C
7
2
3
4
1
PAPER/CARD
Das Papier/die
,BSUFHFSBEFJO
EFO1BQJFSFJO[VH
einführen und
loslassen
8FOOEBT;FSLMFJOFSO
CFFOEFUJTUBVG"64
(O) stellen
"VG"VUPNBUJTDI&JO
(I) stellen
FEHLERDIAGNOSE UND -BEHEBUNG
PAPIERSTAU
-BOHTBN[XJTDIFOEFS&JO *VOE3àDLXÊSUT
Position (R) abwechseln
2-3 Sekunden lang
BVG3àDLXÊSUTCFUSJFC
(R) einstellen
"VG"64 0TUFMMFO
VOEEFO/FU[TUFDLFS
IFSBVT[JFIFO
6O[FSLMFJOFSUFT1BQJFS
WPSTJDIUJHBVTEFN
1BQJFSFJO[VH[JFIFO
/FU[TUFDLFSFJOTUFDLFO
Auf Auto-Ein (I)
TUFMMFOVOENJUEFN
;FSLMFJOFSOGPSUGBISFO
Aktenvernichter startet nicht:
1SàGFOPCEFS"VGGBOHCFIÊMUFSWPMMTUÊOEJH
eingeschoben ist
.JOVUFOXBSUFOCJTTJDIEFS.PUPS
abgekühlt hat
1SàGFOPCEJF4JDIFSIFJUTTQFSSF
HFÚGGOFUJTU
WARTUNG
DS-700C
7
1
4
5
3
2
6
Sicherheitssperre verhindert versehentlichen Betrieb.
;VN&JOTUFMMFOXBSUFOCJTEBT;FSLMFJOFSOTUPQQUEBOOBVGEJFTDIXBS[F5BTUFESàDLFOVOE[VS7PSEFSTFJUFEFT
Aktenvernichters hin schieben.
;VN&OUSJFHFMOBVGEJFTDIXBS[F5BTUFESàDLFOVOE[VS3àDLTFJUFEFT"LUFOWFSOJDIUFSTIJOTDIJFCFO'àSFSIÚIUF4JDIFSIFJUJNNFSOBDI(FCSBVDI
EFT"LUFOWFSOJDIUFSTEFO4UFDLFSIFSBVT[JFIFO
DS-700C
7
3
1
2
VORSICHT
*Verwenden Sie nur ein aerosolfreies Pflanzenöl in Behältern mit langer Düse, z. B. Fellowes 35250
Alle Partikel-Aktenvernichter benötigen Öl, um
optimale Leistung zu erzielen. Wird das Gerät nicht
geölt, kann es zu einer geringeren Blattkapazität,
störendem Geräusch beim Zerkleinern und
letztendlich zum Anhalten des Aktenvernichters
kommen. Um diese Probleme zu vermeiden,
empfiehlt es sich, den Aktenvernichter bei jedem
Leeren des Abfallbehälters zu ölen.
ÖLEN DES AKTENVERNICHTERS
DAS NACHSTEHENDE SCHMIERVERFAHREN AUSFÜHREN UND ZWEIMAL WIEDERHOLEN
* Das Öl am Papiereinzug
auftragen
Auf Aus (O) stellen
2-3 Sekunden lang auf
Rückwärtsbetrieb (R)
einstellen
Gehen Sie zum Abschnitt „Support“ (Support Section) unter www.fellowes.com, oder schlagen Sie auf der Rückseite des Handbuchs nützliche
Telefonnummern nach.