Шредеры Fellowes Powershred DS 700C - инструкция пользователя по применению, эксплуатации и установке на русском языке. Мы надеемся, она поможет вам решить возникшие у вас вопросы при эксплуатации техники.
Если остались вопросы, задайте их в комментариях после инструкции.
"Загружаем инструкцию", означает, что нужно подождать пока файл загрузится и можно будет его читать онлайн. Некоторые инструкции очень большие и время их появления зависит от вашей скорости интернета.

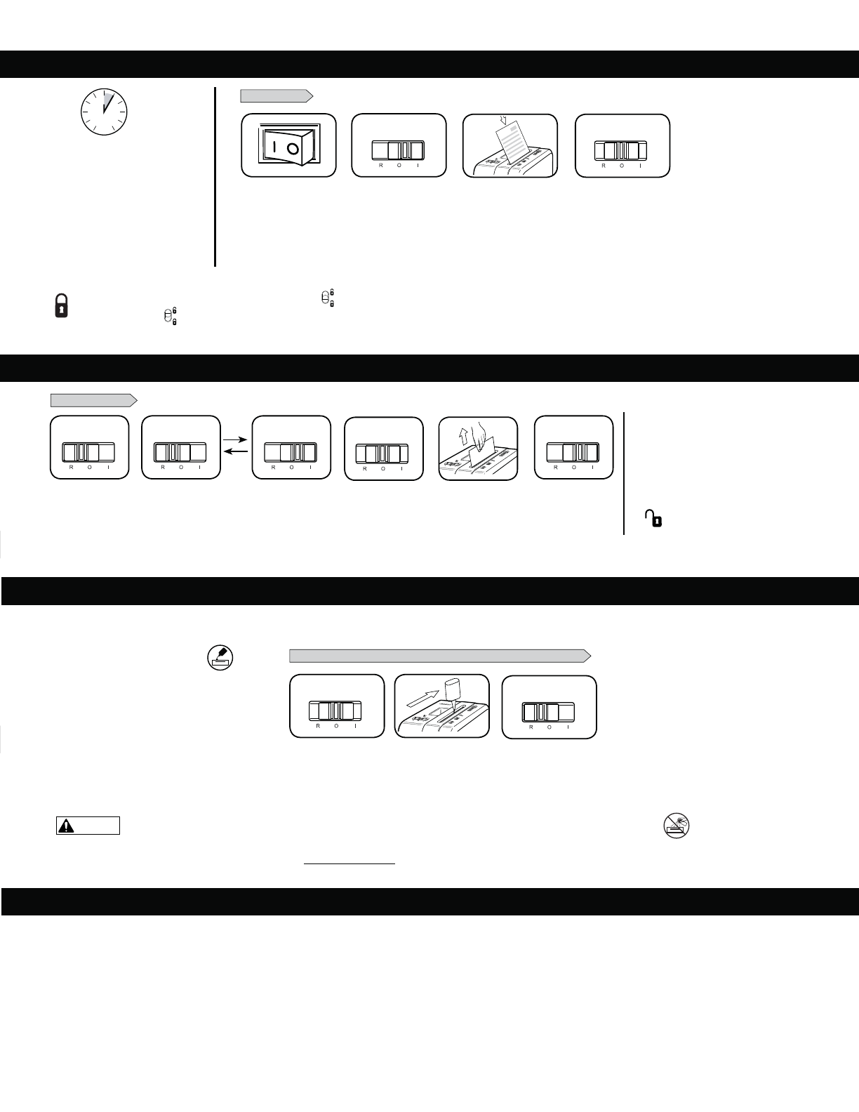
Ligue o aparelho e
DPMPRVFPJOUFSSVQUPS
de corte de energia na
QPTJÎÍP-*("%0 *
37
GARANTIA LIMITADA DE PRODUTO
Funcionamento contínuo:
"UÏNJOVUPTOPNÈYJNP
OBSERVAÇÃO:
o destruidor
DPOUJOVBBGVODJPOBSCSFWFNFOUFBQØT
DBEBQBTTBHFNEFGPSNBBEFTJNQFEJS
BFOUSBEB6NGVODJPOBNFOUP
DPOUÓOVPEVSBOUFNBJTEFNJOVUPT
EBSÈPSJHFNBVNQFSÓPEPEF
BSSFGFDJNFOUPEFNJOVUPT
FUNCIONAMENTO BÁSICO DE DESTRUIÇÃO
("3"/5*"-*.*5"%""'FMMPXFT*OD i'FMMPXFTwHBSBOUFRVFBTQFÎBTEBNÈRVJOBFTUÍPJTFOUBT
EFRVBJTRVFSEFGFJUPTEFNBUFSJBMFNÍPEFPCSBEVSBOUFVNQFSÓPEPEFBOPTBDPOUBSEBEBUB
EFDPNQSBQFMPDPOTVNJEPSPSJHJOBM'FMMPXFTHBSBOUFRVFBTMÉNJOBTEFEFTUSVJÎÍPEBNÈRVJOB
FTUÍPJTFOUBTEFRVBJTRVFSEFGFJUPTEFNBUFSJBMFNÍPEFPCSBEVSBOUFVNQFSÓPEPEFBOPTB
DPOUBSEBEBUBEFDPNQSBQFMPDPOTVNJEPSPSJHJOBM4FFODPOUSBSVNEFGFJUPFNRVBMRVFSQFÎB
EVSBOUFPQFSÓPEPEFHBSBOUJBPTFVÞOJDPFFYDMVTJWPSFDVSTPTFSÈBSFQBSBÎÍPPVBTVCTUJUVJÎÍP
NFEJBOUFPDSJUÏSJPFBFYQFOTBTEB'FMMPXFTEBQFÎBDPNEFGFJUP&TUBHBSBOUJBOÍPTFBQMJDB
FN DBTPT EF VUJMJ[BÎÍP BCVTJWB NBOVTFBNFOUP JOBEFRVBEP B OÍPPCTFSWBÎÍP EPT QBESÜFT
EF VTP EFWJEP B PQFSBÎÍP EP EFTUSVJEPS DPN VNB GPOUF EF BMJNFOUBÎÍP JOBEFRVBEB VNB
PVUSB EP RVF B JOEJDBEB OB QMBDB EF FTQFDJGJDBÎÜFT PV SFQBSBÎÍP OÍP BVUPSJ[BEB " 'FMMPXFT
SFTFSWBTF P EJSFJUP EF GBDUVSBS BP DMJFOUF RVBJTRVFS DVTUPT BEJDJPOBJT QBSB B 'FMMPXFT QBSB P
GPSOFDJNFOUPEFQFÎBTPVTFSWJÎPTGPSBEPQBÓTPOEFPEFTUSVJEPSGPJWFOEJEPPSJHJOBMNFOUFQPS
VNSFWFOEFEPSBVUPSJ[BEP26"-26&3("3"/5*"*.1-¶$*5"*/$-6*/%0%&$0.&3$*"-*;"±°0
06%&"%&26"±°01"3"6."'*/"-*%"%&&.1"35*$6-"3²"26*-*.*5"%""01&3¶0%0%&
("3"/5*""13013*"%0$0/'03.&"/5&3*03.&/5&&45"#&-&$*%0&NDBTPBMHVNQPEFSÈB
'FMMPXFT TFS SFTQPOTBCJMJ[BEB QPS RVBJTRVFS EBOPT TFDVOEÈSJPT PV BDJEFOUBJT JNQVUÈWFJT B FTUF
QSPEVUP&TUBHBSBOUJBDPODFEFMIFEJSFJUPTMFHBJTFTQFDÓGJDPT"EVSBÎÍPFPTUFSNPTFDPOEJÎÜFT
EFTUBHBSBOUJBTÍPWÈMJEPTBOÓWFMNVOEJBMTBMWPFNDBTPEFJNQPTJÎÍPEFMJNJUBÎÜFTSFTUSJÎÜFT
PVDPOEJÎÜFTEJGFSFOUFTQFMBTMFJTMPDBJT1BSBPCUFSNBJTQPSNFOPSFTPVSFDFCFSBTTJTUÐODJBOPT
UFSNPTEFTUBHBSBOUJBDPOUBDUFOPTEJSFDUBNFOUFPVDPOTVMUFPTFVBHFOUFBVUPSJ[BEP
DS-700C
7
2
3
4
1
RESOLUÇÃO DE PROBLEMAS
MANUTENÇÃO DO PRODUTO
PAPEL/CARTÃO
*OUSPEV[BPQBQFMDBSUÍP
EJSFUBNFOUFOBFOUSBEB
de papel e largue
"PUFSNJOBSBUSJUVSBÎÍP
DPMPRVFFN%&4-*("%0
(O)
$PMPRVFOBQPTJÎÍP
EF'VODJPOBNFOUP
BVUPNÈUJDP
(I)
PAPEL ENCRAVADO
"MUFSOFMFOUBNFOUFFOUSFBTQPTJÎÜFTEFEFTMPDBÎÍP
QBSBUSÈTFQBSBBGSFOUF
$PMPRVFOBQPTJÎÍPEF
*OWFSTÍP 3FEFJYF
funcionar durante
2-3 segundos
$PMPRVFOBQPTJÎÍP
desligada (O) e retire
BGJDIBEBUPNBEBEF
BMJNFOUBÎÍP
3FUJSFDVJEBEPTBNFOUF
o papel por cortar da
entrada para papel.
Ligue a ficha na
UPNBEBEFBMJNFOUBÎÍP
$PMPRVFOBQPTJÎÍP
EF'VODJPOBNFOUP
BVUPNÈUJDP *FSFJOJDJF
BUSJUVSBÎÍP
O destruidor não arranca:
$FSUJGJRVFTFEFRVFPDFTUPFTUÈ
EFWJEBNFOUFJOTUBMBEP
"HVBSEFNJOVUPTQBSBQFSNJUJSRVFP
NPUPSBSSFGFÎB
$FSUJGJRVFTFEFRVFPUSBWÍPEF
TFHVSBOÎBFTUÈEFTUSBWBEP
DS-700C
7
1
4
5
3
2
6
0USBWÍPEFTFHVSBOÎBJNQFEFPGVODJPOBNFOUPJOBEWFSUJEP
1BSBDPOGJHVSBSBHVBSEFRVFBEFTUSVJÎÍPUFSNJOFDBSSFHVFOPCPUÍPQSFUPQBSBCBJYPFEFTMJ[FQBSBBQBSUFEB
frente do destruidor.
1BSBEFTCMPRVFBSDBSSFHVFOPCPUÍPQSFUPQBSBCBJYPFEFTMJ[FQBSBBQBSUFQPTUFSJPSEPEFTUSVJEPS1BSBNBJPSTFHVSBOÎBEFTMJHVFTFNQSFPBQBSFMIPEB
DPSSFOUFEFQPJTEFPVUJMJ[BS
DS-700C
7
3
1
2
CUIDADO
*Utilize apenas um óleo vegetal não-aerossol num recipiente de bocal comprido, igual ao produto nº 35250 da Fellowes.
Todos os destruidores de corte cruzado requerem
óleo para obter um rendimento máximo. Se não for
lubrificada, pode ocorrer uma diminuição da capacidade
de entrada de folhas, ocorrer ruído incómodo durante a
destruição de documentos e, em último caso, a máquina
deixar de funcionar. Para evitar estes problemas,
aconselhamos a que lubrifique o seu destruidor sempre
que esvaziar o seu cesto de papéis.
LUBRIFICAR O
DESTRUIDOR DE PAPEL
SIGA O PROCEDIMENTO DE LUBRIFICAÇÃO ABAIXO E REPITA-O DUAS VEZES
*Aplique óleo na entrada
Coloque na posição
Desligado (O)
Coloque na posição de
Inversão (R) e deixe funcionar
durante 2-3 segundos
Vá para a Secção de suporte («Support Section») em www.fellowes.com ou consulte a contracapa do manual para obter números de telefone úteis.