Шредеры Fellowes Powershred DS 700C - инструкция пользователя по применению, эксплуатации и установке на русском языке. Мы надеемся, она поможет вам решить возникшие у вас вопросы при эксплуатации техники.
Если остались вопросы, задайте их в комментариях после инструкции.
"Загружаем инструкцию", означает, что нужно подождать пока файл загрузится и можно будет его читать онлайн. Некоторые инструкции очень большие и время их появления зависит от вашей скорости интернета.

5
GARANTIE LIMITÉE DU PRODUIT
Fonctionnement en continu :
NJOVUFTBVNBYJNVN
REMARQUE :
le destructeur
UPVSOFVOCSFGJOTUBOUBQSÒTDIBRVF
DZDMFQPVSEÏHBHFSMFOUSÏF6O
GPODUJPOOFNFOUFODPOUJOVEFQMVTEF
NJOVUFTFODMFODIFSBVOFQÏSJPEFEF
SFGSPJEJTTFNFOUEFNJOVUFT
DESTRUCTION DE BASE
(BSBOUJFMJNJUÏFø'FMMPXFT*OD jø'FMMPXFTøxHBSBOUJURVFMFTQJÒDFTEFMBQQBSFJMTPOUFYFNQUFT
EFUPVUWJDFQSPWFOBOUEVOEÏGBVUEFNBUJÒSFPVEFGBCSJDBUJPOFUGPVSOJUFOUSFUJFOFUBTTJTUBODF
QFOEBOU VOF QÏSJPEF EF BOOÏF Ë QBSUJS EF MB EBUF EF MBDIBU JOJUJBM 'FMMPXFT HBSBOUJU RVF MFT
MBNFTEFDPVQFEFMBQQBSFJMTPOUFYFNQUFTEFUPVUWJDFQSPWFOBOUEVOEÏGBVUEFNBUJÒSFPVEF
GBCSJDBUJPOQFOEBOUVOFQÏSJPEFEFBOTËQBSUJSEFMBEBUFEFMBDIBUJOJUJBM4JVOFQJÒDFTBWÒSF
EÏGFDUVFVTFQFOEBOUMBQÏSJPEFEFHBSBOUJFWPUSFTFVMFUVOJRVFSFDPVSTTFSBMBSÏQBSBUJPOPVMF
SFNQMBDFNFOUEFMBQJÒDFEÏGFDUVFVTFTFMPOMFTNPEBMJUÏTFUBVYGSBJTEF'FMMPXFT$FUUFHBSBOUJF
OF DPVWSF QBT MFT DBT EF NBVWBJTF VUJMJTBUJPO NBVWBJTF NBOJQVMBUJPO OPO SFTQFDU EFT OPSNFT
EVUJMJTBUJPO EV QSPEVJU VUJMJTBUJPO EV EFTUSVDUFVS BWFD VOF BMJNFOUBUJPO JOBEÏRVBUF BVUSF RVF
DFMMFJOEJRVÏFTVSMÏUJRVFUUFPVSÏQBSBUJPOOPOBVUPSJTÏF'FMMPXFTTFSÏTFSWFMFESPJUEFGBDUVSFS
BV DMJFOU UPVT MFT GSBJT TVQQMÏNFOUBJSFT BVYRVFMT 'FMMPXFT EPJU GBJSF GBDF QPVS GPVSOJS EFT QJÒDFT
PV PCUFOJS EFT TFSWJDFT IPST EV QBZT EBOT MFRVFM MF EFTUSVDUFVS B ÏUÏ JOJUJBMFNFOU WFOEV QBS
VO SFWFOEFVS BHSÏÏ 5065& ("3"/5*& *.1-*$*5& : $0.13*4 $&--& %& $0..&3$*"-*4"5*0/
06 %"%"15"5*0/ ® 6/ 64"(& 1"35*$6-*&3 &45 1"3 -" 13²4&/5& -*.*5²& &/ %63²& ® -"
1²3*0%&%&("3"/5*&"113013*²&%²'*/*&$*%&4464'FMMPXFTOFQPVSSBFOBVDVODBTÐUSFUFOV
SFTQPOTBCMF EF EPNNBHFT JOEJSFDUT PV BDDFTTPJSFT JNQVUBCMFT Ë DF QSPEVJU $FUUF HBSBOUJF WPVT
EPOOFEFTESPJUTTQÏDJGJRVFT-BEVSÏFMFTDPOEJUJPOTHÏOÏSBMFTFUMFTDPOEJUJPOTEFDFUUFHBSBOUJF
TPOUWBMBCMFTEBOTMFNPOEFFOUJFSFYDFQUÏFODBTEFQSFTDSJQUJPOEFSFTUSJDUJPOTPVEFDPOEJUJPOT
FYJHJCMFTQBSMFTMPJTMPDBMFT1PVSQMVTEFEÏUBJMTPVQPVSPCUFOJSVOTFSWJDFTPVTHBSBOUJFQSFOESF
contact avec nous ou avec votre revendeur.
DS-700C
7
2
3
4
1
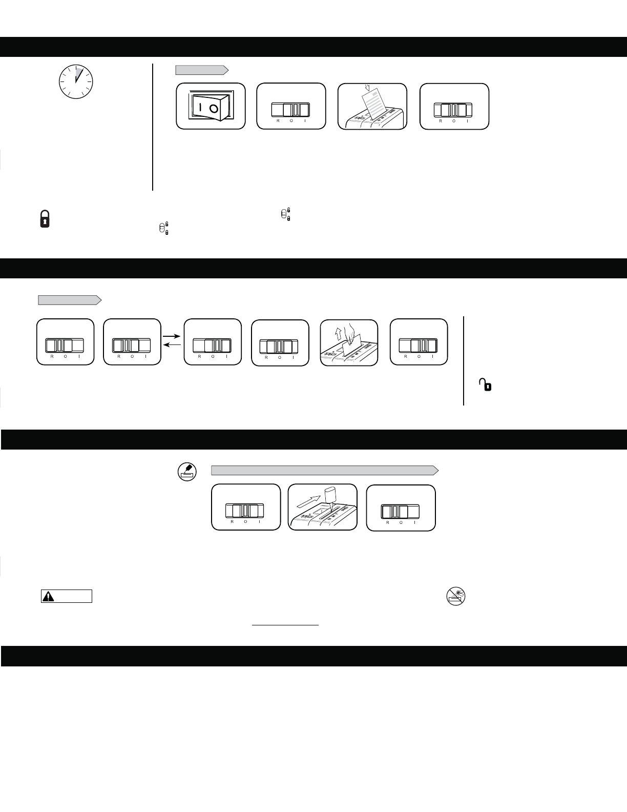
#SBODIFSFUNFUUSF
MJOUFSSVQUFVSEBMJNFOUBUJPO
en position MARCHE (I)
DÉPANNAGE
ENTRETIEN DU PRODUIT
PAPIER/CARTE
*OTÏSFSMBDBSUFPVMF
papier bien droit dans
MBGFOUFEJOTFSUJPOEV
QBQJFSQVJTMÉDIFS
®MBGJOEFMB
EFTUSVDUJPONFUUSFFO
position ARRÊT (O)
.FUUSFFOGPODUJPOOFNFOU
BVUPNBUJRVF *
BOURRAGE PAPIER
&GGFDUVFSFOEPVDFVSVONPVWFNFOUEFWBFUWJFOU
Mettre en position
Marche arrière (R)
pendant 2-3 seconde
.FUUSFFOQPTJUJPOBSSÐU
0FUEÏCSBODIFS
3FUJSFSEÏMJDBUFNFOUEF
MBGFOUFMFEPDVNFOUOPO
EÏUSVJU#SBODIFS
.FUUSFFOEÏNBSSBHF
BVUPNBUJRVF *FU
reprendre la destruction
Le destructeur ne démarre pas :
7ÏSJGJFSRVFMBDPSCFJMMFFTUCJFOFOGPODÏF
"UUFOESFøNJOVUFTQPVSMBJTTFSMFNPUFVS
refroidir
7ÏSJGJFSRVFMFWFSSPVJMMBHF
EFTÏDVSJUÏFTUFOQPTJUJPO
EÏWFSSPVJMMBHF
DS-700C
7
1
4
5
3
2
6
-FWFSSPVJMMBHFEFTÏDVSJUÏQSÏWJFOUUPVUSJTRVFEFGPODUJPOOFNFOUBDDJEFOUFM
1PVSSÏHMFSBUUFOESFRVFMFEÏDIJRVFUBHFThBSSÐUFQPVTTFSMFCPVUPOOPJSWFSTMFCBTQVJTMF
HMJTTFSWFSTMhBWBOUEVEFTUSVDUFVS
1PVSEÏWFSSPVJMMFSQPVTTFSMFCPVUPOOPJSWFSTMFCBTQVJTMFHMJTTFSWFSTMhBSSJÒSFEVEFTUSVDUFVS1PVSQMVTEFTÏDVSJUÏUPVKPVSTEÏCSBODIFSMF
destructeur après utilisation.
DS-700C
7
3
1
2
ATTENTION
*N’utiliser que de l’huile végétale dans un conteneur à long col sans aérosol telle que l’huile Fellowes 35250
Tout destructeur à coupe croisée nécessite de l’huile
pour assurer des performances optimales. S’il n’est
pas huilé, l’appareil pourrait avoir une capacité
réduite, émettre des bruits désagréables lors de la
destruction et, finalement, s’arrêter de fonctionner.
Afin d’éviter ces problèmes, nous recommandons de
graisser le destructeur à chaque fois que la corbeille
est vidée.
GRAISSAGE DU DESTRUCTEUR
SUIVRE LA PROCÉDURE DE GRAISSAGE CI-DESSOUS ET LA RÉPÉTER DEUX FOIS
* Mettre de l’huile en
travers de l’insertion
Mettre en position
Arrêt (O)
Mettre en position
marche arrière (R)
pendant 2-3 secondes
Consulter la section d’assistance (Support Section) sur le site www.fellowes.com ou la dernière page du manuel pour obtenir les numéros de téléphone utiles.