Посудомоечные машины Zanussi ZDS 105 - инструкция пользователя по применению, эксплуатации и установке на русском языке. Мы надеемся, она поможет вам решить возникшие у вас вопросы при эксплуатации техники.
Если остались вопросы, задайте их в комментариях после инструкции.
"Загружаем инструкцию", означает, что нужно подождать пока файл загрузится и можно будет его читать онлайн. Некоторые инструкции очень большие и время их появления зависит от вашей скорости интернета.

49
Konserwacja i czyszczenie
System fi ltrów
Filtry zapobiegaj
ą
przedostaniu si
ę
do wn
ę
trza pompy
resztek jedzenia lub innych przedmiotów. Pozosta
ł
o
ś
ci te
mog
ą
czasami spowodowa
ć
zatkanie fi ltrów. System fi ltrów
sk
ł
ada si
ę
z fi ltra zgrubnego, fi ltra p
ł
askiego (fi ltr g
ł
ówny) oraz
mikrofi ltra (fi ltr dok
ł
adnego oczyszczania).
2
3
Filtr g
ł
ówny
1
Resztki
ż
ywno
ś
ci i zabrudzenia wy
ł
apane przez ten fi ltr s
ą
rozdrabniane przez specjaln
ą
dysz
ę
umieszczon
ą
na dolnym
ramieniu spryskuj
ą
cym i kierowane do odp
ł
ywu.
Filtr zgrubny
2
Wi
ę
ksze elementy, które mog
ł
yby zatka
ć
odp
ł
yw (np. kawa
ł
ki
ko
ś
ci lub szk
ł
a), s
ą
zatrzymywane przez fi ltr zgrubny. Aby
usun
ąć
zanieczyszczenia z tego fi ltra, nale
ż
y lekko
ś
cisn
ąć
zaczepy znajduj
ą
ce si
ę
w jego górnej cz
ęś
ci i wyj
ąć
go.
Filtr dok
ł
adnego oczyszczania
3
Filtr ten zatrzymuje zanieczyszczenia i resztki
ż
ywno
ś
ci
w osadniku i zapobiega ich ponownemu osadzaniu si
ę
na
zmywanych naczyniach.
Zaleca si
ę
sprawdzanie stanu fi ltrów po ka
ż
dym u
ż
yciu
zmywarki. Po odkr
ę
ceniu fi ltra zgrubnego mo
ż
na
wymontowa
ć
ca
ł
y zespó
ł
fi ltrów. Usun
ąć
wszystkie resztki
ż
ywno
ś
ci i oczy
ś
ci
ć
fi ltry pod bie
żą
c
ą
wod
ą
po uprzednim
wykonaniu nast
ę
puj
ą
cych czynno
ś
ci:
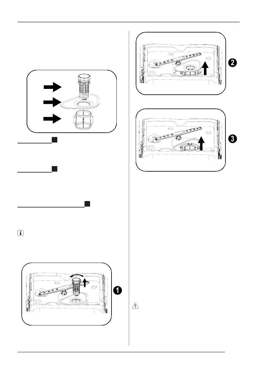
Krok 1. Odkr
ę
ci
ć
fi ltr zgrubny w kierunku przeciwnym do
ruchu wskazówek zegara i wyj
ąć
go.
Krok 2. Wyj
ąć
fi ltr g
ł
ówny.
Krok 3. Wyj
ąć
fi ltr dok
ł
adnego oczyszczania.
Zespó
ł
fi ltrów
Aby zapewni
ć
jak najlepsze efekty zmywania, konieczne
jest czyszczenie zespo
ł
u fi ltrów. Filtry skutecznie zatrzymuj
ą
resztki
ż
ywno
ś
ci niesione przez wod
ę
, dzi
ę
ki czemu mo
ż
liwa
jest jej cyrkulacja w trakcie programu zmywania. Z tego
powodu zaleca si
ę
usuwanie wi
ę
kszych zanieczyszcze
ń
nagromadzonych w fi ltrze po ka
ż
dym programie zmywania
poprzez op
ł
ukanie fi ltra pod bie
żą
c
ą
wod
ą
. W celu
wymontowania zespo
ł
u fi ltrów nale
ż
y odkr
ę
ci
ć
fi ltr zgrubny
w kierunku przeciwnym do ruchu wskazówek zegara i wyj
ąć
go. Czyszczenie ca
ł
ego zespo
ł
u fi ltrów powinno odbywa
ć
si
ę
raz w tygodniu. Do czyszczenia fi ltra zgrubnego i fi ltra
dok
ł
adnego oczyszczania nale
ż
y u
ż
ywa
ć
szczotki do mycia
naczy
ń
. Nast
ę
pnie nale
ż
y umie
ś
ci
ć
poszczególne elementy
systemu fi ltrów na swoim miejscu i zamontowa
ć
je (patrz
rozdzia
ł
„System fi ltrów”). Zmywarki nie wolno u
ż
ywa
ć
bez
fi ltrów. Nieprawid
ł
owe zamontowanie fi ltra mo
ż
e spowodowa
ć
pogorszenie skuteczno
ś
ci dzia
ł
ania urz
ą
dzenia oraz
uszkodzenie naczy
ń
i przyborów kuchennych.
Nigdy nie uruchamia
ć
zmywarki bez prawid
ł
owo
zamontowanych fi ltrów. Podczas czyszczenia fi ltrów nie
uderza
ć
w nie. W przeciwnym razie mo
ż
e doj
ść
do ich
odkszta
ł
cenia i w efekcie do pogorszenia skuteczno
ś
ci
dzia
ł
ania zmywarki.