Посудомоечные машины Zanussi ZDS 105 - инструкция пользователя по применению, эксплуатации и установке на русском языке. Мы надеемся, она поможет вам решить возникшие у вас вопросы при эксплуатации техники.
Если остались вопросы, задайте их в комментариях после инструкции.
"Загружаем инструкцию", означает, что нужно подождать пока файл загрузится и можно будет его читать онлайн. Некоторые инструкции очень большие и время их появления зависит от вашей скорости интернета.

36
ільтри
не
дозволяють
потрапляти
в
насос
великим
залишкам
їжі
та
іншим
предметам
.
Час
від
часу
фільтри
можуть
забиватися
.
Система
фільтрів
складається
з
фільтра
грубого
очищення
,
плоского
фільтра
(
основний
фільтр
)
і
мікрофільтра
(
фільтр
тонкої
очистки
).
2
3
Основний
фільтр
1
Часточки
їжі
та
ґрунту
,
які
затримуються
цим
фільтром
,
подрібнюються
спеціальним
струменем
нижнього
розпилювача
і
змиваються
в
каналізацію
.
ільтр
грубого
очищення
2
Більші
предмети
(
наприклад
,
шматки
кісток
або
скла
),
що
можуть
заблокувати
каналізацію
,
залишаються
на
фільтрі
грубого
очищення
.
Щоб
очистити
цей
фільтр
,
злегка
стисніть
кришку
фільтра
і
підніміть
його
.
ільтр
тонкого
очищення
3
Цей
фільтр
утримує
залишки
ґрунту
та
їжі
в
спеціальному
відстійнику
і
не
дозволяє
їм
знову
потрапити
на
посуд
під
час
миття
.
Після
кожного
використання
посудомийної
машини
перевіряйте
,
чи
не
забилися
фільтри
.
Можна
зняти
систему
фільтрів
,
відкрутивши
фільтр
грубого
очищення
.
Видаліть
усі
залишки
їжі
й
промийте
фільтри
проточною
водою
.
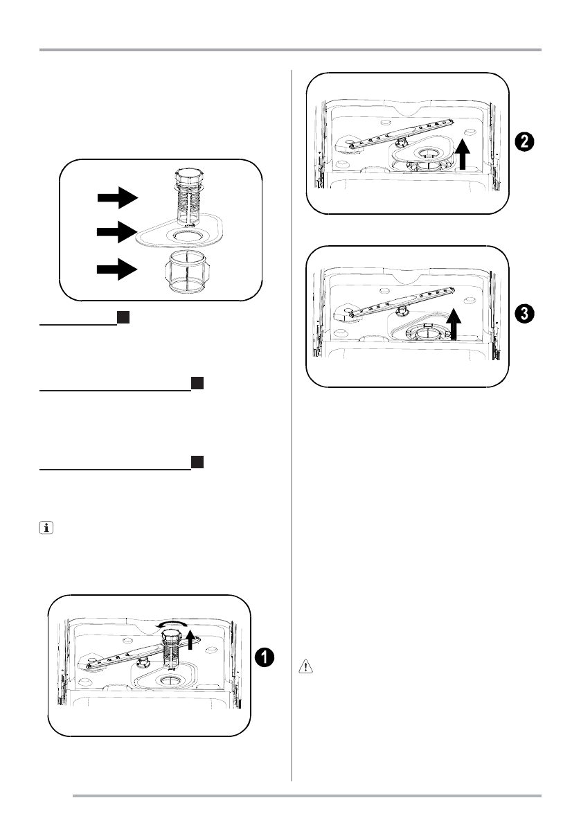
Дія
1.
Поверніть
фільтр
грубого
очищення
проти
годинникової
стрілки
і
підніміть
його
.
Дія
2.
Підніміть
основний
фільтр
.
Дія
3.
Підніміть
фільтр
тонкого
очищення
.
Для
покращення
ефективності
й
результатів
миття
фільтрувальний
вузол
слід
очищувати
.
ільтр
ефективно
уловлює
залишки
їжі
з
води
для
миття
,
дозволяючи
використовувати
її
повторно
протягом
виконання
програми
.
Через
це
рекомендується
після
кожного
циклу
миття
видаляти
з
фільтра
великі
часточки
їжі
,
промиваючи
його
проточною
водою
.
Щоб
зняти
фільтрувальний
вузол
,
поверніть
фільтр
грубого
очищення
проти
годинникової
стрілки
і
підніміть
його
.
Один
раз
на
тиждень
слід
чистити
весь
фільтрувальний
вузол
.
Для
чищення
фільтрів
грубого
і
тонкого
очищення
використовуйте
щіточку
.
Потім
встановіть
фільтри
на
місце
і
складіть
всю
систему
фільтрів
(
див
.
розділ
«
Система
фільтрів
»).
Забороняється
використовувати
посудомийну
машину
без
фільтрів
.
Неправильне
встановлення
фільтра
може
призвести
до
погіршення
результатів
миття
та
пошкодження
посуду
.
В
жодному
разі
не
вмикайте
посудомийну
машину
без
встановлених
фільтрів
.
Не
стукайте
по
фільтрах
під
час
очищення
.
Це
може
спричинити
деформацію
фільтрів
і
погіршення
результатів
роботи
посудомийної
машини
.