Плита Electrolux EKK 61500 OW - инструкция пользователя по применению, эксплуатации и установке на русском языке. Мы надеемся, она поможет вам решить возникшие у вас вопросы при эксплуатации техники.
Если остались вопросы, задайте их в комментариях после инструкции.
"Загружаем инструкцию", означает, что нужно подождать пока файл загрузится и можно будет его читать онлайн. Некоторые инструкции очень большие и время их появления зависит от вашей скорости интернета.

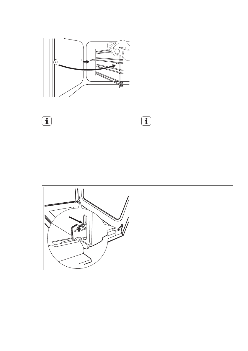
11.1 Снятие направляющих для противня
2
1
Для очистки боковых стенок духового шкафа
направляющие для противня можно снять.
1.
Потяните переднюю часть направляю‐
щей для противня в сторону, противопо‐
ложную боковой стенке.
2.
Вытяните заднюю часть направляющей
для противня из боковой стенки и сними‐
те ее.
Установка направляющих для противня про‐
изводится в обратном порядке.
Закругленные концы направляющих
для противня должны быть направле‐
ны вперед.
11.2 Очистка дверцы духового
шкафа
В дверце духового шкафа имеются две сте‐
клянные панели. И дверца духового шкафа, и
внутренняя стеклянная панель снимаются для
чистки.
Дверца духового шкафа может за‐
хлопнуться при попытке извлечь
внутреннюю стеклянную панель, если
предварительно не снять дверцу.
Снятие дверцы духового шкафа и стеклянной панели
1.
Откройте дверцу до конца и возьмитесь
за обе петли.
РУССКИЙ
47
Содержание
- 30 УКАЗАНИЯ ПО БЕЗОПАСНОСТИ
- 34 Функциональные элементы варочной панели
- 35 ПЕРЕД ПЕРВЫМ ИСПОЛЬЗОВАНИЕМ; Предварительный нагрев; ВАРОЧНАЯ ПАНЕЛЬ - ЕЖЕДНЕВНОЕ ИСПОЛЬЗОВАНИЕ
- 36 Выключение горелки
- 37 ДУХОВОЙ ШКАФ - ЕЖЕДНЕВНОЕ ИСПОЛЬЗОВАНИЕ; Включение и выключение
- 38 Режимы духового шкафа
- 42 Режим конвекции
- 54 Защита от опрокидывания
- 55 Электрическое подключение; ОХРАНА ОКРУЖАЮЩЕЙ СРЕДЫ












