Плита Electrolux EKK 511510 X - инструкция пользователя по применению, эксплуатации и установке на русском языке. Мы надеемся, она поможет вам решить возникшие у вас вопросы при эксплуатации техники.
Если остались вопросы, задайте их в комментариях после инструкции.
"Загружаем инструкцию", означает, что нужно подождать пока файл загрузится и можно будет его читать онлайн. Некоторые инструкции очень большие и время их появления зависит от вашей скорости интернета.

Функція духовки
Призначення
Розморожування
Розморожування заморожених продуктів. Ручка термостата
має бути в положенні «вимкнено».
Таймер зворотного відліку
Служить для зворотного відліку часу.
Спершу поверніть ручку керування тай‐
мером зворотного відліку (див. розділ
«Опис виробу») до упору за годиннико‐
вою стрілкою. Потім встановіть потріб‐
ний час, повертаючи ручку проти годин‐
никової стрілки. Коли встановлений час
спливе, пролунає звуковий сигнал і при‐
лад автоматично вимкнеться. Поверніть
ручку керування таймером зворотного
відліку у положення , а перемикачі
функцій і ручку термостата духовки у по‐
ложення «вимкнено».
Щоб готувати без встановлення ча‐
су, поверніть ручку керування тайме‐
ром зворотного відліку у положення
.
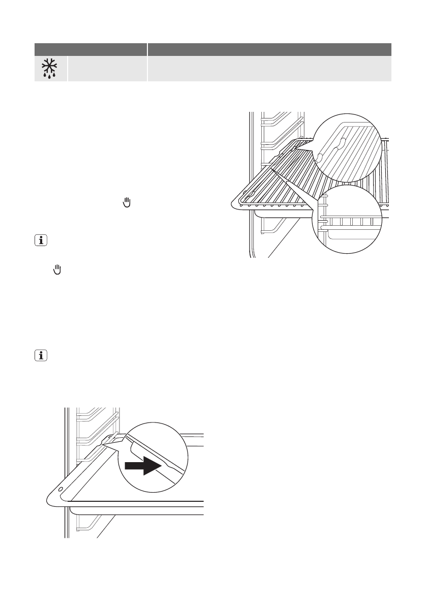
Вставлення приладдя у духовку
Вставте всувне приладдя таким чином,
аби подвійні краї знаходились ззаду ду‐
ховки та були направлені донизу. Про‐
штовхніть всувне приладдя між напрям‐
ними рейками одного з рівнів духовки.
Плоске деко для випікання та поли‐
чка духовки мають подвійні краї. Ці
краї та форма напрямних рейок за‐
безпечують безпеку від перекидан‐
ня для приладдя духовки.
Вставлення полички духовки і плоского
дека для випікання разом
Покладіть поличку духовки на плоске де‐
ко для випікання. Проштовхніть плоске
деко для випікання між напрямними од‐
ного з рівнів духовки.
electrolux
33












