Плита Gefest GS 32W633 - инструкция пользователя по применению, эксплуатации и установке на русском языке. Мы надеемся, она поможет вам решить возникшие у вас вопросы при эксплуатации техники.
Если остались вопросы, задайте их в комментариях после инструкции.
"Загружаем инструкцию", означает, что нужно подождать пока файл загрузится и можно будет его читать онлайн. Некоторые инструкции очень большие и время их появления зависит от вашей скорости интернета.

7
1200.00.0.000Д РЭ [23]
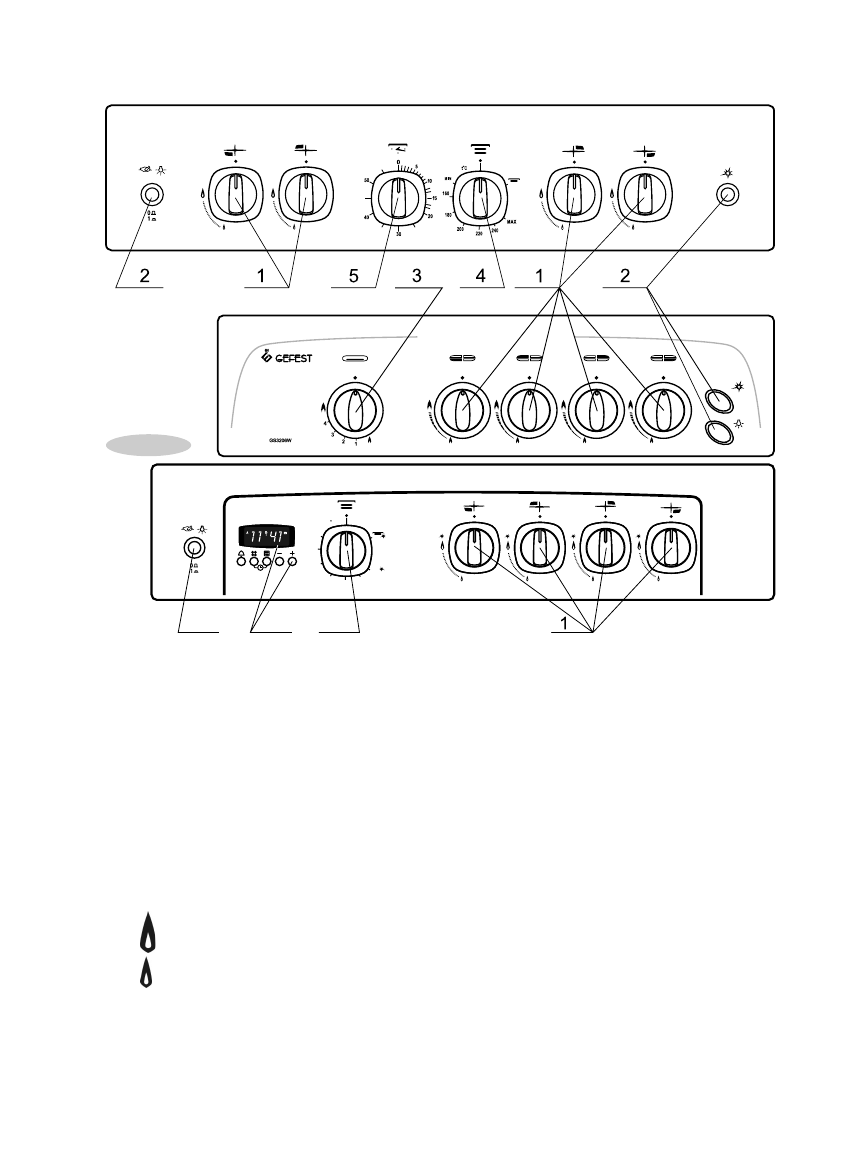
5.2 ПАНЕЛЬ УПРАВЛЕНИЯ
1. Ручки крана горелки варочной панели.
2. Кнопки электророзжига, включения освещения духовки и привода вертела.
3. Ручка крана основной горелки духовки.
4 Ручка терморегулятора основной горелки духовки и гриля.
5. Ручка таймера механического.
6. Таймер электронный.
Рис. 2
5.3 ГОРЕЛКИ ВАРОЧНОЙ ПАНЕЛИ
Варочная панель оснащена горелками различной мощности, что позволяет более
эффективно использовать их при приготовлении.
Управление горелк ами варочной панели осуществляется с помощью устройств
регулировки (кранов). Возле каждой ручки крана схематически изображена управляемая
им горелка.
Положение ручки крана обозначено символами
:
Закрыто
Большое пламя
Малое пламя
●
● Нельзя устанавливать ручки управления в диапазоне между положением “закрыто”
и “большое пламя”. В этом положении пламя нестабильно и может погаснуть.
●
● В некоторых моделях плит горелки оснащены устройством контроля пламени,
которое служит для прекращения подачи газа при погасании горелки. Для включения
этого устройства требуется, после розжига горелки, ручку управления удерживать в
нажатом состоянии несколько секунд.
t C
M I N
180
160
6
200
240
MAX
220
2
4
Характеристики
Остались вопросы?Не нашли свой ответ в руководстве или возникли другие проблемы? Задайте свой вопрос в форме ниже с подробным описанием вашей ситуации, чтобы другие люди и специалисты смогли дать на него ответ. Если вы знаете как решить проблему другого человека, пожалуйста, подскажите ему :)
Есть ли у газовой плиты GEFEST GS32W633 режим верх низ