Плита Gefest 5140 0031 - инструкция пользователя по применению, эксплуатации и установке на русском языке. Мы надеемся, она поможет вам решить возникшие у вас вопросы при эксплуатации техники.
Если остались вопросы, задайте их в комментариях после инструкции.
"Загружаем инструкцию", означает, что нужно подождать пока файл загрузится и можно будет его читать онлайн. Некоторые инструкции очень большие и время их появления зависит от вашей скорости интернета.

10
6140.00.0.000 РЭ [78]
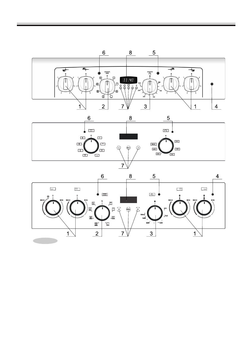
5.2 ПАНЕЛЬ УПРАВЛЕНИЯ
1.
Ручки переключателей конфорок.
2.
Ручка режимов работы духовки.
3.
Ручка терморегулятора духовки.
4.
Сигнальная лампочка включения конфорок.
5.
Сигнальная лампочка включения терморегулятора.
6.
Сигнальная лампочка включения духовки.
7.
Кнопки электронного таймера.
8.
Табло электронного таймера.
Электромеханический таймер (при его наличии) располагается на месте
электронного.
Рис. 3
Характеристики
Остались вопросы?Не нашли свой ответ в руководстве или возникли другие проблемы? Задайте свой вопрос в форме ниже с подробным описанием вашей ситуации, чтобы другие люди и специалисты смогли дать на него ответ. Если вы знаете как решить проблему другого человека, пожалуйста, подскажите ему :)