Pioneer VREC-100CH - Инструкция по эксплуатации

Pioneer VREC-100CH

Видеорегистратор Pioneer VREC-100CH - инструкция пользователя по применению, эксплуатации и установке на русском языке. Мы надеемся, она поможет вам решить возникшие у вас вопросы при эксплуатации техники.

Если остались дополнительные вопросы — свяжитесь с нами через контактную форму.

1 Страница 1
2 Страница 2
3 Страница 3
4 Страница 4
5 Страница 5
6 Страница 6
7 Страница 7
8 Страница 8
9 Страница 9
10 Страница 10
11 Страница 11
12 Страница 12
13 Страница 13
14 Страница 14
15 Страница 15
Страница: / 15

Содержание:

  • Страница 2 – Видеорегистратор
  • Страница 3 – Подготовка к первому включению; Перед монтажом устройства; МЕРЫ ПРЕДОСТОРОЖНОСТИ; Рекомендации по установке; Перед монтажом и прикреплением устройства
  • Страница 5 – Настройка программного обеспечения:; » вверх для выбора требуемого языка,; Режим видеозаписи
  • Страница 6 – » или вниз «; Инструкция по использованию меню; Меню режима видеозаписи
  • Страница 7 – Меню режима фотосъемки
  • Страница 8 – Системные настройки
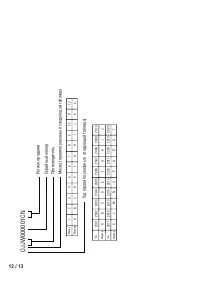
  • Страница 10 – или; Язык; Особенности продукта
  • Страница 11 – Технические характеристики
  • Страница 12 – Примечание; привязать к основанию
Загрузка инструкции

VREC-100CH Автомобильный
видеорегистратор

Инструкция по применению

"Загрузка инструкции" означает, что нужно подождать пока файл загрузится и можно будет его читать онлайн. Некоторые инструкции очень большие и время их появления зависит от вашей скорости интернета.

Краткое содержание

Страница 2 - Видеорегистратор

1 / 13 Видеорегистратор 1. Конструкция 1. Объектив камеры 2. Монтажное отверстие3. Кнопка выключения питания 4. Индикатор видеозаписи5. Решетка громкоговорителя 6. Индикатор питания 7. Дисплей8. Гнездо для карт памяти формата microSD 9. Разъем USB/DC_IN10. Кнопка сброса настроек 11. Выход ТВ 12. Кно...

Страница 3 - Подготовка к первому включению; Перед монтажом устройства; МЕРЫ ПРЕДОСТОРОЖНОСТИ; Рекомендации по установке; Перед монтажом и прикреплением устройства

2 / 13 Подготовка к первому включению Перед монтажом устройства МЕРЫ ПРЕДОСТОРОЖНОСТИ • Прежде всего проконсультируйтесь у изготовителя автомобиля относительно мер предосторожности, связанных с монтажом устройства в транспортном средстве, обо-рудованном подушками безопасности. Иначе существует риск ...

Страница 5 - Настройка программного обеспечения:; » вверх для выбора требуемого языка,; Режим видеозаписи

4 / 13 2. Для извлечения карты памяти слегка нажмите на ее нижнюю часть до щелчка, чтобы она спружинила, и аккуратно извлеките карту памяти кончиками пальцев. 3. Перед первым использованием карты памяти отформатируйте ее на этом устройстве. • Настройка программного обеспечения: Примечание: Поскольку...

Характеристики

Другие модели - Видеорегистраторы Pioneer

Все видеорегистраторы Pioneer