Мотоциклы HONDA VTX1800 - инструкция пользователя по применению, эксплуатации и установке на русском языке. Мы надеемся, она поможет вам решить возникшие у вас вопросы при эксплуатации техники.
Если остались вопросы, задайте их в комментариях после инструкции.
"Загружаем инструкцию", означает, что нужно подождать пока файл загрузится и можно будет его читать онлайн. Некоторые инструкции очень большие и время их появления зависит от вашей скорости интернета.

34
МЕХАНИЗМЫ И ОРГАНЫ УПРАВЛЕНИЯ
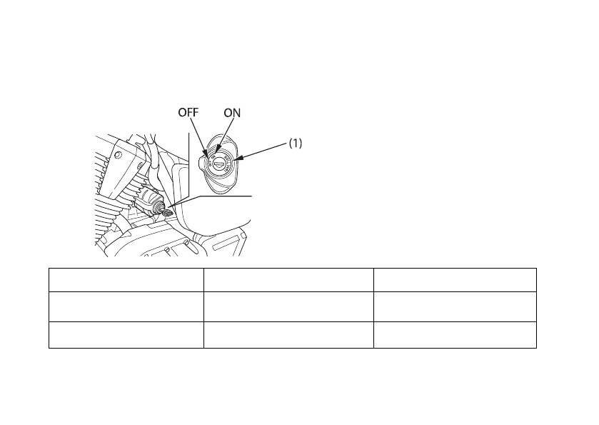
ЗАМОК ЗАЖИГАНИЯ
Замок зажигания (1) расположен в передней части левой
боковой панели.
Положение OFF (ВЫКЛ)
Положение ON (ВКЛ)
Положения ключа зажигания
Назначение
Извлечение ключа
Двигатель и приборы освещения
не могут быть включены.
Двигатель и приборы освещения
могут работать.
В этом положении ключ можно
извлечь из замка зажигания
В этом положении ключ нельзя
извлечь из замка зажигания
(1) Замок зажигания
