Мотоциклы HONDA VTX1800 - инструкция пользователя по применению, эксплуатации и установке на русском языке. Мы надеемся, она поможет вам решить возникшие у вас вопросы при эксплуатации техники.
Если остались вопросы, задайте их в комментариях после инструкции.
"Загружаем инструкцию", означает, что нужно подождать пока файл загрузится и можно будет его читать онлайн. Некоторые инструкции очень большие и время их появления зависит от вашей скорости интернета.

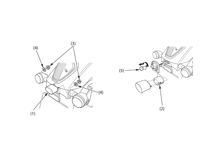
Лампа фонаря освещения регистрационного
знака
1. Снимите экран (1) фонаря и рассеиватель (2)
фонаря, отвернув две гайки (3) и сняв шайбы (4).
2. Слегка надавите на лампу (5) и поверните её
против часовой стрелки.
3. Установите новую лампу, выполняя операции
в обратном порядке.
(1) Экран фонаря
регистрационного знака
(3) Гайки
(2) Рассеиватель фонаря
регистрационного знака
(5) Лампа
(4) Шайбы
98
