Мотоциклы HONDA VTX1800 - инструкция пользователя по применению, эксплуатации и установке на русском языке. Мы надеемся, она поможет вам решить возникшие у вас вопросы при эксплуатации техники.
Если остались вопросы, задайте их в комментариях после инструкции.
"Загружаем инструкцию", означает, что нужно подождать пока файл загрузится и можно будет его читать онлайн. Некоторые инструкции очень большие и время их появления зависит от вашей скорости интернета.

16
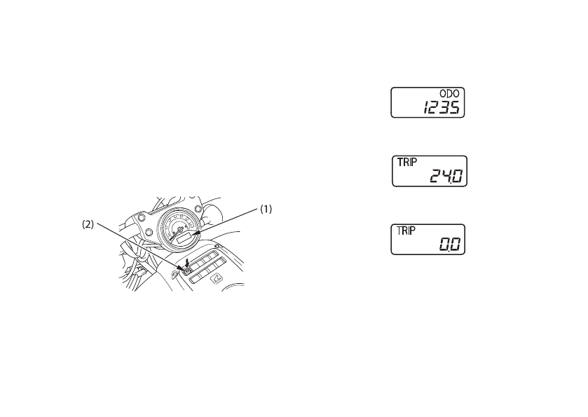
Дисплей одометра / указателя
пробега за поездку
Дисплей (1) имеет две функции: одометра и
указателя пробега за поездку.
Нажмите кнопку (2) для выбора режимов
"Одометр" ("ODO") или "Указатель пробега
за поездку" ("TRIP")
Для сброса показаний указателя пробега за
поездку необходимо в режиме "Указатель
пробега за поездку ("TRIP") нажать и
удерживать кнопку.
(1) Дисплей одометра / указателя пробега
за поездку
(2) Кнопка выбора "одометр / указатель пробега
за поездку" и обнуления показаний
Одометр
Указатель
пробега за
поездку
Сброс показаний
указателя пробега
за поездку
