Мотоциклы HONDA VTX1800 - инструкция пользователя по применению, эксплуатации и установке на русском языке. Мы надеемся, она поможет вам решить возникшие у вас вопросы при эксплуатации техники.
Если остались вопросы, задайте их в комментариях после инструкции.
"Загружаем инструкцию", означает, что нужно подождать пока файл загрузится и можно будет его читать онлайн. Некоторые инструкции очень большие и время их появления зависит от вашей скорости интернета.

17
ОСНОВНЫЕ АГРЕГАТЫ
(Информация, необходимая для управления
мотоциклом)
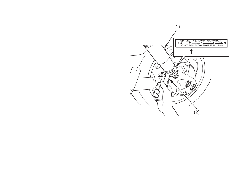
ПОДВЕСКА
Каждый амортизатор (1) имеет 5 положений
для различных нагрузок и условий движения.
Используйте специальный гаечный ключ (2)
для регулировки задних амортизаторов.
Всегда регулируйте установки амортизатора в
последовательности (1A2A3A4A5 или 5A4A3A2A1).
Попытка установить напрямую из положения 1
в положение 5 или наоборот может вывести
амортизатор из строя. Положение 1 соответA
ствует малой нагрузке и предназначено для
езды по ровному покрытию. Положения от 3
до 5 усиливают предварительное сжатие
пружины для увеличения жёсткости задней
подвески и могут использоваться при больших
нагрузках на мотоцикл. Оба амортизатора
должны быть настроены на одинаковое
значение жесткости.
Номинальное положение регулировки: 2
(1) Амортизатор
(2) Специальный ключ
