Мотоциклы HONDA VFR800 2009 - инструкция пользователя по применению, эксплуатации и установке на русском языке. Мы надеемся, она поможет вам решить возникшие у вас вопросы при эксплуатации техники.
Если остались вопросы, задайте их в комментариях после инструкции.
"Загружаем инструкцию", означает, что нужно подождать пока файл загрузится и можно будет его читать онлайн. Некоторые инструкции очень большие и время их появления зависит от вашей скорости интернета.

ÊÎÆÓÕ Ç
ÇÀÄÍÅÃÎ Ñ
ÑÅÄËÀ
Äëÿ ñíÿòèÿ / óñòàíîâêè êîæóõà çàäíåãî ñåäëà
îáðàòèòåñü ê îôèöèàëüíîìó äèëåðó Honda.
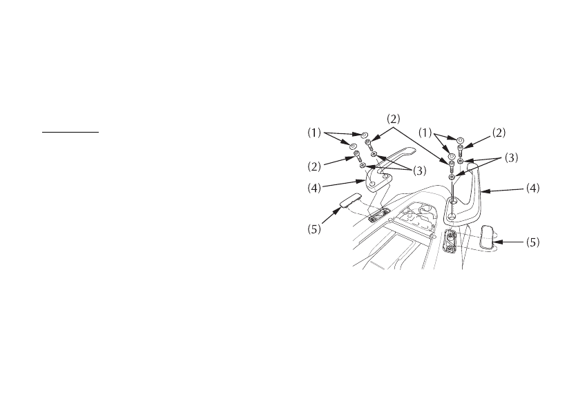
Óñòàíîâêà:
1. Ñíèìèòå ñåäëî (ñòð. 58).
2. Ñíèìèòå êîëïà÷êè (1), âûêðóòèòå áîëòû (2) è
øàéáû (3).
3. Ñíèìèòå çàäíèå êðîíøòåéíû (4).
4. Óñòàíîâèòå çàãëóøêè êðîíøòåéíîâ (5).
(1) Êîëïà÷êè
(2) Áîëòû
(3) Øàéáû
(4) Êðîíøòåéíû
(5) Çàãëóøêè êðîíøòåéíîâ
62