Мотоциклы HONDA VFR800 2009 - инструкция пользователя по применению, эксплуатации и установке на русском языке. Мы надеемся, она поможет вам решить возникшие у вас вопросы при эксплуатации техники.
Если остались вопросы, задайте их в комментариях после инструкции.
"Загружаем инструкцию", означает, что нужно подождать пока файл загрузится и можно будет его читать онлайн. Некоторые инструкции очень большие и время их появления зависит от вашей скорости интернета.

ÎÐÃÀÍÛ Ó
ÓÏÐÀÂËÅÍÈß Ë
ËÅÂÎÉ
ÐÓÊÎßÒÊÈ Ð
ÐÓËß
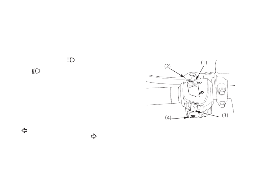
Ïåðåêëþ÷àòåëü ááëèæíåãî èè ääàëüíåãî ññâåòà
ôàðû ((1)
Íàæìèòå íà ñòîðîíó «HI» êëàâèøè ïåðåêëþ-
÷àòåëÿ äëÿ âêëþ÷åíèÿ äàëüíåãî ñâåòà èëè íà ñòî-
ðîíó «LO» äëÿ âêëþ÷åíèÿ áëèæíåãî ñâåòà.
Âûêëþ÷àòåëü ïïîäà÷è ññèãíàëîâ ääàëüíèì ññâå-
òîì ô
ôàðû ((2)
Ïðè íàæàòèè íà êíîïêó ýòîãî âûêëþ÷àòåëÿ ôà-
ðà ìèãàåò, ïîäàâàÿ ñèãíàëû ïðèáëèæàþùèìñÿ
èëè îáãîíÿåìûì àâòîìîáèëÿì.
Âûêëþ÷àòåëü óóêàçàòåëÿ ïïîâîðîòîâ ((3)
Ïåðåäâèíüòå âûêëþ÷àòåëü âëåâî, â ïîëîæåíèå
«L», äëÿ âêëþ÷åíèÿ ëåâîãî óêàçàòåëÿ ïîâî-
ðîòà, èëè âïðàâî, â ïîëîæåíèå «R» äëÿ âêëþ-
÷åíèÿ ïðàâîãî óêàçàòåëÿ ïîâîðîòà. Äëÿ âûêëþ-
÷åíèÿ óêàçàòåëÿ ïîâîðîòà íàæìèòå íà âûêëþ÷à-
òåëü.
Êíîïêà ççâóêîâîãî ññèãíàëà ((4)
Íàæìèòå íà êíîïêó äëÿ âêëþ÷åíèÿ çâóêîâîãî
ñèãíàëà.
(1) Ïåðåêëþ÷àòåëü áëèæíåãî è äàëüíåãî ñâåòà
ôàðû
(2) Âûêëþ÷àòåëü ïîäà÷è ñèãíàëîâ äàëüíèì ñâå-
òîì ôàðû
(3) Âûêëþ÷àòåëü óêàçàòåëÿ ïîâîðîòîâ.
(4) Êíîïêà çâóêîâîãî ñèãíàëà
56