Мотоциклы HONDA VFR800 2009 - инструкция пользователя по применению, эксплуатации и установке на русском языке. Мы надеемся, она поможет вам решить возникшие у вас вопросы при эксплуатации техники.
Если остались вопросы, задайте их в комментариях после инструкции.
"Загружаем инструкцию", означает, что нужно подождать пока файл загрузится и можно будет его читать онлайн. Некоторые инструкции очень большие и время их появления зависит от вашей скорости интернета.

ÊÎÌÏËÅÊÒ È
ÈÍÑÒÐÓÌÅÍÒÀ
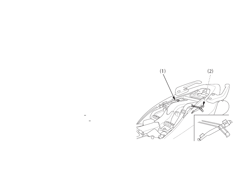
Êîìïëåêò èíñòðóìåíòà (1) ðàñïîëîæåí ïîä ñåä-
ëîì (ñòð. 58). Ñ ïîìîùüþ èíñòðóìåíòà èç êîìï-
ëåêòà ìîæíî âûïîëíèòü íåêîòîðûå îïåðàöèè ðå-
ìîíòà è íåñëîæíûå ðåãóëèðîâêè â äîðîãå.
Ñîäåðæàíèå êîìïëåêòà
•
Èíñòðóìåíòàëüíàÿ ñóìêà
•
Íàêèäíîé êëþ÷ 10 Õ 12 ìì
•
Íàêèäíîé êëþ÷ 14 Õ 17 ìì
•
Ñâå÷íîé êëþ÷
•
Òîðöîâûé êëþ÷ 5 ìì
•
Òîðöîâûé êëþ÷ 6 ìì
•
Ðîæêîâûé êëþ÷ 8 Õ 12 ìì
•
Ðîæêîâûé êëþ÷ 10 Õ 14 ìì
•
Ïëîñêîãóáöû
•
Êðåñòîîáðàçíàÿ îòâåðòêà
N
o
2
•
Îòâåðòêà ñ ïëîñêèì æàëîì
N
o
2
•
Ðóêîÿòêà îòâåðòêè
•
Íàêèäíîé êëþ÷ 8 ìì
•
Ùóï-êàëèáð 0,7 ìì
•
Øòèôòîâûé êëþ÷
(äëÿ ðåãóëèðîâêè ïðèâîäíîé öåïè)
•
Øòèôòîâûé êëþ÷
(äëÿ ðåãóëèðîâêè çàäíåé ïîäâåñêè)
(VFR)
Òàêæå ê ìîòîöèêëó ïðèëàãàþòñÿ ñëåäóþùèå
èíñòðóìåíòû.
•
Óäëèíèòåëü
(1) Êîìïëåêò èíñòðóìåíòà
(2) Óäëèíèòåëü
89