HONDA VFR800 2009 - Инструкция по эксплуатации - Страница 129

Мотоциклы HONDA VFR800 2009 - инструкция пользователя по применению, эксплуатации и установке на русском языке. Мы надеемся, она поможет вам решить возникшие у вас вопросы при эксплуатации техники.

Если остались вопросы, задайте их в комментариях после инструкции.

"Загружаем инструкцию", означает, что нужно подождать пока файл загрузится и можно будет его читать онлайн. Некоторые инструкции очень большие и время их появления зависит от вашей скорости интернета.
Страница:
/ 161
Загружаем инструкцию
background image

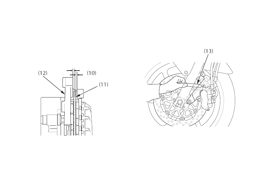
7. Èçìåðüòå çàçîð (10) ìåæäó êàæäîé èç ïîâåðõ-

íîñòåé ëåâîãî òîðìîçíîãî äèñêà (11) è êîðïó-

ñîì ëåâîãî òîðìîçíîãî ñóïïîðòà (12) (íå òîð-

ìîçíûìè êîëîäêàìè) ñ ïîìîùüþ ùóïà íà 0,7

ìì (13) (ñì. ðèñóíîê).

(10) Çàçîð

(12) Êîðïóñ ñóïïîðòà

(11) Òîðìîçíîé äèñê

(13) Ùóï

117

Полезные видео

Характеристики

Оцените статью
tehnopanorama.ru
Остались вопросы?

Не нашли свой ответ в руководстве или возникли другие проблемы? Задайте свой вопрос в форме ниже с подробным описанием вашей ситуации, чтобы другие люди и специалисты смогли дать на него ответ. Если вы знаете как решить проблему другого человека, пожалуйста, подскажите ему :)

Задать вопрос

Часто задаваемые вопросы
Как посмотреть инструкцию к HONDA VFR800 2009?
Необходимо подождать полной загрузки инструкции в сером окне на данной странице
Руководство на русском языке?
Все наши руководства представлены на русском языке или схематично, поэтому вы без труда сможете разобраться с вашей моделью
Как скопировать текст из PDF?
Чтобы скопировать текст со страницы инструкции воспользуйтесь вкладкой "HTML"