Мониторы Xiaomi Mi Desktop - инструкция пользователя по применению, эксплуатации и установке на русском языке. Мы надеемся, она поможет вам решить возникшие у вас вопросы при эксплуатации техники.
Если остались вопросы, задайте их в комментариях после инструкции.
"Загружаем инструкцию", означает, что нужно подождать пока файл загрузится и можно будет его читать онлайн. Некоторые инструкции очень большие и время их появления зависит от вашей скорости интернета.

106
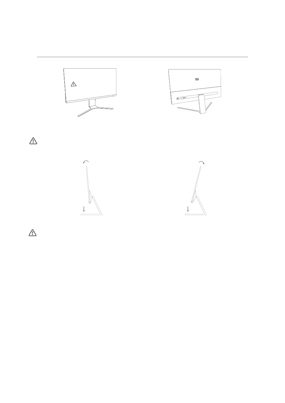
Nie naciskać ekranu.
5. Użyć obu rąk, aby ostrożnie wyjąć w pełni zmontowany monitor i umieścić go na płaskiej, stabilnej
powierzchni.
Uwaga: Aby uniknąć uszkodzenia ekranu LCD, nie należy naciskać go podczas ustawiania.
W przód 5°
W tył 21°
6. Dostosować kąty nachylenia do przodu lub do tyłu w zależności od potrzeb.
Uwaga: Podczas regulacji kątów jedną ręką należy przytrzymywać podstawę, a drugą ustawiać monitor.
W przeciwnym razie monitor może upaść.
Содержание
- 68 Описание изделия; Описание монитора
- 69 Установка; Установка подставки
- 71 Инструкции; Подключения
- 72 Включение и выключение
- 73 Описание меню
- 75 Меры предосторожности
- 76 Устранение неполадок
- 77 Технические характеристики
- 78 Здоровое зрение; Описание режима Low Blue Light
- 79 Информация о соответствии требованиям
Характеристики
Остались вопросы?Не нашли свой ответ в руководстве или возникли другие проблемы? Задайте свой вопрос в форме ниже с подробным описанием вашей ситуации, чтобы другие люди и специалисты смогли дать на него ответ. Если вы знаете как решить проблему другого человека, пожалуйста, подскажите ему :)