Микроволновые печи Samsung GE88SUG - инструкция пользователя по применению, эксплуатации и установке на русском языке. Мы надеемся, она поможет вам решить возникшие у вас вопросы при эксплуатации техники.
Если остались вопросы, задайте их в комментариях после инструкции.
"Загружаем инструкцию", означает, что нужно подождать пока файл загрузится и можно будет его читать онлайн. Некоторые инструкции очень большие и время их появления зависит от вашей скорости интернета.

10
Українська
Догляд
Догляд
Чищення
Чистьте піч регулярно, що уникнути накопичення бруду на поверхні або всередині печі. Звертайте увагу на
дверцята, ущільнювачі дверцят, скляну тарілку та роликову опору (лише для відповідних моделей).
Якщо дверцята не відкриваються чи не закриваються належним чином, спершу перевірте, чи не накопичився
бруд на ущільнювачі дверцят. Для чищення внутрішньої та зовнішньої поверхні печі використовуйте м’яку
ганчірку, змочену в мильній воді. Сполосніть і ретельно висушіть піч.
Видалення стійких забруднень із неприємним запахом усередині печі
1.
Поставте горнятко з розведеним лимонним соком посередині скляної тарілки порожньої печі.
2.
Нагрівайте піч 10 хвилин за максимального рівня потужності.
3.
Після завершення циклу зачекайте, поки піч охолоне. Тоді відчиніть дверцята і почистьте камеру печі.
Чищення внутрішньої поверхні моделей з обертовим нагрівальним елементом
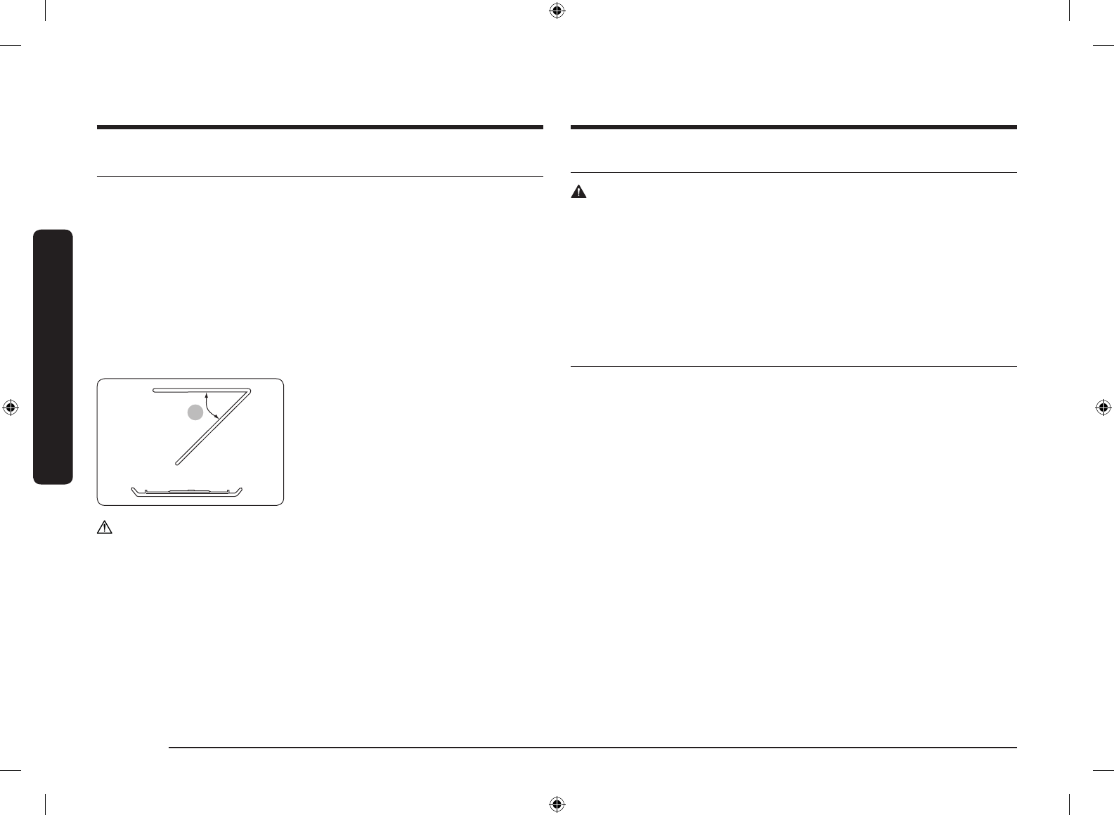
A
Щоб почистити верхню частину камери, опустіть верхній
нагрівальний елемент на 45°
(A)
, як показано на малюнку.
Так чистити верхню частину камери буде зручніше. Після
завершення чищення встановіть верхній нагрівальний
елемент на місце.
УВАГА
•
Підтримуйте дверцята і ущільнювач дверцят у чистоті і перевіряйте, чи належним чином відчиняються та
зачиняються дверцята. Інакше строк служби печі може бути коротшим.
•
Слідкуйте, щоб не пролити воду у вентиляційні отвори печі.
•
Не використовуйте для чищення печі абразивні або хімічні речовини.
•
Після кожного використання печі чистьте камеру м’яким миючим засобом, коли піч охолоне.
Заміна (ремонт)
ПОПЕРЕДЖЕННЯ
Ця піч не має внутрішніх частин, які може зняти користувач. Не намагайтеся замінити частину або
ремонтувати піч самотужки.
•
У разі виникнення проблем із завісами, ущільнювачем та/або дверцятами зверніться до кваліфікованого
техніка або в місцевий центр обслуговування Samsung щодо технічної підтримки.
•
З питань заміни лампочки звертайтеся до місцевого центру обслуговування Samsung. Не замінюйте її
самотужки.
•
У разі виникнення проблем із корпусом печі спершу від’єднайте кабель живлення від розетки, а тоді
зверніться в місцевий центр обслуговування Samsung.
Догляд за пристроєм у разі тривалого простою
Якщо ви не використовуватимете піч тривалий час, від’єднайте кабель живлення від розетки і перемістіть піч
у сухе, незапилене місце. Пил і волога, які накопичуються всередині печі, можуть негативно вплинути на її
роботу.
GE88SUB_BW_DE68-04559A-01_RU+UK+KK+UZ.indb 10
2/18/2019 5:32:41 PM
Содержание
- 3 Инструкции по технике безопасности; ВАЖНЫЕ ИНСТРУКЦИИ ПО ТЕХНИКЕ БЕЗОПАСНОСТИ; ПРЕДУПРЕЖДЕНИЕ
- 5 . Когда микроволновая печь работает в; . Внешние части устройства могут сильно нагреваться; . Во избежание поражения электрическим током; . Устройство и его детали могут сильно нагреваться; ВНИМАНИЕ; ! В процессе приготовления устройство должно находиться
- 6 Общие правила техники безопасности; Предупреждения по использованию микроволновой печи
- 7 Меры предосторожности при работе с микроволновой печью; Меры предосторожности при работе с микроволновыми приборами
- 8 Ограниченная гарантия
- 9 Установка; Принадлежности; Место установки
- 10 Обслуживание; Очистка; Удаление стойких загрязнений и неприятных запахов из печи; Уход в случае длительного неиспользования
- 11 Функции микроволновой печи; Печь
- 12 Использование микроволновой печи; Принцип работы микроволновой печи
- 13 Приготовление/Разогрев пищи; Уровни мощности
- 14 Настройка времени приготовления пищи; Настройка режима энергосбережения
- 15 Использование функции приготовления русских блюд; Мгновенное приготовление русских блюд/приготовление
- 21 Выбор дополнительных принадлежностей
- 22 Использование функции ускоренной автоматической разморозки; Параметры ускоренной разморозки
- 23 Приготовление в режиме гриля
- 24 Использование режима +30 СЕК Гриль
- 25 Руководство по выбору посуды
- 26 Руководство по приготовлению пищи; Микроволны; Кухонная посуда для микроволновой печи:
- 27 Руководство по приготовлению риса и макаронных изделий; Руководство по приготовлению свежих овощей
- 28 Разогрев пищи; Размещение пищи и использование крышки; Разогрев жидкостей
- 29 Разогрев детского питания и молока
- 30 Размораживание вручную
- 31 Гриль; Кухонные принадлежности для гриля:
- 33 Специальные советы
- 34 Устранение неисправностей; Устранение неисправностей
- 37 Технические характеристики; Примечание
- 131 Mikroto‘lqinli pech funksiyalari; Pech
Характеристики
Остались вопросы?Не нашли свой ответ в руководстве или возникли другие проблемы? Задайте свой вопрос в форме ниже с подробным описанием вашей ситуации, чтобы другие люди и специалисты смогли дать на него ответ. Если вы знаете как решить проблему другого человека, пожалуйста, подскажите ему :)