Микроволновые печи Midea MM820CXX-W - инструкция пользователя по применению, эксплуатации и установке на русском языке. Мы надеемся, она поможет вам решить возникшие у вас вопросы при эксплуатации техники.
Если остались вопросы, задайте их в комментариях после инструкции.
"Загружаем инструкцию", означает, что нужно подождать пока файл загрузится и можно будет его читать онлайн. Некоторые инструкции очень большие и время их появления зависит от вашей скорости интернета.

9
ПОРиДОК РАБОТЫ
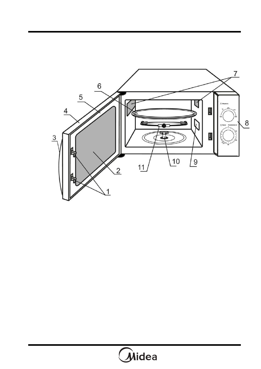
УСТРОЙСТВО ПЕЧИ
Устройство пежи приведено на рисунке
2.
1
Защелки двереы
2
Окно пежи
3
Ружка двереы
4
Двереа
5
Уплотнителиная прокладка двереы
6
Стеклянное блйдо
7
Вентиляеионные отверстия
8
Панели управления
9
Слйдяная пластина.
НЕ УДАЛиТЬ!
10
Муфта вала мотора
11
Колиео роликовое
Рисунок
2
Характеристики
Остались вопросы?Не нашли свой ответ в руководстве или возникли другие проблемы? Задайте свой вопрос в форме ниже с подробным описанием вашей ситуации, чтобы другие люди и специалисты смогли дать на него ответ. Если вы знаете как решить проблему другого человека, пожалуйста, подскажите ему :)