Микроволновые печи Electrolux KMFE172TEX - инструкция пользователя по применению, эксплуатации и установке на русском языке. Мы надеемся, она поможет вам решить возникшие у вас вопросы при эксплуатации техники.
Если остались вопросы, задайте их в комментариях после инструкции.
"Загружаем инструкцию", означает, что нужно подождать пока файл загрузится и можно будет его читать онлайн. Некоторые инструкции очень большие и время их появления зависит от вашей скорости интернета.

90
www.electrolux.com
6.
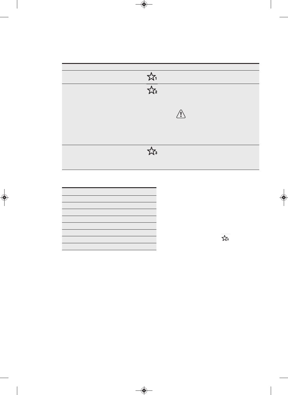
Ēdienkarte
Izlase
Svars
Poga
Darbības
Sviesta kausēšana 0,05-0,25 kg
• ievietojiet sviestu pireksa traukā.
pēc gatavošanas kārtīgi samaisiet.
šokolādes
kausēšana
0,1-0,2 kg
• Salauziet šokolādi mazos gabalos.
ievietojiet šokolādi pireksa traukā.
Samaisiet, kad atskan skaņas signāls.
pēc gatavošanas kārtīgi samaisiet.
BRĪDINĀJUMS:
šokolāde var
būt ļoti karsta! ja šokolādei
nepieciešams ilgāks gatavošanas
laiks, pievienojiet 10 sekundes.
ar šokolādi rīkojieties ļoti uzmanīgi,
jo tā var radīt apdegumus.
kūka kafijas
krūzēs
1-4 krūzēs
• pagatavojiet kūku, kā norādīts receptē.
novietojiet kūku uz rotējošās pamatnes
malas. pēc pagatavošanas ļaujiet 30
sekundes atdzist.
6.1
izlase
6.2
kūkas kafijas krūzē receptes
metode:
1.
visas sausās sastāvdaļas ievietojiet
traukā un kārtīgi samaisiet.
2.
pievienojiet augu eļļu, vaniļas ekstraktu
un olas. kārtīgi samaisiet.
3.
trauku novietojiet rotējošās pamatnes
centrā.
4.
gatavojiet, izmantojot .
gatavošanas laikā kūka izlien no
trauka.
pēc gatavošanas ļaujiet 30 sekundes
atdzist.
dekorējiet ar šokolādes krēmu.
padoms: lai pagatavotu šokolādes
apelsīnu kūku kafijas krūzē, ievietojiet
vaniļas ekstraktu ar ½ tējkaroti apelsīnu
ekstrakta.
Bagātīga šokolādes kūka kafijas
Sastāvdaļas 1 traukam:
2½ galda karotes (25 g) izsijātu miltu
2 galda karotes (12 g) kakao pulvera
2½ galda karotes (30 g) smalkā cukura
¼ tējkarotes
cepamā pulvera
1½ galda karotes (15 g) augu eļļas
¼ tējkarotes
vaniļas ekstrakta
1
vidēja lieluma ola
4_ELECTROLUX_Latvian_CS_BASE_AJ26UICTO_SAFETYMAY19_Layout 1 09/11/2018 10:48 Page 90
Содержание
- 127 содерЖанИе; поддерЖка потребИтелей И сервИсное
- 128 ИнструкцИИ по безопасностИ
- 130 уход и очистка
- 133 установка; безопасная эксплуатация
- 134 установка оборудования
- 135 подключение устройства к
- 136 дополнительный совет
- 137 аксессуары; схема устройства
- 138 панель управления; перед первым ИспользованИем; подключение питания
- 139 работа
- 140 уровни мощности
- 143 рецепты; Избранные
- 147 автоматическая разморозка
- 149 приготовление из замороженного состояния
- 150 советы И подсказкИ
- 151 приготовление пищи в микроволновой печи
- 153 ЭкологИЧеская ИнформацИя
Характеристики
Остались вопросы?Не нашли свой ответ в руководстве или возникли другие проблемы? Задайте свой вопрос в форме ниже с подробным описанием вашей ситуации, чтобы другие люди и специалисты смогли дать на него ответ. Если вы знаете как решить проблему другого человека, пожалуйста, подскажите ему :)