Микроволновые печи Electrolux KMFE172TEX - инструкция пользователя по применению, эксплуатации и установке на русском языке. Мы надеемся, она поможет вам решить возникшие у вас вопросы при эксплуатации техники.
Если остались вопросы, задайте их в комментариях после инструкции.
"Загружаем инструкцию", означает, что нужно подождать пока файл загрузится и можно будет его читать онлайн. Некоторые инструкции очень большие и время их появления зависит от вашей скорости интернета.

16
www.electrolux.com
6.
Vodič za KuHaNjE
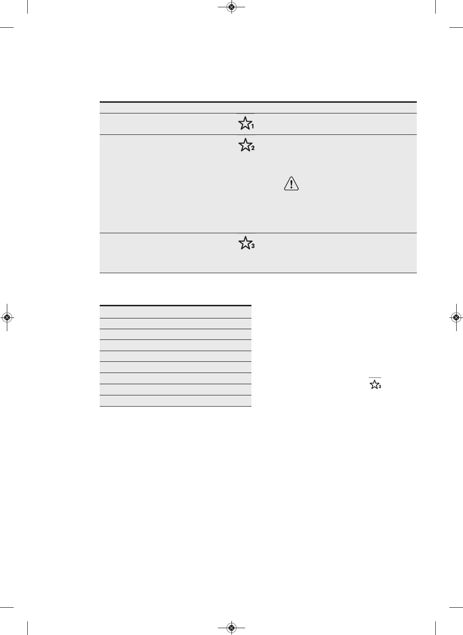
Omiljene stavke Težina
Gumb
Postupak
omekšavanje
maslaca
0,05-0,25 kg
• stavite maslac u vatrostalnu posudu..
dobro promiješajte nakon kuhanja.
Topljenje čokolade 0,1-0,2 kg
• čokoladu natrgajte na komadiće. stavite
ju u vatrostalnu posudu. Promiješajte ju
kad začujete zvučni signal. dobro
promiješajte nakon kuhanja.
UPOZORENJE!:
čokolada može
biti vrlo vruća! ako je čokoladu
potrebno kuhati duže, produžite
vrijeme kuhanja za 10 sekundi.
budite oprezni sa čokoladom jer
se može pregrijati i izgorjeti.
Kolač u šalici
1-4 šalice
• Kolač napravite prema receptu. Šalicu
stavite bliže rubu okretnog pladnja.
ostavite da se ohladi 30 sekundi nakon
kuhanja.
6.1
omiljene stavke
6.2
Recepti za kolač u šalici
Metoda:
1.
sve suhe sastojke stavite u šalicu i
dobro ih promiješajte uz pomoć vilice.
2.
dodajte biljno ulje, ekstrakt vanilije i
jaje te zatim sve dobro promiješajte.
3.
Šalicu stavite malo dalje od sredine
okretnog pladnja.
4.
Kuhajte tako da pritisnete . Kolač u
šalici će se dizati tijekom kuhanja.
Nakon kuhanja ostavite kolač da se ohladi
30 sekundi.
Kolač ukrasite čokoladnom glazurom.
savjet: ako želite napraviti kolač u šalici
od čokolade i naranče, ekstrakt od vanilije
zamijenite s 1/2 žličice ekstrakta od
naranče.
Bogat čokoladni kolač u šalici
sastojci za 1 šalicu:
2½ žlice (25 g) običnog brašna
2 žlice (12 g)
kakaa u prahu
2½ žlice (30 g)
šećera u prahu
¼ žličice
praška za pecivo
1½ žlica (15 g)
biljnog ulja
¼ žličice
ekstrakta od vanilije
1
srednje veliko jaje
1_ELECTROLUX_Croatian_CS_BASE_AJ26UICTO_SAFETYMAY19_Layout 1 09/11/2018 10:07 Page 16
Содержание
- 127 содерЖанИе; поддерЖка потребИтелей И сервИсное
- 128 ИнструкцИИ по безопасностИ
- 130 уход и очистка
- 133 установка; безопасная эксплуатация
- 134 установка оборудования
- 135 подключение устройства к
- 136 дополнительный совет
- 137 аксессуары; схема устройства
- 138 панель управления; перед первым ИспользованИем; подключение питания
- 139 работа
- 140 уровни мощности
- 143 рецепты; Избранные
- 147 автоматическая разморозка
- 149 приготовление из замороженного состояния
- 150 советы И подсказкИ
- 151 приготовление пищи в микроволновой печи
- 153 ЭкологИЧеская ИнформацИя
Характеристики
Остались вопросы?Не нашли свой ответ в руководстве или возникли другие проблемы? Задайте свой вопрос в форме ниже с подробным описанием вашей ситуации, чтобы другие люди и специалисты смогли дать на него ответ. Если вы знаете как решить проблему другого человека, пожалуйста, подскажите ему :)