Микроволновые печи Electrolux KMFE172TEX - инструкция пользователя по применению, эксплуатации и установке на русском языке. Мы надеемся, она поможет вам решить возникшие у вас вопросы при эксплуатации техники.
Если остались вопросы, задайте их в комментариях после инструкции.
"Загружаем инструкцию", означает, что нужно подождать пока файл загрузится и можно будет его читать онлайн. Некоторые инструкции очень большие и время их появления зависит от вашей скорости интернета.

66
www.electrolux.com
6.
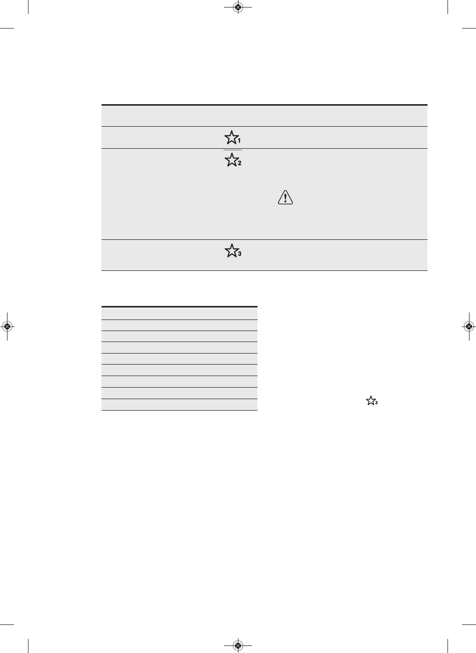
GAMINIMO LENTELĖS
Dažniausiai
naudojamieji
Svoris
Mygtukas Eiga
Sviesto
minkštinimas
0,05-0,25 kg
• Padėkite sviestą į „pyrex “ lėkštę.
Gerai suplakite po gaminimo.
šokolado tirpinimas 0,1-0,2 kg
• Sulaužykite šokoladą į gabaliukus.
Sudėkite šokoladą į „pyrex “ lėkštę.
Suplakite, kai pasigirsta signalas. Gerai
suplakite po gaminimo.
ĮSPĖJIMAS:
šokoladas gali būti labai
karštas! Jei šokoladą reikia gaminti
ilgiau, pridėkite 10 sekundžių. Būkite
atsargūs imdami šokoladą kadangi jis
gali perkaisti ir nudeginti.
Pyragėlis
1-4 puodelyje
• Pagaminkite pyragėlį pagal receptą.
Pastatykite puodelį ant sukamojo padėklo
krašto. Palikite stovėti 30 sek. po gaminimo.
6.1
Dažniausiai naudojamieji
6.2
Pyragėlio puodelyje receptai
Būdas:
1.
Sudėkite visus sausus ingredientus į
puodelį, gerai sumaišykite šakute.
2.
Įpilkite augalinio aliejaus, vanilės
ekstrakto ir įmuškite kiaušinį, o tada
gerai sumaišykite.
3.
Padėkite puodelį sukamojo padėklo
centre.
4.
Gaminkite naudodami . Gaminant
pyragėlis iškils virš puodelio krašto.
Palikite stovėti 30 sek. po gaminimo.
Papuoškite šokoladinio sviestinio kremo
sūkurėliu.
Patarimas: Jeigu norite gaminti šokolado ir
apelsinų pyragėlį, vanilės ekstraktą
pakeiskite ½ šaukštelio apelsinų ekstrakto.
Riebus šokoladinis pyragėlis puodelyje
Ingredientai 1-am puodeliui:
2½ šaukšto (25 g) miltų
2 šaukšto (12 g)
kakavos
2½ šaukšto (30 g) smulkaus cukraus
¼ šaukštelio
kepimo miltelių
1½ šaukšto (15 g) augalinio aliejaus
¼ šaukštelio
vanilės ekstrakto
1
vidutinio dydžio kiaušinis
3_ELECTROLUX_Lithuanian_CS_BASE_AJ26UICTO_SAFETYMAY19_Layout 1 09/11/2018 09:59 Page 66
Содержание
- 127 содерЖанИе; поддерЖка потребИтелей И сервИсное
- 128 ИнструкцИИ по безопасностИ
- 130 уход и очистка
- 133 установка; безопасная эксплуатация
- 134 установка оборудования
- 135 подключение устройства к
- 136 дополнительный совет
- 137 аксессуары; схема устройства
- 138 панель управления; перед первым ИспользованИем; подключение питания
- 139 работа
- 140 уровни мощности
- 143 рецепты; Избранные
- 147 автоматическая разморозка
- 149 приготовление из замороженного состояния
- 150 советы И подсказкИ
- 151 приготовление пищи в микроволновой печи
- 153 ЭкологИЧеская ИнформацИя
Характеристики
Остались вопросы?Не нашли свой ответ в руководстве или возникли другие проблемы? Задайте свой вопрос в форме ниже с подробным описанием вашей ситуации, чтобы другие люди и специалисты смогли дать на него ответ. Если вы знаете как решить проблему другого человека, пожалуйста, подскажите ему :)