Магнитолы Kenwood KRC-379R - инструкция пользователя по применению, эксплуатации и установке на русском языке. Мы надеемся, она поможет вам решить возникшие у вас вопросы при эксплуатации техники.
Если остались вопросы, задайте их в комментариях после инструкции.
"Загружаем инструкцию", означает, что нужно подождать пока файл загрузится и можно будет его читать онлайн. Некоторые инструкции очень большие и время их появления зависит от вашей скорости интернета.

3 2
5
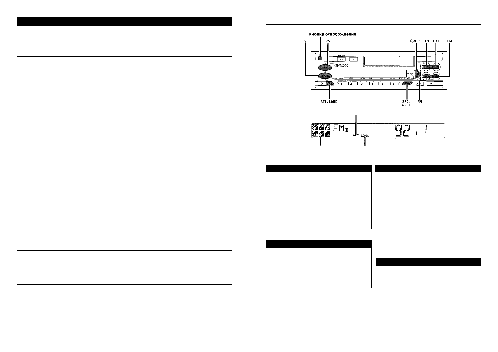
Îáùèå õàðàêòåðèñòèêè
Ïèòàíèå
Ãðîìêîñòü çâóêà
Àòòåíþàòîð
Ïåðåêëþ÷åíèå ðåæèìîâ
Èíäèêàòîð ÀÒÒ
Èíäèêàòîð SYSTEM Q
Èíäèêàòîð LOUD
Âêëþ÷åíèå ïèòàíèÿ:
Íàæìèòå êíîïêó SRC (èñòî÷íèê).
ÏÐÈÌÅ×ÀÍÈÅ
Âêëþ÷èòå ïèòàíèå äî çàâåðøåíèÿ ñëåäóþùèõ
ïðîöåäóð.
Âûêëþ÷åíèå ïèòàíèÿ:
Ïîäåðæèòå êíîïêó PWR OFF â íàæàòîì ñî-
ñòîÿíèè â òå÷åíèå îäíîé èëè íåñêîëüêèõ
ñåêóíä.
Óâåëè÷åíèå ãðîìêîñòè:
Äëÿ óâåëè÷åíèÿ ãðîìêîñòè çâó÷àíèÿ íàæè-
ìàéòå êíîïêó /\.
Óìåíüøåíèå ãðîìêîñòè:
Äëÿ óìåíüøåíèÿ ãðîìêîñòè íàæèìàéòå êíîï-
êó V.
Ý ò à ô ó í ê ö è ÿ ï î ç â î ë ÿ å ò â à ì ð å ç ê î
óìåíüøèòü çâóê.
Âêëþ÷åíèå è âûêëþ÷åíèå àòòåíþàòî-
ð à :
Íàæìèòå êíîïêó ÀÒÒ, ÷òîáû âêëþ÷èòü èëè
âûêëþ÷èòü àòòåíþàòîð. Êîãäà àòòåíþàòîð
âêëþ÷åí, ëàìïî÷êà èíäèêàòîðà ÀÒÒ ìèãàåò.
Êîãäà àòòåíþàòîð âûêëþ÷åí, çâó÷àíèå ïîë-
íîñòüþ.
ÏÐÈÌÅ×ÀÍÈÅ
Óâåëè÷èâàÿ èëè ñíèæàÿ ãðîìêîñòü ïîëíîñòüþ
òåì ñàìûì îòêëþ÷àåòå ôóíêöèþ çàòóõàíèÿ.
Ïåðåêëþ÷åíèå ðåæèìîâ:
Ïðè êàæäîì íàæàòèè êíîïêè SRC (èñòî÷íèê)
ðåæèìû ïåðåêëþ÷àþòñÿ ñëåäóþùèì îáðà-
çîì: ... - ðåæèì ðàäèîïðèåìíèêà - ðåæèì
ëåíòû - ðåæèì óïðàâëåíèÿ âíåøíèì äèñêîì
1 - ðåæèì óïðàâëåíèÿ âíåøíèì äèñêîì 2/
ðåæèì «Äîïîëíèòåëüíûé» (AUX) - ðåæèì
îæèäàíèÿ - ...
CD/MD/ðåæèì óïðàâëåíèÿ âíåøíèì äèñêîì
ÏÐÈÇÍÀÊ
Í Å È Ñ Ï Ð À Â Í Î Ñ Ò È
Íåëüçÿ âûáðàòü ðåæèì àâòî-
ìàòè÷åñêîãî ïðîèãðûâàòåëÿ
êîìïàêò-äèñêîâ.
Íå âîñïðîèçâîäèòñÿ íóæíûé
äèñê, à âîñïðîèçâîäèòñÿ
äðóãîé äèñê.
Çâóê ïðåðûâàåòñÿ.
Íà äèñïëåå èçîáðàæåíî, ÷òî
àâòîìàòè÷åñêèé ïðîèãðûâà-
òåëü äèñêîâ ðàáîòàåò, îäíà-
êî íå ñëûøíî çâóêà.
Íå ïðîèñõîäèò ïðîèãðûâà-
íèå îïðåäåëåííîé äîðîæêè.
Ïîâòîðåíèå äîðîæêè, ïîâòî-
ðåíèå äèñêà, ñêàíèðîâàíèå
ä î ð î æ ê è , ï ð î è ç â î ë ü í î å
ïðîèãðûâàíèå è ìàãàçèííîå
ïðîèçâîëüíîå ïðîèãðûâà-
íèå íà÷èíàþòñÿ ñàìîñòîÿ-
òåëüíî.
Íåâîçìîæíî âîñïðîèçâî-
äèòü CD-R èëè CD-RW.
ÂÎÇÌÎÆÍÀß ÏÐÈ×ÈÍÀ
Í Å È Ñ Ï Ð À Â Í Î Ñ Ò È
Ê âõîäíîìó ãíåçäó àâòîìàòè÷åñ-
êîãî ïðîèãðûâàòåëÿ äèñêîâ íà
àïïàðàòå êàáåëü íå ïîäñîåäèíåí.
Çàäàííûé êîìïàêò-äèñê ñèëüíî
çàãðÿçíåí.
Êîìïàêò-äèñê ïåðåâåðíóò.
Êîìïàêò-äèñê âñòàâëåí â íåïðà-
âèëüíûé ïàç.
Êîìïàêò-äèñê ñèëüíî ïîöàðàïàí.
×òî-òî ñîïðèêàñàåòñÿ ñ àâòîìàòè-
÷åñêèì ïðîèãðûâàòåëåì äèñêîâ.
Êîìïàêò-äèñê ïîöàðàïàí èëè çàã-
ðÿçíåí.
Êîìïüþòåðíûé ÷èï â àïïàðàòå
äåéñòâóåò íåïðàâèëüíî.
Áûë âûáðàí ðåæèì ïðîèãðûâàíèÿ
â ñëó÷àéíîì ïîðÿäêå èëè ïðîèã-
ðûâàíèå â ñëó÷àéíîì ïîðÿäêå
äèñêîâ èç ìàãàçèíà.
Óñòàíîâêà íå îòìåíåíà.
Îáðàáîòêà ôèíàëèçàöèè íå áûëà
ïðîèçâåäåíà äëÿ CD-R/CD.
Èñïîëüçóåòñÿ íåñîâìåñòèìûé ÷åé-
íäæåð CD äëÿ ïðîèãðûâàíèÿ CD-
R/CD-RW.
ÓÑÒÐÀÍÅÍÈÅ
Í Å È Ñ Ï Ð À Â Í Î Ñ Ò È
Ïîäñîåäèíèòå êàáåëü ê âõîäíî-
ìó ãíåçäó àâòîìàòè÷åñêîãî ïðî-
èãðûâàòåëÿ äèñêîâ íà àïïàðàòå.
Î÷èñòèòå êîìïàêò-äèñê.
Ñëåäóåò óñòàíàâëèâàòü êîìïàêò-
äèñê, íàïðàâèâ ñòîðîíó ñ ýòè-
êåòêîé ââåðõ.
Ñëåäóåò èçâëå÷ü ìàãàçèí è ïðî-
âåðèòü íîìåð îïðåäåëåííîãî
êîìïàêò-äèñêà.
Ñëåäóåò ïîïðîáîâàòü äðóãîé
êîìïàêò-äèñê.
Ñëåäóåò óñòðàíèòü âñå, ÷òî ñ íèì
ñîïðèêàñàåòñÿ.
Åñëè ïåðåñêàêèâàíèå ïðîõîäèò
â îäíîì è òîì æå ìåñòå ïðè
îñòàíîâêå àâòîìîáèëÿ, çíà÷èò
÷òî-òî ïðîèçîøëî ñ êîìïàêò-
äèñêîì. Î÷èñòèòå êîìïàêò-äèñê.
Íàæìèòå êíîïêó Reset, ðàñïîëî-
æåííóþ íà àïïàðàòå.
Îòêëþ÷èòå ôóíêöèþ ïðîèãðûâà-
íèÿ â ñëó÷àéíîì ïîðÿäêå èëè
ïðîèãðûâàíèÿ â ñëó÷àéíîì ïî-
ðÿäêå äèñêîâ èç ìàãàçèíà.
Óñòàíîâêà äëÿ ýòèõ ôóíêöèé îñ-
òà¸òñÿ âêëþ÷¸ííîé äî òåõ ïîð,
ïîêà íå áóäåò ïðîèçâåäåíà óñòà-
íîâêà íà ÂÛÊË èëè íå áóäåò âûä-
âèíóò äèñê, äàæå åñëè âûêëþ÷å-
íî ïèòàíèå èëè èçìåíåí èñòî÷-
íèê.
Ïðîèçâåäèòå îáðàáîòêó ôèíà-
ëèçàöèè ñ çàïèñûâàþùèì óñò-
ðîéñòâîì CD.
Èñïîëüçóéòå ÷åéíäæåð CD, ñî-
âìåñòèìûé ñ CD-R/CD-RW äëÿ
ïðîèãðûâàíèÿ ñðåäñòâ.
 ñëåäóþùèõ ñëó÷àÿõ îáðàòèòåñü
çà êîíñóëüòàöèåé â áëèæàéøèé ñåðâèñíûé öåíòð:
- Äàæå êîãäà ïîäêëþ÷åíî óñòðîéñòâî ñìåíû äèñêîâ, ðåæèì óñòðîéñòâà ñìåíû äèñêîâ (Disc Changer
Mode) íå óñòàíàâëèâàåòñÿ, à íà äèñïëåå ïîÿâëÿåòñÿ èíäèêàòîð «AUX».
- Äàæå êîãäà íå ïîäêëþ÷åíî íè îäíî èç óñòðîéñòâ (KCA-S210A, ÑÀ-Ñ1ÀÕ, KDC-CPS87, KDC-CX87,
KDC-CPS85, KDC-CX85, KDC-CPS82 èëè KDC-CX82), ïðè ïåðåêëþ÷åíèè ðåæèìîâ âûáèðàåòñÿ
ðåæèì AUX.
Ïîèñê è óñòðàíåíèå íåèñïðàâíîñòåé












