Магнитолы Kenwood KRC-379R - инструкция пользователя по применению, эксплуатации и установке на русском языке. Мы надеемся, она поможет вам решить возникшие у вас вопросы при эксплуатации техники.
Если остались вопросы, задайте их в комментариях после инструкции.
"Загружаем инструкцию", означает, что нужно подождать пока файл загрузится и можно будет его читать онлайн. Некоторые инструкции очень большие и время их появления зависит от вашей скорости интернета.

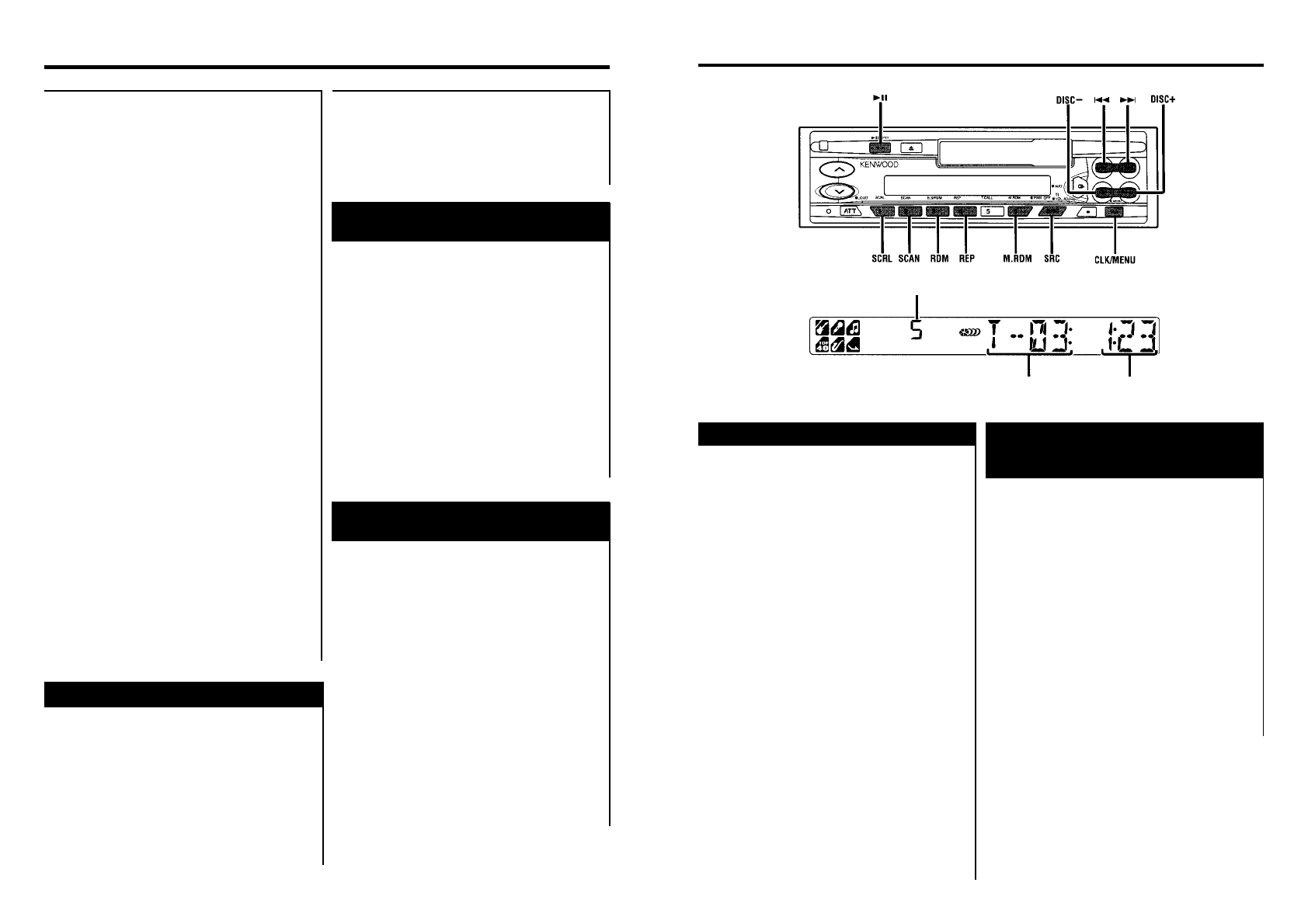
Ôóíêöèè óïðàâëåíèÿ âíåøíèì äèñêîì
Íîìåð äèñêà
Íîìåð äîðîæêè
Âðåìÿ âîñïðîèçâå-
äåíèÿ äîðîæêè
Ðåæèì âîñïðîèçâåäåíèÿ äèñêà
Áûñòðîå ïåðåìåùåíèå
âîñïðîèçâåäåíèÿ äèñêà
âïåðåä è íàçàä
Ý ò à ô ó í ê ö è ÿ ï î ç â î ë ÿ å ò â û ï î ë í ÿ ò ü
ïîäêëþ÷åíèå äîïîëíèòåëüíûõ ïëåé-
åðîâ è âîñïðîèçâåäåíèå äèñêîâ.
Âîñïðîèçâåäåíèå äèñêîâ:
Ïîñëåäîâàòåëüíî íàæèìàéòå êíîïêó SRC äëÿ
âûáîðà ðåæèìà óïðàâëåíèÿ âíåøíèì äèñ-
êîì. Íà÷èíàåòñÿ âîñïðîèçâåäåíèå äèñêà.
ÏÐÈÌÅ×ÀÍÈÅ
Ðåæèì óïðàâëåíèÿ âíåøíèì äèñêîì çàâèñèò îò
ïîäêëþ÷åííîãî àïïàðàòà. Ïðèìåðû ðåæèìà
âîñïðîèçâåäåíèÿ
- «CD» ...êîãäà ïîäêëþ÷åí ïðîèãðûâàòåëü CD
- «DISC» ...åñëè ïîäêëþ÷åí àâòîìàòè÷åñêèé
ïðîèãðûâàòåëü äèñêîâ
- «DISC-1» , «DISC-2» ...åñëè ïîäêëþ÷åíû äâà
àâòîìàòè÷åñêèõ ïðîèãðûâàòåëÿ äèñêîâ
Âðåìåííàÿ îñòàíîâêà è âîçîáíîâëå-
íèå âîñïðîèçâåäåíèÿ äèñêà:
Íàæìèòå êíîïêó >I Iäëÿ âðåìåííîé îñòàíîâ-
êè âîñïðîèçâåäåíèÿ äèñêà. Íàæìèòå òó æå
êíîïêó äëÿ âîçîáíîâëåíèÿ âîñïðîèçâåäå-
íèÿ.
ÏÐÈÌÅ×ÀÍÈÅ
- Ïîñëå òîãî, êàê ïåðâûé äèñê çàêîí÷èò âîñ-
ïðîèçâåäåíèå ñâîåé ïîñëåäíåé äîðîæêè, íà-
÷èíàåòñÿ âîñïðîèçâåäåíèå ñëåäóþùåãî äèñêà,
óñòàíîâëåííîãî â àâòîìàòè÷åñêîì ïðîèãðûâà-
òåëå. Ïîñëå âîñïðîèçâåäåíèÿ ïîñëåäíåãî äèñ-
êà â àâòîìàòè÷åñêîì ïðîèãðûâàòåëå ïëååð
âîçâðàùàåòñÿ ê ïåðâîìó äèñêó è íà÷èíàåò åãî
âîñïðîèçâåäåíèå.
- Äèñê ïîä íîìåðîì 10 èìååò No.»0".
Á û ñ ò ð î å ï å ð å ì å ù å í è å
âîñïðîèçâåäåíèÿ âïåðåä:
Íàæìèòå è óäåðæèâàéòå êíîïêó >>I. Îòïóñ-
òèòå êíîïêó, ÷òîáû ïðîèãðûâàòü äèñê â ýòîì
ìåñòå.
Ï å ð å ì å ù å í è å
âîñïðîèçâåäåíèÿ íàçàä:
Íàæìèòå è óäåðæèâàéòå êíîïêó I<<. Îòïóñ-
òèòå êíîïêó, ÷òîáû ïðîèãðûâàòü äèñê â ýòîì
ìåñòå.
ÏÐÈÌÅ×ÀÍÈÅ
Âîçìîæíîñòü îáðàòíîãî âîñïðîèçâåäåíèÿ ìåæ-
äó äîðîæêàìè çàâèñèò îò ìîäåëè ïîäêëþ÷åí-
íîé àâòîìàãíèòîëû. Ïîñëå òîãî, êàê ïðîèçîé-
äåò ïåðåìåùåíèå ê íà÷àëó ïðîñëóøèâàåìîé
äîðîæêè, ôóíêöèÿ áóäåò îòìåíåíà è âîçîáíî-
âèòñÿ âîñïðîèçâåäåíèå äîðîæêè.
2 2
1 5
Óñòàíîâêè ìåíþ
2
Äëÿ çàïóñêà ôóíêöèè àâòîìàòè÷åñêîé çàïèñè
â ïàìÿòü â òå÷åíèå äâóõ èëè áîëåå ñåêóíä óäåð-
æèâàéòå êíîïêó I<< èëè >>I â íàæàòîì ïîëîæå-
íèè.
Íîìåðà êíîïîê ïðåäâàðèòåëüíî óñòàíîâëåííûõ
ñòàíöèé âîñïðîèçâîäÿòñÿ ïî ïîðÿäêó.
Ïîñëå òîãî, êàê âñå ñòàíöèè îïðåäåëåííîãî
÷àñòîòíîãî äèàïàçîíà áóäóò çàíåñåíû â ïàìÿòü
ïðåäâàðèòåëüíîé íàñòðîéêè, àâòîìàòè÷åñêàÿ
çàïèñü â ïàìÿòü ïðåêðàùàåòñÿ. Ïîñëå ýòîãî
òþíåð âîñïðîèçâåäåò ïîñëåäíþþ ïðèíÿòóþ ñòàí-
öèþ.
ÏÐÈÌÅ×ÀÍÈÅ
- Åñëè âî âðåìÿ àâòîìàòè÷åñêîé çàïèñè â ïà-
ìÿòü âêëþ÷åíà ôóíêöèÿ AF, çàïîìèíàþòñÿ òîëü-
êî ñòàíöèè RDS (ò.å. ñòàíöèè ñ âîçìîæíîñòÿìè
RDS). Ñòàíöèè RDS, êîòîðûå áûëè ïðåäâàðè-
òåëüíî óñòàíîâëåíû äëÿ äèàïàçîíà FM1, íå ìîãóò
îäíîâðåìåííî óñòàíàâëèâàòüñÿ â äèàïàçîíå FM2
èëè FM3.
- Åñëè âî âðåìÿ àâòîìàòè÷åñêîé çàïèñè â ïà-
ìÿòü âêëþ÷åíà ôóíêöèÿ ëîêàëüíîãî ïîèñêà,
ñòàíöèè ñî ñëàáûì ïðèåìîì íå çàïîìèíàþòñÿ.
- Ïðè âêëþ÷åíèè ôóíêöèè ïåðåäà÷è èíôîðìà-
öèè î ñèòóàöèè íà äîðîãàõ çàïîìèíàåòñÿ òîëü-
êî äîðîæíàÿ èíôîðìàöèÿ, ïåðåäàâàåìàÿ íà
÷àñòîòå ìåñòíîé ñòàíöèè.
Îòìåíà âî âðåìÿ ðàáîòû
àâòîìàòè÷åñêîé çàïèñè â ïàìÿòü:
Äëÿ îñòàíîâêè âûïîëíåíèÿ äàííîé ôóíêöèè
âî âðåìÿ àâòîìàòè÷åñêîé çàïèñè â ïàìÿòü
íàæìèòå êíîïêó MENU.
Âûçîâ ïðåäâàðèòåëüíî
óñòàíîâëåííîé ñòàíöèè:
Äëÿ âûáîðà òðåáóåìîé ñòàíöèè íàæìèòå
êíîïêó ïðåäâàðèòåëüíî
óñòàíîâëåííîé ñòàíöèè (#1-6). Ïðè ýòîì íà
äèñïëåå îòîáðàæàåòñÿ íîìåð âûáðàííîé
ñòàíöèè.
Ôóíêöèÿ ïåðåìåííîé ÷àñòîòû AF
Ïðè ñîõðàíåíèè ñëàáîãî ïðèåìà àâ-
òîìàòè÷åñêè ïåðåêëþ÷àåò íà äðóãóþ
÷àñòîòó, òðàíñëèðóþùóþ òó æå ñàìóþ
ïðîãðàììó â ðàìêàõ åäèíîé ñåòè RDS,
íî èìåþùóþ ëó÷øèé ïðèåì. Ïðè âêëþ-
÷åíèè ôóíêöèè AF çàãîðàåòñÿ èíäèêà-
òîð RDS.
Äèñïëåè è óñòàíîâêà:
«AF ON»: Ôóíêöèÿ AF âêëþ÷åíà (ñòàíäàðòíàÿ
íàñòðîéêà)
«AF OFF»: Ôóíêöèÿ AF âûêëþ÷åíà.
ÏÐÈÌÅ×ÀÍÈÅ
Åñëè äëÿ îäíîé è òîé æå ïðîãðàììû â ñåòè RDS
îòñóòñòâóþò ñòàíöèè ñ áîëåå ñèëüíûì ïðèåìîì,
âû ìîæåòå óñëûøàòü òðàíñëÿöèþ â âèäå îòäåëü-
íûõ çâóêîâ è îáðûâî÷íûõ ôðàç.  ýòîì ñëó÷àå
ñëåäóåò îòêëþ÷èòü ôóíêöèþ AF.
Îãðàíè÷åíèå îáëàñòè RDS
(ôóíêöèÿ îãðàíè÷åíèÿ îáëàñòè)
Âû èìååòå âîçìîæíîñòü âûáðàòü, îã-
ðàíè÷èâàòü èëè íåò êàíàëû RDS, ïðè-
íèìàåìûå ñ ïîìîùüþ ôóíêöèè AF äëÿ
êîíêðåòíîé ðàäèîâåùàòåëüíîé ñåòè,
äî çàäàâàåìîé îáëàñòè. Êîãäà ôóíê-
öèÿ îãðàíè÷åíèÿ ðåãèîíà âêëþ÷åíà,
ðåãèîí îãðàíè÷åí.
Äèñïëåé è óñòàíîâêà:
«REG ON»: Ôóíêöèÿ ðåãèîíàëüíîãî îãðàíè-
÷åíèÿ âêëþ÷åíà (ñòàíäàðòíàÿ íàñòðîéêà).
«REG OFF»: Ôóíêöèÿ ðåãèîíàëüíîãî îãðàíè-
÷åíèÿ âûêëþ÷åíà.
ÏÐÈÌÅ×ÀÍÈÅ
 íåêîòîðûõ ñëó÷àÿõ ñòàíöèè îäíîé è òîé æå
ðàäèîâåùàòåëüíîé ñåòè òðàíñëèðóþò ðàçëè÷-
íûå ïðîãðàììû èëè èñïîëüçóþò ðàçëè÷íûå
ïîçûâíûå.
Ôóíêöèÿ àâòîìàòè÷åñêîãî
ïîèñêà ÒÐ
Åñëè ôóíêöèÿ ÒI âêëþ÷åíà è íàáëþäà-
þòñÿ ïëîõèå óñëîâèÿ ïðèåìà ïðè ïðî-
ñ ë ó ø è â à í è è ñ ò à í ö è è , ï å ð å ä à þ ù å é
èíôîðìàöèþ î ñèòóàöèè íà äîðîãàõ,
îñóùåñòâëÿåòñÿ àâòîìàòè÷åñêèé ïî-
èñê äðóãîé òðàíñëèðóþùåé èíôîðìà-
ö è þ í à ä î ð î ã à õ ñ ò à í ö è è , è ì å þ ù å é
ëó÷øèé ïðèåì. Äàííàÿ ôóíêöèÿ âêëþ-
÷àåòñÿ ñðàçó æå ïðè âêëþ÷åíèè ïèòà-
íèÿ óñòðîéñòâà.
Äèñïëåé è óñòàíîâêà:
«ATPS ON» : Ôóíêöèÿ àâòîïîèñêà âêëþ÷åíà.
Åñëè âêëþ÷åííàÿ ñòàíöèÿ, ïåðåäàþùàÿ èí-
ôîðìàöèþ íà äîðîãàõ, õàðàêòåðèçóåòñÿ ñëà-
áûì ïðèåìîì, äàííàÿ ôóíêöèÿ ïåðåõîäèò
íà àâòîìàòè÷åñêèé ïîèñê äðóãîé ñòàíöèè ÒÐ
(còàíäàðòíàÿ íàñòðîéêà).
«ATPS OFF» : Ôóíêöèÿ àâòîïîèñêà âûêëþ÷å-
íà.












