Магнитолы JVC KD-G437 - инструкция пользователя по применению, эксплуатации и установке на русском языке. Мы надеемся, она поможет вам решить возникшие у вас вопросы при эксплуатации техники.
Если остались вопросы, задайте их в комментариях после инструкции.
"Загружаем инструкцию", означает, что нужно подождать пока файл загрузится и можно будет его читать онлайн. Некоторые инструкции очень большие и время их появления зависит от вашей скорости интернета.

12
УКРАЇНА
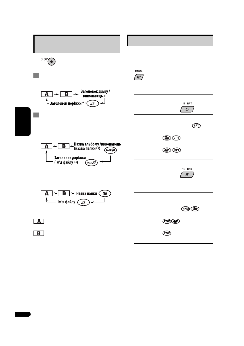
Зміна інформації, що
відображається
Під час програвання аудіо компакт-
диску або диску CD Text
Під час програвання диску з MP3
або з WMA
*
2
-файлами:
•
Коли параметр “TAG DISP” встановлено
на “TAG ON” (див. стор. 15)
•
Коли параметр “TAG DISP” встановлено
на “TAG OFF”
: Минулий час програвання з номером
доріжки, що програється
: Годинник з номером доріжки, що
програється
*
1
Якщо програється аудіо компакт-диск, на
дисплеї з’являється “NO NAME”.
*
2
Тільки для вбудованого CD-програвача.
*
3
Якщо файл MP3/WMA не має інформації у
своєму тегу, з’являється ім’я папки та ім’я
файлу. У цьому випадку індикатор тегу TAG не
загориться.
Вибір режимів програвання
Водночас можна користуватися тільки одним з
наступних режимів програвання:
1
2
Виберіть бажаний режим програвання.
7
Repeat play (програвання з повтором)
Mode (режим) Повторне програвання:
TRK RPT
: Поточна доріжка.
FLDR RPT
*
1
: Усі доріжки поточної папки.
DISC RPT
*
2
: Усі доріжки поточного диску.
RPT OFF
: Відміняє.
7
Програвання у випадковому порядку
Mode (режим) Програє у випадковому
порядку
FLDR RND
*
1
: Усі доріжки з поточної папки,
потім доріжки з наступної
папки і т.д.
DISC RND
: Усі доріжки поточного диску.
MAG RND
*
2
: Усі доріжки вставленого диску.
RND OFF
: Відміняє.
*
1
Тільки під час програвання диску з MP3 або з
WMA-файлами:
*
2
KD-G437: Тільки під час відтворення дисків,
що знаходяться у пристрої зміни CD-дисків.
Содержание
- 28 РУCCKИЙ; Как перенастроить Ваше; ВАЖНО ДЛЯ ЛАЗЕРНОЙ АППАРАТУРЫ
- 29 CОДЕРЖАНИЕ
- 30 Расположение кнопок; Панель управления —; Окно дисплея
- 31 Основные элементы и функции; Установка литиевой батареи-
- 32 Начало работы; Основные операции; Настройте громкость.; Основные настройки; Настройка часов
- 33 Сохранение радиостанций; Автоматическое программирование; Выберите необходимый диапазон FM (FM1; Программирование вручную; Начните поиск радиостанции.; Чтобы остановить поиск,; Настройка на радиостанцию вручную; Для восстановления эффекта стерео
- 34 Запустите поиск любимой; Сохранение любимых программ; Выберите запрограммированный; Прослушивание; Операции с FM RDS; Что можно делать с помощью RDS; Частота
- 35 Отслеживание той же программы; Резервный прием TA
- 36 Автоматический выбор; Коды PTY; Операции с дисками; Частота радиостанции; О дисках MP3 и WMA
- 37 Другие основные функции; Быстрый пропуск дорожек во; Для отмены блокировки
- 38 Изменение информации на; При воспроизведении звукового; Выбор режимов воспроизведения
- 39 Настройки звучания; Настройка звучания
- 40 Общие настройки — PSM
- 42 Что такое система “DAB”?; Запустите поиск блока трансляции.; Выберите службу (основную или; Операции с тюнером DAB
- 43 Сохранение служб DAB в памяти
- 44 Выбор дорожки из меню
- 45 Для выбора внешнего устройства,
- 46 • Разъему устройства автоматической; Настройка громкости.; AUX IN или EXT IN; Обслуживание; Очистка разъемов
- 47 Хранение дисков в чистом виде; Не используйте следующие диски:; Включение питания; Операции с тюнером
- 49 Общие настройки—PSM; Доступные символы дисплея
- 50 Устранение проблем; Симптомы
- 53 Технические характеристики; БЛОК УСИЛИТЕЛЕЙ ЗВУКА; Радиоприемник в диапазоне FM; БЛОК ПРОИГРЫВАТЕЛЯ КОМПАКТ-ДИСКОВ
- 80 Having TROUBLE with operation?; Please reset your unit; Refer to page of How to reset your unit; Затруднения при эксплуатации?; Пожалуйста, перезагрузите Ваше устройство; Для получения информации о перезагрузке Вашего устройства; Маєте ПРОБЛЕМУ з функціонуванням?; Повторно налаштуйте систему; Див. сторінку “Як повторно налаштувати пристрій”; © 2006 Victor Company of Japan, Limited