Магнитолы Hyundai Electronics H-CMD2007 - инструкция пользователя по применению, эксплуатации и установке на русском языке. Мы надеемся, она поможет вам решить возникшие у вас вопросы при эксплуатации техники.
Если остались вопросы, задайте их в комментариях после инструкции.
"Загружаем инструкцию", означает, что нужно подождать пока файл загрузится и можно будет его читать онлайн. Некоторые инструкции очень большие и время их появления зависит от вашей скорости интернета.

40
41
Управление устройством
Управление устройством
цифровую кнопку, кнопку AMS/MENU на
ПДУ или кнопку AMS на дисплее, когда
сканируется нужная станция. Устройство
начнет вещать эту станцию.
При нажатии и удерживании более 2 се-
кунд кнопки AMS/MENU на ПДУ или кнопки
AMS на мониторе, автоматически активиру-
ется функция автосохранения. Устройство
автоматически находит и сохраняет стан-
цию под одной из цифровых кнопок (1 – 6).
Для сохранения станции нажмите и удер-
живайте более 2 секунд цифровую кнопку
при прослушивании станции.
Устройство может сохранить до 6
станций в каждом диапазоне.
Отображение на дисплее
В режиме радио нажмите кнопку OSD на
ПДУ для отображения часов.
Переход к частоте
Нажмите кнопку GOTO, на дисплее ото-
бразится надпись FREQ. Нажимайте циф-
ровые кнопки, чтобы ввести номер нужной
частоты. Устройство перейдет к введенной
частоте.
Данная функция доступна, только
если опция GOTO FREQ активирована (ON)
в Меню настроек.
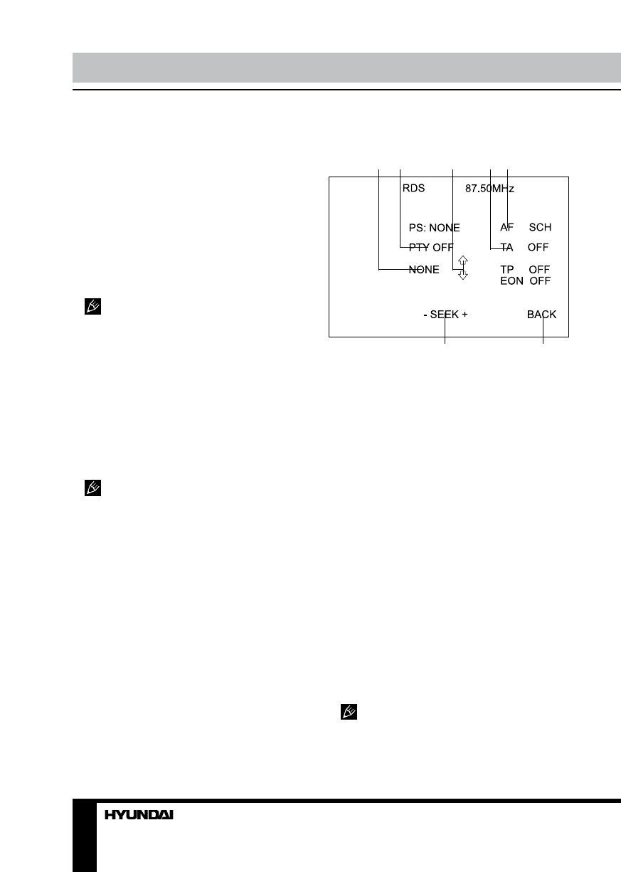
Сервис RDS
Сервис RDS (Система радио данных) до-
ступен не во всех регионах. Имейте в виду,
что если услуга RDS недоступна в Вашем ре-
гионе, то данная функция не будет работать.
Сенсорный пользовательский
интерфейс меню RDS
1
2
3
4 5
6
7
1. Когда функция PTY активна (ON), на-
жмите на эту кнопку для поиска программы
выбранного типа.
2. Кнопка PTY. Нажмите для включения
(ON) или отключения (OFF).
3. Кнопки-стрелки ВВЕРХ/ВНИЗ. Нажи-
майте для выбора типа программы.
4. Кнопка ТА. Нажмите для включения
(ON)/выключения (OFF) функции ТА.
5. Кнопка AF. Нажмите для включения
(ON)/выключения (OFF) функции AF.
6. Кнопки SEEK+/-. Нажимайте для авто-
матического поиска.
7. Кнопка BACK: Нажмите для перехода к
интерфейсу режима радио.
Альтернативные частоты
Нажмите кнопку AF/EQ для активации
функции AF. При слабом сигнале функция
альтернативных частот позволяет при-
емнику настраиваться на другие станции
с тем же идентификационным кодом, что
и текущая станция, но с более сильным
сигналом. При этом вместо частоты на дис-
плее появится название станции.
Индикатор AF на дисплее активен,
если идет прием данных RDS. Если в
Вашем регионе услуги RDS недоступны,
отключите режим AF.
Содержание
- 25 Уважаемый покупатель!; Установка/Подключение
- 26 Общая информация; Обращение с компакт-дисками; Содержание
- 27 Утилизация изделия
- 28 • Убедитесь, что источник питания и
- 29 Установка
- 30 Метод 2: с помощью боковых; Извлечение устройства
- 31 Подключение; Использование разъема ISO; Для подключений без разъемов ISO
- 32 Таблица проводов ISO-коннектора; Номер; Разъем A
- 33 Подключение парковочного провода; кнопок передней панели устройства.
- 34 Элементы управления
- 35 Пульт дистанционного управления
- 36 Основные операции
- 37 Выбор режима работы
- 38 В данном меню вы можете настроить ряд; Операции с радио; Когда устройство находится в режиме
- 41 Тип программы
- 42 Поиск частоты
- 43 Сенсорное управление
- 45 Угол обзора
- 46 Главная страница; Установка DOLBY
- 47 Дополнительные настройки; Выход
- 49 Руководство по устранению; Неисправность
- 50 Технические характеристики