Котел ZOTA SMART ZS 30 - инструкция пользователя по применению, эксплуатации и установке на русском языке. Мы надеемся, она поможет вам решить возникшие у вас вопросы при эксплуатации техники.
Если остались вопросы, задайте их в комментариях после инструкции.
"Загружаем инструкцию", означает, что нужно подождать пока файл загрузится и можно будет его читать онлайн. Некоторые инструкции очень большие и время их появления зависит от вашей скорости интернета.

8
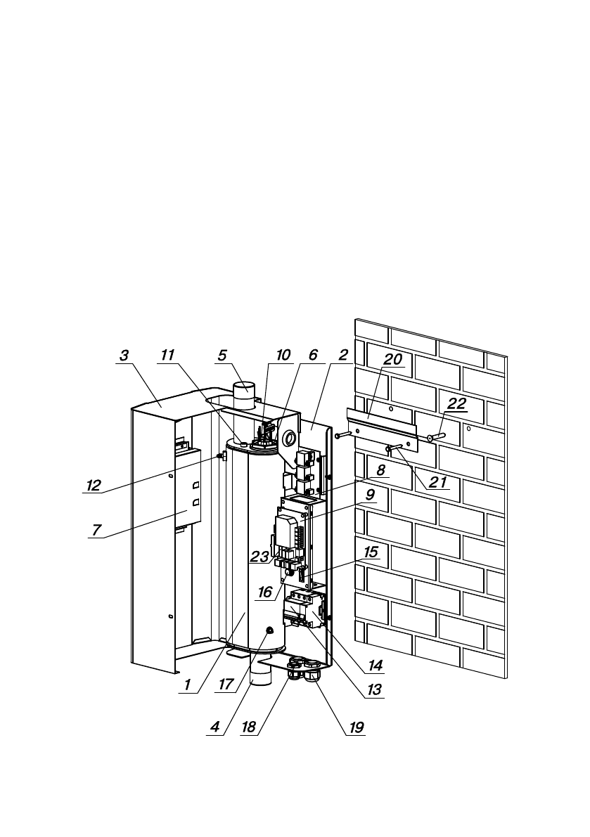
Схема присоединения электроводонагревателя к питающей сети, датчикам
температуры, циркуляционному насосу и клапану приведена на рисунке 3.
5.3. Управление работой электроводонагревателя производится от блока
управления (7), выполняющего функции автоматического поддержания
температуры теплоносителя, воздуха в помещении, защиты от перегрузки,
перегрева теплоносителя, перегрева силовых реле, короткого замыкания, а
также сигнализации режимов работы электроводонагревателя. Расположение
органов управления и индикации на передней панели блока управления
показано на рисунке 2.
5.4. На основании (2) установлен силовой блок (8), который управляется
от платы измерения и осуществляет подключение блока нагревательных
элементов к сети переменного тока.
Блок нагревательных элементов электроводонагревателя состоит из
трех ТЭНов, имеющих общий резьбовой фланец с резьбой G2-В. Блок
нагревательных элементов закручивается в верхний фланец корпуса котла
через прокладку. Электроводонагреватель крепится на стену с помощью
кронштейна (20), входящего в комплект изделия.
Smart 4,5-12





