Котел Wolf FGG-K-24 - инструкция пользователя по применению, эксплуатации и установке на русском языке. Мы надеемся, она поможет вам решить возникшие у вас вопросы при эксплуатации техники.
Если остались вопросы, задайте их в комментариях после инструкции.
"Загружаем инструкцию", означает, что нужно подождать пока файл загрузится и можно будет его читать онлайн. Некоторые инструкции очень большие и время их появления зависит от вашей скорости интернета.

16
3064932_201608
Отображение и изменение
параметров системы регулирования
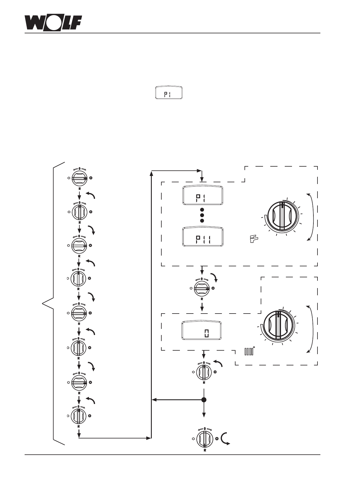
Порядок действий для перехода к настройке параметров:
1. Установить рабочий выключатель на летний режим.
2. Четыре раза быстро повернуть рабочий выключатель с летнего режима в положение «0»
(конечное положение – «0»).
Длительность этой процедуры не должна быть больше 5 секунд.
На дисплее отображается меню параметров
Посредством вращения регулятора температуры ГВС можно выбрать необходимый параметр (P1…P11).
После выбора требуемого параметра установить рабочий выключатель из положения «0» на летний режим.
Теперь отображается текущая настройка.
Значение параметра можно изменить поворотом регулятора температуры отопления.
После изменения значения установить рабочий выключатель в положение «0», чтобы сохранить новую
настройку параметра.
Чтобы выйти из меню параметров, необходимо быстро переключить рабочий выключатель в положение
сброса «R».
Летний режим
ВЫКЛ/Ожидание
1.
2.
3.
4.
Летний режим
до
После выбора параметра,
например,
P1
Изменение параметров
ВЫКЛ/Ожидание
Сохранение значения
Выход из меню параметров
Сброс
Летний режим
ВЫКЛ/Ожидание
Летний режим
ВЫКЛ/Ожидание
Летний режим
ВЫКЛ/Ожидание
Время
не более
5 секунд
P1 P2
P3
P4
P5
P6
P7
P9
P8
P10
P11
Регулятор
температуры ГВС
0 10
20
30
40
50
60
80
70
90
100
Регулятор
температуры
отопления
Выбор параметров
Выбор параметров
Содержание
- 2 Оглавление; Общая информация
- 3 Указания по безопасности
- 5 Габаритные и монтажные размеры
- 6 Схема конструкции
- 7 Указания по установке/Монтаж
- 9 Подсоединение
- 10 дымоход
- 12 Подсоединение к электрической сети
- 14 Общий обзор системы регулирования
- 16 Порядок действий для перехода к настройке параметров:
- 19 Wiring dia; FF
- 22 Проверка давления в сопле
- 23 Регулировка давления в сопле
- 24 Измерение показателей ОГ
- 25 Выбор ступени насоса; ead; Nota bene : tolerances of each curve are according to EN 1151-1:2006; Head; Specific asynchronous circulators for heating application
- 26 Техническое обслуживание
- 28 Проверка и техническое обслуживание/
- 29 Протокол технического обслуживания
- 30 Протокол ввода в эксплуатацию
- 31 Технические характеристики
- 32 Неисправности, причины и устранение
Не могу установить температуру подачи воды в летнем режиме.
Кончился отопительный сезон, хочу отключить отопление и оставить только нагрев воды. Я повернула тумблер регулировки отопления на ноль, то есть до конца.
Батареи все равно греются, видимо еще что-то надо отключить. Подскажите, пожалуйста, что еще отключить, стобы батареи не грелись? Спасибо!