Котел Ferroli Econcept 35A - инструкция пользователя по применению, эксплуатации и установке на русском языке. Мы надеемся, она поможет вам решить возникшие у вас вопросы при эксплуатации техники.
Если остались вопросы, задайте их в комментариях после инструкции.
"Загружаем инструкцию", означает, что нужно подождать пока файл загрузится и можно будет его читать онлайн. Некоторые инструкции очень большие и время их появления зависит от вашей скорости интернета.

ECONCEPT 35 A
13
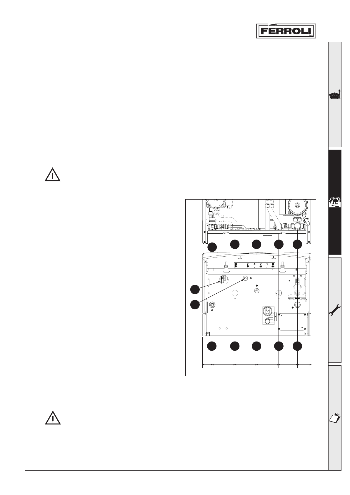
2.3 Collegamenti idraulici
La potenzialità termica dell’apparecchio va stabilita preliminarmente con un calcolo del fabbisogno di
calore dell’edifi cio secondo le norme vigenti. Per il buon funzionamento e per la durata della caldaia,
l’impianto idraulico deve essere ben proporzionato e sempre completo di tutti quegli accessori che
garantiscono un funzionamento ed una conduzione regolare.
Nel caso in cui le tubazioni di mandata e ritorno impianto seguano un percorso tale per cui, in
alcuni punti si possono formare delle sacche d’aria, è opportuno installare, su questi punti, una
valvola di sfi ato. Installare inoltre un organo di scarico nel punto più basso dell’impianto per
permetterne il completo svuotamento.
Se la caldaia è installata ad un livello inferiore a quello dell’impianto, è opportuno prevedere una valvola
fl ow-stop per impedire la circolazione naturale dell’acqua nell’impianto.
E’ consigliabile che il salto termico tra il collettore di mandata e quello di ritorno in caldaia,
non superi i 20 °C.
Non utilizzare i tubi degli impianti idraulici come messa a terra di apparecchi elettrici.
Prima dell’installazione effettuare un lavaggio accurato di tutte le tubazioni dell’impianto per rimuovere
residui o impurità che potrebbero compromettere il
buon funzionamento dell’apparecchio.
Effettuare gli allacciamenti ai corrispettivi attacchi,
come indicato in fi g. 7.
Legenda
1
Mandata impianto
2
Mandata bollitore (opzionale)
3
Entrata gas
4
Ritorno bollitore (opzionale)
5
Ritorno impianto
6
Rubinetto di riempimento impianto
7
Attacco di caricamento
Si consiglia d’interporre, fra caldaia ed impianto di riscaldamento, delle valvole d’intercettazione che
permettano, se necessario, d’isolare la caldaia dall’impianto.
Lo scarico della valvola di sicurezza deve essere collegato ad un imbuto o tubo di raccolta, per
evitare lo sgorgo di acqua a terra in caso di sovrapressione nel circuito di riscaldamento. In
caso contrario, se la valvola di scarico dovesse intervenire allagando il locale, il costruttore della
caldaia non potrà essere ritenuto responsabile.
Effettuare il collegamento della caldaia in modo che i suoi tubi interni siano liberi da tensioni.
fi g. 7
43
100
97
97
83
60
1
2
3
4
5
1
2
3
4
5
6
7