Котел Baxi POWER HT (85-150 кВт) - инструкция пользователя по применению, эксплуатации и установке на русском языке. Мы надеемся, она поможет вам решить возникшие у вас вопросы при эксплуатации техники.
Если остались вопросы, задайте их в комментариях после инструкции.
"Загружаем инструкцию", означает, что нужно подождать пока файл загрузится и можно будет его читать онлайн. Некоторые инструкции очень большие и время их появления зависит от вашей скорости интернета.

Power HT
руководство
для
технического
персонала
газовые
напольные
котлы
35
20.
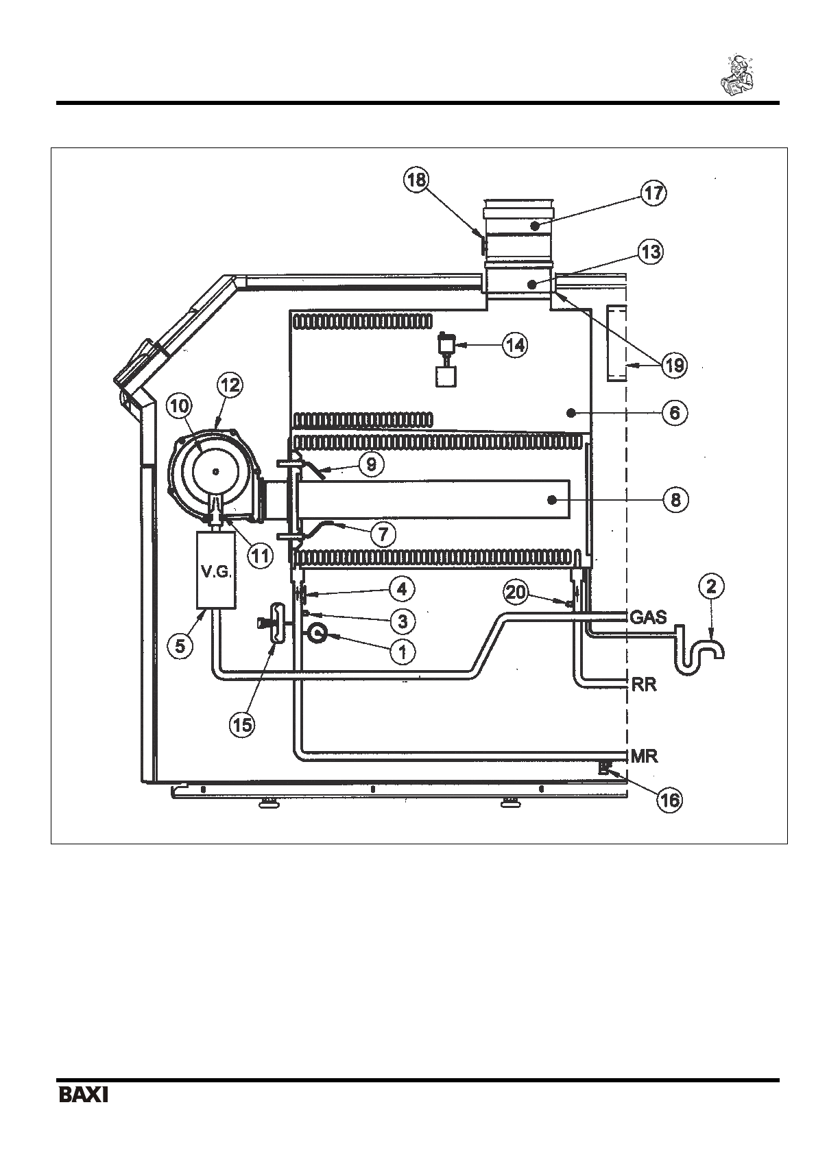
Функциональная
схема
Рис
. 18
Обозначения
:
1
манометр
11
газовая
диафрагма
2
сифон
12
вентилятор
3
датчик
температуры
(NTC)
контура
отопления
13
переходник
дымоотводного
устройства
4
термостат
защиты
от
перегрева
(105°
С
) 14
автоматический
воздухоотводчик
5
газовый
клапан
15
прессостат
минимального
давления
воды
6
теплообменник
16
спускной
клапан
котла
7
электрод
контроля
пламени
17
дымоотводное
устройство
с
термостатом
-
датчиком
тяги
8
горелка
18
термостат
-
датчик
тяги
9
электрод
зажигания
19
место
крепления
впускного
патрубка
10
смеситель
с
устройством
Вентури
20
датчик
температуры
(NTC)
на
трубе
возврата
Характеристики
Остались вопросы?Не нашли свой ответ в руководстве или возникли другие проблемы? Задайте свой вопрос в форме ниже с подробным описанием вашей ситуации, чтобы другие люди и специалисты смогли дать на него ответ. Если вы знаете как решить проблему другого человека, пожалуйста, подскажите ему :)