Котел Baxi POWER HT (85-150 кВт) - инструкция пользователя по применению, эксплуатации и установке на русском языке. Мы надеемся, она поможет вам решить возникшие у вас вопросы при эксплуатации техники.
Если остались вопросы, задайте их в комментариях после инструкции.
"Загружаем инструкцию", означает, что нужно подождать пока файл загрузится и можно будет его читать онлайн. Некоторые инструкции очень большие и время их появления зависит от вашей скорости интернета.

Power HT
руководство
для
технического
персонала
газовые
напольные
котлы
26
13.
Настройка
газового
клапана
.
В
моделях
POWER HT 1.850
и
1.1000
установлен
один
газовый
клапан
(
Рис
.12
а
).
В
моделях
POWER HT 1.1150, 1.1200
и
1.1500
газовый
клапан
двойной
(
Рис
.12
б
).
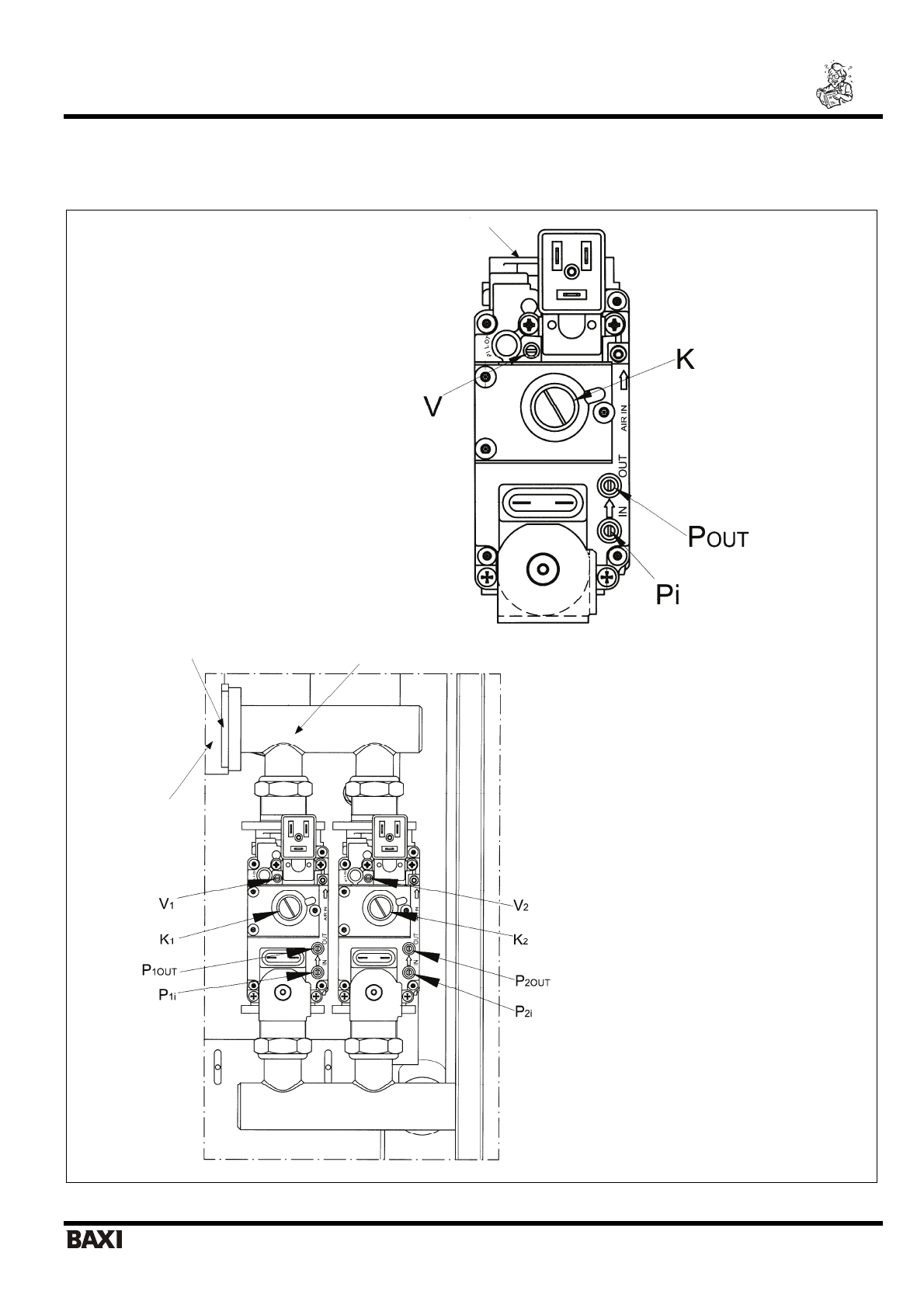
Pi:
точка
измерения
давления
газа
на
подаче
Pout:
точка
измерения
давления
для
измерения
отклонения
V:
регулировочный
винт
напора
газа
K:
регулировочный
винт
отклонений
.
Рис
.12
а
Рис
.12
б
Газовая
диафрагма
Газовая
диафрагма
Клапанный
коллектор
Устройство
Вентури
Характеристики
Остались вопросы?Не нашли свой ответ в руководстве или возникли другие проблемы? Задайте свой вопрос в форме ниже с подробным описанием вашей ситуации, чтобы другие люди и специалисты смогли дать на него ответ. Если вы знаете как решить проблему другого человека, пожалуйста, подскажите ему :)